GM Service Manual Online
For 1990-2009 cars only
Makes
🢒
Chevrolet
🢒
2005
🢒
Malibu
🢒
Vehicle Control Systems
🢒
Vehicle DTC Information
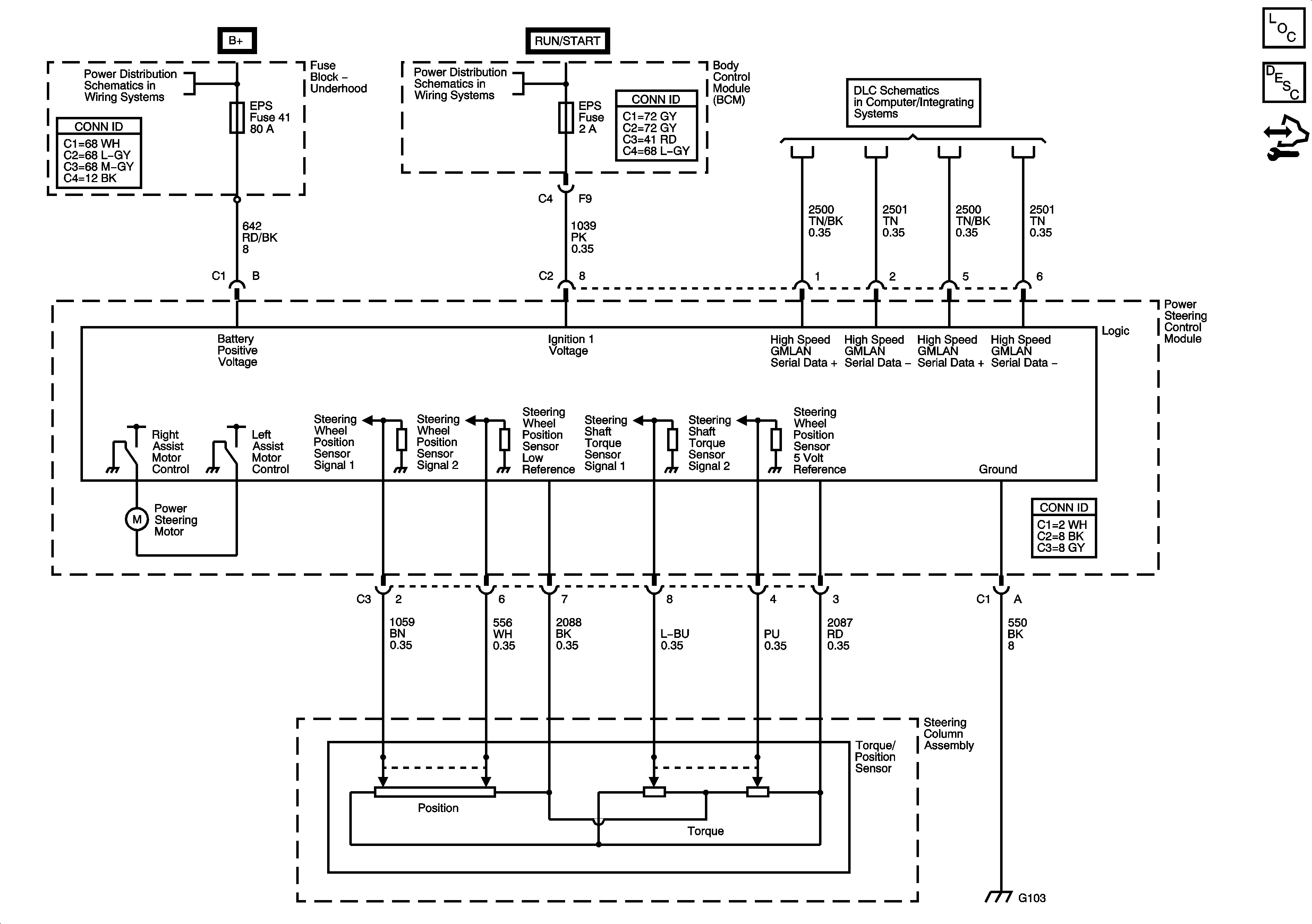
🢒 Power Steering Schematics
Master Electrical Component List
Power Steering System Description and Operation
Control Module References
PCM Batt, ABS, EPS, ICBM Batt1, ICBM Batt2 Fuses
Underhood Juction Block - Run Relay, Run/Crank ICBM, HVAC Blower, HVAC Head/ECC, EPS AIR BAG IGN, Run/Crank ELEC Fuses
Power, Ground, Class 2 and High Speed Serial Data