GM Service Manual Online
For 1990-2009 cars only

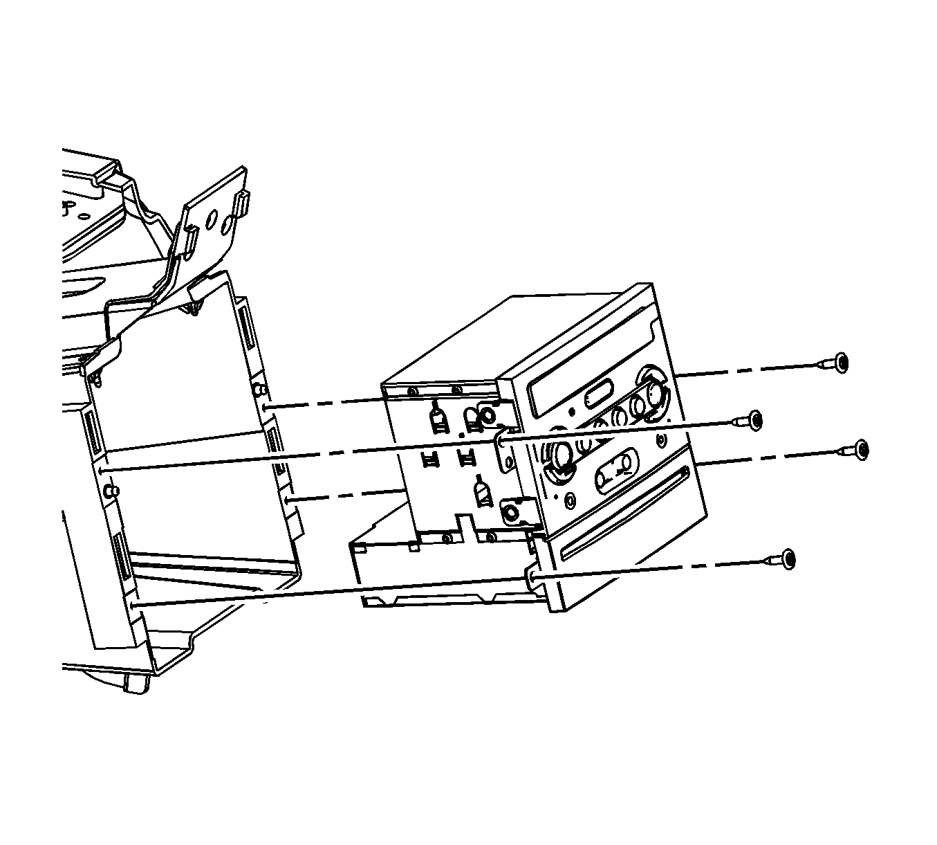
Removal Procedure

  1. Remove the console rear trim plate. Refer to Console Rear Trim Plate Replacement in Instrument Panel, Gages and Console.
  2. Remove the DVD screws.

  3. Object Number: 1208019  Size: SH
  4. Remove the DVD player.
  5. Remove the DVD player wire harness connectors.

Installation Procedure

  1. Install the DVD player wire harness connectors.

  2. Object Number: 1208019  Size: SH
  3. Install the DVD player.
  4. Notice: Refer to Fastener Notice in the Preface section.

  5. Install the DVD screws.
  6. Tighten
    Tighten the screws to 1 N·m (10 lb in).

  7. Install the console rear trim plate. Refer to Console Rear Trim Plate Replacement in Instrument Panel, Gages and Console.