Location | Description | Length = x | Width = y | Height = z | Point to Point |
|---|---|---|---|---|---|
1 | Center Line | -- | -- | -- | x |
a | Rear Tail Lamp Pocket Hole | 4209 | 753 | 737 | x |
b | Rear Impact Beam Upper Outer Attach Hole | 3583 | 628 | 231 | x |
c | Rear Impact Beam Lower Inner Attach Hole | 3569 | 479 | 185 | x |
d | Rear Header Panel Roof Attachment Hole | 4248 | 207 | 1324 | x |
All dimensions are measured from a zero line, a center line, and a common datum. All dimensions are symmetrical unless otherwise specified. | |||||
Location | Description | Length = x | Width = y | Height = z | Point to Point |
|---|---|---|---|---|---|
1 | Center Line | -- | -- | -- | x |
a | Outboard Front Lamp Assembly Attach Hole | 1282 | 691 | 603 | x |
b | Upper Outer Impact Bar Access Hole | 967 | 576 | 450 | x |
c | Lower Inner Impact Bar Access Hole | 946 | 428 | 375 | x |
d | Inboard Front Lamp Assembly Attach Hole | 1646 | 539 | 647 | x |
e | Center Tie Bar Hole | 1067 | 66 | 670 | x |
f | Lower Outer Impact Bar Access Hole | 966 | 589 | 381 | x |
g | Windshield Locating Flange Hole | 2772 | 556 | 1282 | x |
All dimensions are measured from a zero line, a center line, and a common datum. All dimensions are symmetrical unless otherwise specified. | |||||
Location | Description | Length = x | Width = y | Height = z | Point to Point |
|---|---|---|---|---|---|
a | Rear Cradle Attachment Hole | 2105 | 300 | 187 | x |
b | Front Rail Outer Torque Box Master Gage Hole | 2248 | 600 | 126 | x |
c | Front Rail Hole of Rear Portion | 2890 | 410 | 175 | x |
d | Floor Pan Drain Hole Rear Hole | 3408 | 521 | 139 | x |
e | Rear Rail Torque Box Master Gage Hole | 3708 | 642 | 201 | x |
f | S-Bar Outer Hole | 4384 | 146 | 374 | x |
g | Rear Rail Rear Hole | 4854 | 487 | 365 | x |
h | Rear Compartment Floor Pan Drain Hole | 5022 | 213 | 238 | x |
o | Front Cradle Attachment Hole | 1321 | 490 | 242 | x |
i-j | Rear Rail Rear Hole to Rear Master Gage Hole | -- | -- | -- | 1152 |
j-k | Rear Master Gage Hole to Front Rail Rear Hole | -- | -- | -- | 826 |
k-l | Front Rail Rear Hole to Front Torque Box Master Gage Hole | -- | -- | -- | 671 |
l-n | Front Rail Master Gage Hole to Front Cradle Attachment Hole | -- | -- | -- | 927 |
m-n | Rear Cradle Attachment Hole to Opposite Front Cradle Attachment Hole | -- | -- | -- | 812 |
n-o | Front Cradle Attachment Hole to Opposite Front Cradle Attachment Hole | -- | -- | -- | 980 |
o-m | Front Cradle Attachment Hole to Opposite Rear Cradle Attachment Hole | -- | -- | -- | 1122 |
m-c | Front Cradle Attachment Hole to Opposite Front Rail Rear Hole | -- | -- | -- | 1089 |
c-j | Front Rail Rear Hole to Opposite Rear Master Gage Hole | -- | -- | -- | 1291 |
j-g | Rear Master Gage Hole to Opposite Rear Rail Rear Hole | -- | -- | -- | 1774 |
g-i | Rear Rail Rear Hole to Rear Rail Rear Hole | -- | -- | -- | 970 |
All dimensions are measured from a zero line, a center line, and a common datum. All dimensions are symmetrical unless otherwise specified. | |||||
Location | Description | Length = x | Width = y | Height = z | Point to Point |
|---|---|---|---|---|---|
1 | Center Line | -- | -- | -- | x |
a | Front Upper Rail Rear Fender Attach Hole | 1657 | 735 | 813 | x |
b | Front Upper Front Rear Fender Attach Hole | 1417 | 748 | 764 | x |
c | Upper Tie Rod Locating Hole | 1196 | 570 | 730 | x |
d | Battery Tray Attach Hole | 1456 | 500 | 431 | x |
e | Strut Tower Center Hole | 1758 | 572 | 798 | x |
f | Front Upper Rail Front Fender Attach Hole to Rear Hinge Attach Hole | -- | -- | -- | 1585 |
g | Front Engine Mount Hole Rail Surface Not Top of Stud | 1422 | 486 | 513 | x |
h | Rear Engine Mount Hole Rail Surface Not Top of Stud | 1579 | 478 | 492 | x |
All dimensions are measured from a zero line, a center line, and a common datum. All dimensions are symmetrical unless otherwise specified. | |||||
Location | Description | Length = x | Width = y | Height = z | Point to Point |
|---|---|---|---|---|---|
a | Rear Upper Hinge Upper Hole | 3295 | 793 | 805 | x |
b | Body Side Filler Control Hole | 5172 | 761 | 525 | x |
c | Rear Latch Striker Lower Hole | 4201 | 784 | 661 | x |
d | Body Side Control Hole | 4127 | 742 | 661 | x |
e | Rear Lower Hinge Rear Hole | 3282 | 793 | 492 | x |
f | Rear Lower Hinge Front Hole | 3255 | 793 | 492 | x |
g | Front Lower Hinge Rear Hole | 2204 | 801 | 423 | x |
h | Front Lower Hinge Front Hole | 2177 | 801 | 423 | x |
i | Front Rail Control Hole | 1420 | 791 | 719 | x |
j | Body Side Control Hole | 2200 | 791 | 695 | x |
k | Front Upper Hinge Front Hole | 2179 | 791 | 759 | x |
l | Front Upper Hinge Front Hole | 2206 | 791 | 759 | x |
m | Front Door Latch Striker Upper Hole | 3266 | 807 | 630 | x |
n | Front Door Latch Striker Lower Hole | 3265 | 809 | 576 | x |
o | Rear Door Opening to Weld Flange Die Marks | -- | -- | -- | 1027 |
p | Rear Door Opening to Weld Flange Die Marks | -- | -- | -- | 1250 |
q | Rear Door Opening to Weld Flange Die Mark | -- | -- | -- | 755 |
r | Front Door Opening to Weld Flange Die Mark | -- | -- | -- | 843 |
s | Front Door Opening to Weld Flange Die Mark | -- | -- | -- | 1341 |
t | Front Door Opening to Weld Flange Die Mark | -- | -- | -- | 912 |
All dimensions are measured from a zero line, a center line, and a common datum. All dimensions are symmetrical unless otherwise specified. | |||||
Location | Description | Length = x | Width = y | Height = z | Point to Point |
|---|---|---|---|---|---|
1 | Center Line | -- | -- | -- | x |
a | Rear Tail Lamp Pocket Hole | 4671 | 702 | 918 | x |
b | Rear Impact Beam Upper Outer Attach Hole | 4478 | 600 | 770 | x |
c | Rear Impact Beam Lower Inner Attach Hole | 4501 | 427 | 765 | x |
d | Rear Header Panel Roof Attachment Hole | 4368 | 232 | 692 | x |
All dimensions are measured from a zero line, a center line, and a common datum. All dimensions are symmetrical unless otherwise specified. | |||||
Location | Description | Length = x | Width = y | Height = z | Point to Point |
|---|---|---|---|---|---|
a | Rear Cradle Attachment Hole | 2105 | 300 | 187 | x |
b | Front Rail Outer Torque Box Master Gage Hole | 2248 | 600 | 126 | x |
c | Front Rail Hole of Rear Portion | 2890 | 410 | 175 | x |
d | Floor Pan Drain Hole Rear Hole | 3408 | 521 | 139 | x |
e | Rear Rail Torque Box Master Gage Hole | 3832 | 599 | 184 | x |
f | Rear Rail Rear Hole | 4852 | 474 | 370 | x |
g | Rear Compartment Floor Pan Drain Hole | 5196 | 200 | 246 | x |
o | Front Cradle Attachment Hole | 1321 | 490 | 242 | x |
i-j | Rear Rail Rear Hole to Rear Master Gage Hole | -- | -- | -- | 1053 |
k-l | Front Rail Rear Hole to Front Torque Box Master Gage Hole | -- | -- | -- | 671 |
l-n | Front Rail Master Gage Hole to Front Cradle Attachment Hole | -- | -- | -- | 927 |
m-n | Rear Cradle Attachment Hole to Opposite Front Cradle Attachment Hole | -- | -- | -- | 812 |
n-o | Front Cradle Attachment Hole to Opposite Front Cradle Attachment Hole | -- | -- | -- | 980 |
o-m | Front Cradle Attachment Hole to Opposite Rear Cradle Attachment Hole | -- | -- | -- | 1122 |
m-c | Front Cradle Attachment Hole to Opposite Front Rail Rear Hole | -- | -- | -- | 1089 |
c-j | Front Rail Rear Hole to Opposite Rear Master Gage Hole | -- | -- | -- | 1291 |
j-g | Rear Master Gage Hole to Opposite Rear Rail Rear Hole | -- | -- | -- | 1774 |
g-i | Rear Rail Rear Hole to Rear Rail Rear Hole | -- | -- | -- | 970 |
All dimensions are measured from a zero line, a center line, and a common datum. All dimensions are symmetrical unless otherwise specified. | |||||
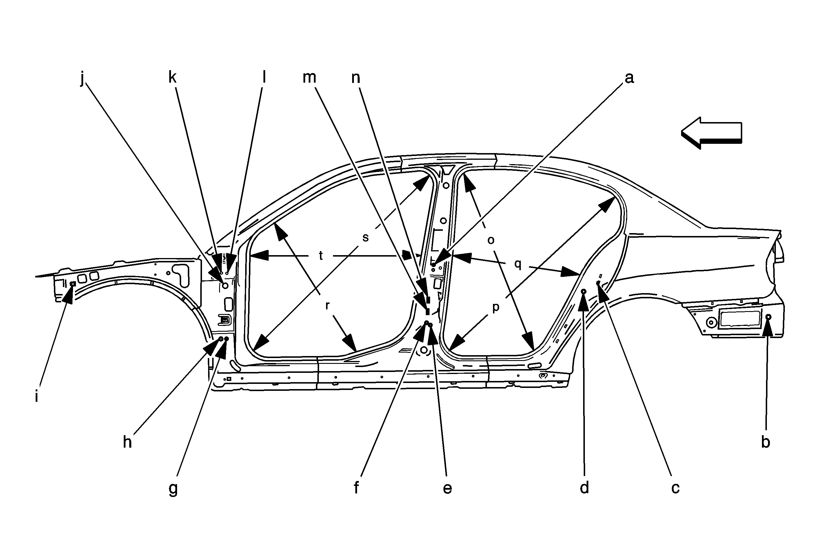
Location | Description | Length = x | Width = y | Height = z | Point to Point |
|---|---|---|---|---|---|
a | Rear Upper Hinge Upper Hole | 3295 | 793 | 805 | x |
b | Body Side Filler Control Hole | 5173 | 763 | 634 | x |
c | Rear Latch Striker Lower Hole | 4201 | 784 | 661 | x |
d | Body Side Control Hole | 4262 | 742 | 827 | x |
e | Rear Lower Hinge Rear Hole | 3282 | 793 | 492 | x |
f | Rear Lower Hinge Front Hole | 3255 | 793 | 492 | x |
g | Front Lower Hinge Rear Hole | 2204 | 801 | 423 | x |
h | Front Lower Hinge Front Hole | 2177 | 801 | 423 | x |
i | Front Rail Control Hole | 1420 | 791 | 719 | x |
j | Body Side Control Hole | 2200 | 791 | 695 | x |
k | Front Upper Hinge Front Hole | 2179 | 791 | 759 | x |
l | Front Upper Hinge Front Hole | 2206 | 791 | 759 | x |
m | Front Door Latch Striker Upper Hole | 3266 | 807 | 630 | x |
n | Front Door Latch Striker Lower Hole | 3265 | 809 | 576 | x |
o | Rear Door Opening to Weld Flange Die Marks | -- | -- | -- | 1024 |
p | Rear Door Opening to Weld Flange Die Marks | -- | -- | -- | 1184 |
q | Rear Door Opening to Weld Flange Die Mark | -- | -- | -- | 825 |
r | Front Door Opening to Weld Flange Die Mark | -- | -- | -- | 843 |
s | Front Door Opening to Weld Flange Die Mark | -- | -- | -- | 1341 |
t | Front Door Opening to Weld Flange Die Mark | -- | -- | -- | 912 |
All dimensions are measured from a zero line, a center line, and a common datum. All dimensions are symmetrical unless otherwise specified. | |||||