GM Service Manual Online
For 1990-2009 cars only
Makes
🢒
Chevrolet
🢒
2006
🢒
Malibu
🢒 Engine Coolant Indicator
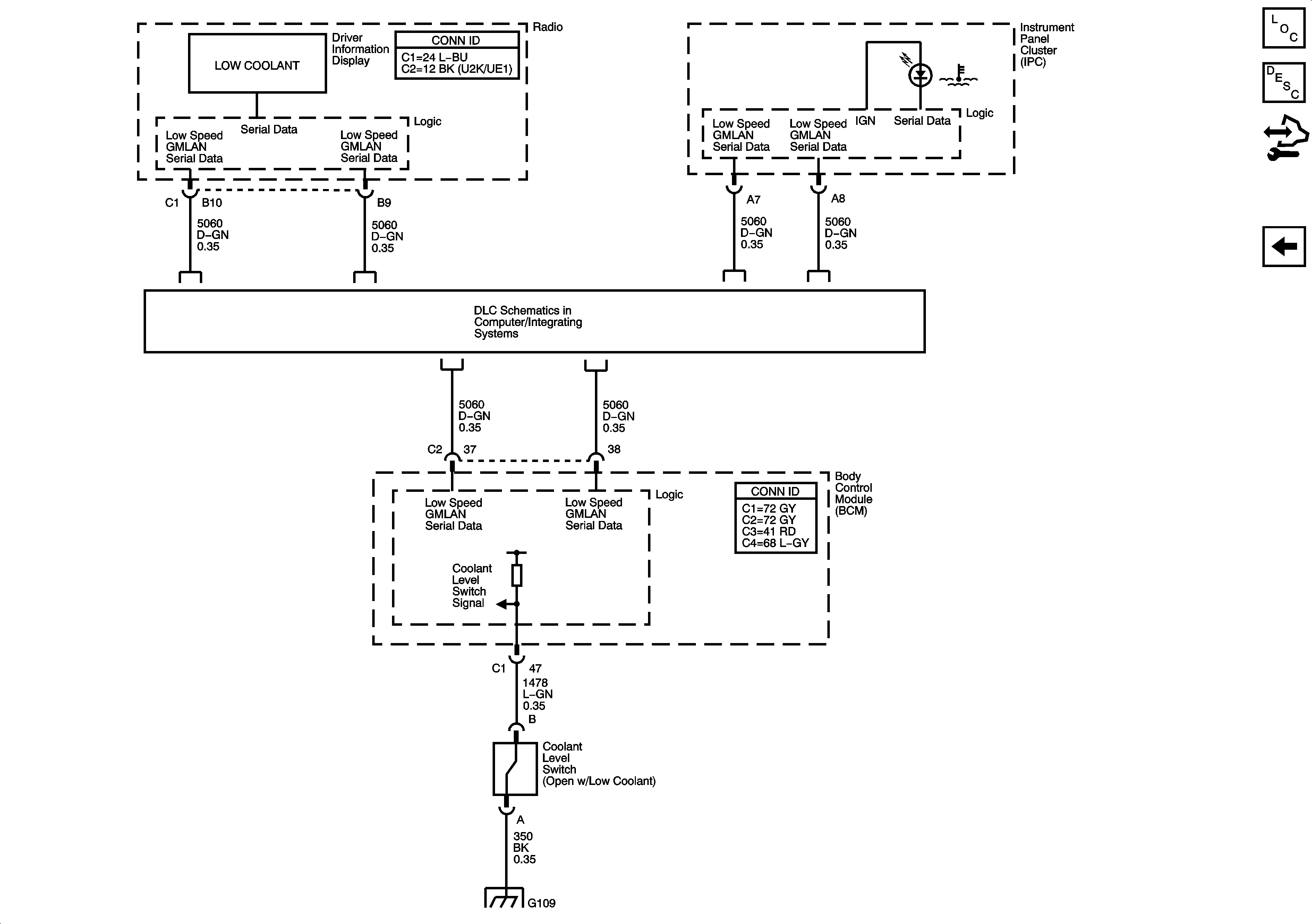
Engine Coolant Indicator
Engine Coolant Indicator
Master Electrical Component List
Cooling System Description and Operation
Control Module References
Engine Cooling Fans
Low Speed Serial Data
G109