GM Service Manual Online
For 1990-2009 cars only

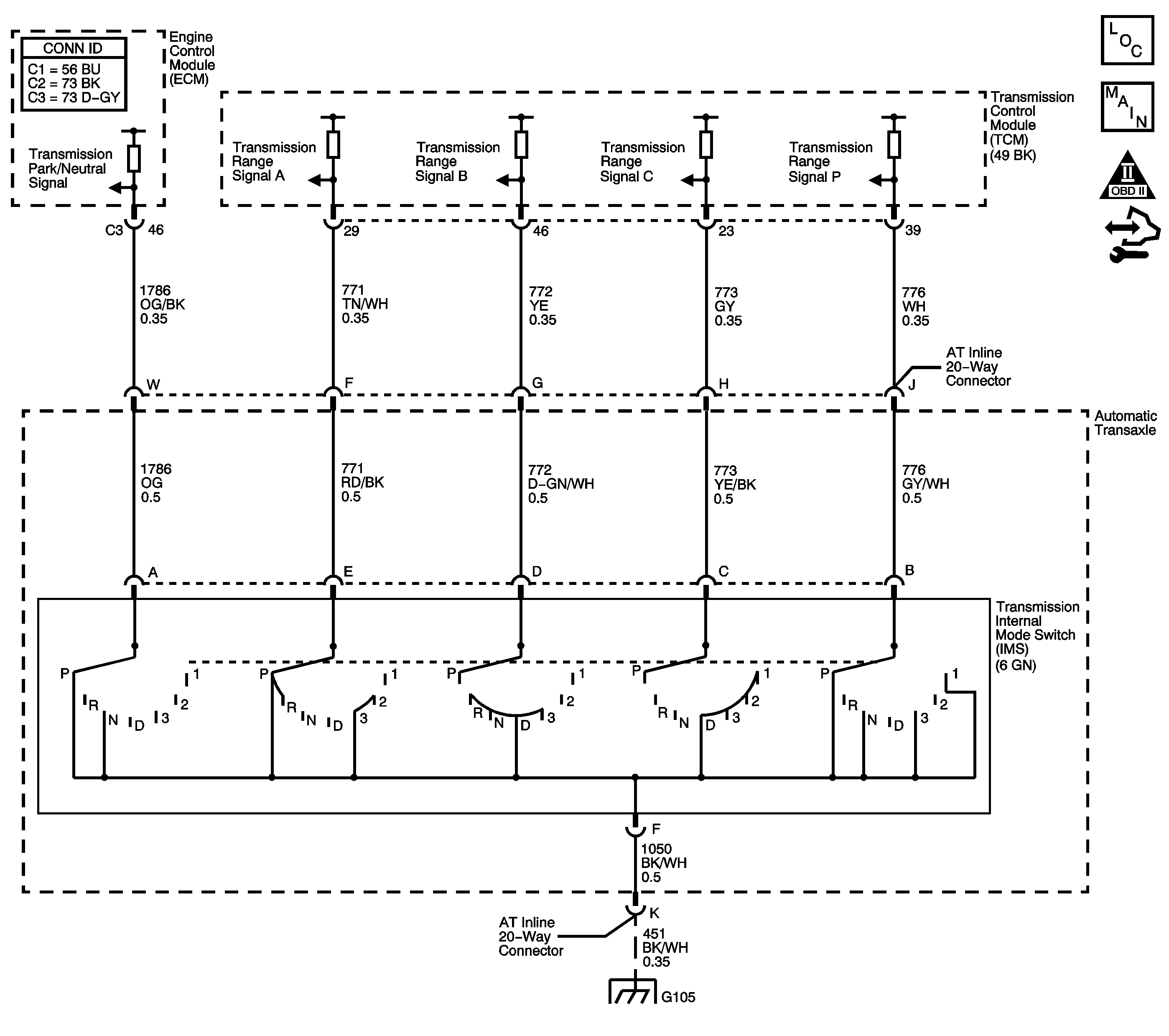
Object Number: 1750838  Size: LF
Master Electrical Component List
Automatic Transmission Controls Schematics
OBD II Symbol Description Notice
Control Module References

Circuit Description

The transmission internal mode switch (IMS) is a sliding contact switch attached to the selector detent inside the transmission side cover. The 4 inputs to the TCM indicate the position of the transmission range selector. The input voltage level at the TCM is high, B+, when the IMS is open and low when the switch is closed to ground. The 4 input parameters represented are Signals A, B, C and P - Parity. Refer to Transmission Internal Mode Switch Logic .

If the TCM detects that IMS Signal C is high while the vehicle is being driven in a forward gear, then DTC P1826 sets. DTC P1826 is a type B DTC.

DTC Descriptor

This diagnostic procedure supports the following DTC:

DTC P1826 Internal Mode Switch C Circuit High Voltage

Conditions for Running the DTC

    • No VSS DTCs P0722 or P0723.
    • DTC P1826 has not passed this ignition cycle.
    • The engine speed is greater than 500 RPM for 5 seconds.
    • The IMS indicates PARK or NEUTRAL for 1 second or more.
    • The engine torque is greater than 50 N·m (37 lb ft).
    • The vehicle speed is 16 km/h (10 mph) or greater.

Conditions for Setting the DTC

The TCM detects IMS Signal C is high, while the gear ratio indicates first, second, third or fourth gear for 8 seconds or more.

Action Taken When the DTC Sets

    • The TCM requests the ECM to illuminate the malfunction indicator lamp (MIL) during the consecutive trip in which the Conditions for Setting the DTC are met.
    • The TCM commands maximum line pressure.
    • The TCM commands an alternate coast shift pattern where downshifts occur at higher vehicle speeds while coasting.
    • The TCM freezes transmission adaptive functions.
    • The TCM assumes D4 for shifting.
    • The TCM disables TAP Shift operation.
    • The TCM records the operating conditions when the Conditions for Setting the DTC are met. The TCM stores this information as Failure Records.
    • The TCM stores DTC P1826 in TCM history during the consecutive trip in which the Conditions for Setting the DTC are met.

Conditions for Clearing the DTC

    • A scan tool can clear the DTC.
    • The TCM clears the DTC from TCM history if the vehicle completes 40 warm-up cycles without an emission-related diagnostic fault occurring.
    • The TCM cancels the DTC default actions when the ignition switch is OFF long enough in order to power down the TCM.

Test Description

The number below refers to the step number on the diagnostic table.

  1. This step tests the integrity of the engine harness and TCM by checking for the Signal C state change from HI to LOW. A LOW signal indicates the fault is either in the internal transmission harness or the switch. A HI signal indicates the fault is either in the engine harness or the TCM.

Step

Action

Value(s)

Yes

No

1

Did you perform the Diagnostic System Check - Vehicle?

--

Go to Step 2

Go to Diagnostic System Check - Vehicle

2

  1. Install a scan tool.
  2. Turn ON the ignition with the engine OFF.
  3. Important: Before clearing the DTC, use the scan tool in order to record the Failure Records. Using the Clear Info function erases Failure Records from the TCM.

  4. Record the DTC Freeze Frame and Failure Records.
  5. Clear the DTC.
  6. Select IMS on the scan tool.
  7. Place the range selector in D4.

Does the scan tool IMS parameter indicate Drive 4?

--

Go to Testing for Intermittent Conditions and Poor Connections

Go to Step 3

3

  1. Turn OFF the ignition.
  2. Disconnect the AT Inline 20-way connector. Additional DTCs may set.
  3. Install the J 44152 jumper harness on the engine side of the AT Inline 20-way connector.
  4. Using the J 35616 GM terminal test kit, connect a fused jumper wire from the TR signal C circuit of the J 44152 to a good ground.
  5. Refer to Automatic Transmission Inline 20-Way Connector End View .

  6. Turn ON the ignition, with the engine OFF.
  7. Select IMS A/B/C/P on the scan tool.

Does IMS Signal C indicate LOW?

--

Go to Step 5

Go to Step 4

4

Test the TR signal C circuit of the IMS for an open between the TCM connecto and the AT Inline 20-way connector.

Refer to Testing for Continuity and Wiring Repairs .

Did you find and correct a condition?

--

Go to Step 9

Go to Step 8

5

Test the TR signal C circuit of the IMS for an open between the AT Inline 20-way connector and the IMS.

Refer to Testing for Continuity .

Did you find the condition?

--

Go to Step 6

Go to Step 7

6

Replace the automatic transmission wiring harness.

Refer to Wiring Harness Replacement .

Did you complete the replacement?

--

Go to Step 9

--

7

Replace the lever assembly-manual shaft detent with internal mode switch.

Refer to Manual Shift Detent Lever with Shaft Position Switch Assembly Removal in Transmission Unit Repair Manual.

Did you complete the replacement?

--

Go to Step 9

--

8

Replace the TCM. Refer to Control Module References for replacement, setup and programming.

Did you complete the replacement?

--

Go to Step 9

--

9

Perform the following procedure in order to verify the repair:

  1. Select DTC.
  2. Select Clear Info.
  3. Start and idle the engine.
  4. Observe IMS A/B/C/P on the scan tool.
  5. Move the range selector to D1, D2, D3 and D4 positions. Ensure that IMS Signal C indicates LOW for each range.
  6. Operate the vehicle within the Conditions for Running the DTC as specified in the supporting text.
  7. Select Specific DTC.
  8. Enter DTC P1826.

Has the test run and passed?

--

Go to Step 10

Go to Step 2

10

With a scan tool, observe the stored information, capture info and DTC info.

Does the scan tool display any DTCs that you have not diagnosed?

--

Go to Diagnostic Trouble Code (DTC) List - Vehicle

System OK