GM Service Manual Online
For 1990-2009 cars only

Storing a Flat or Spare Tire and Tools Sedan

Storing a Flat Tire and Tools

Caution: Storing a jack, a tire, or other equipment in the passenger compartment of the vehicle could cause injury. In a sudden stop or collision, loose equipment could strike someone. Store all these in the proper place.

To store the flat tire and tools in the compact spare tire compartment, do the following:


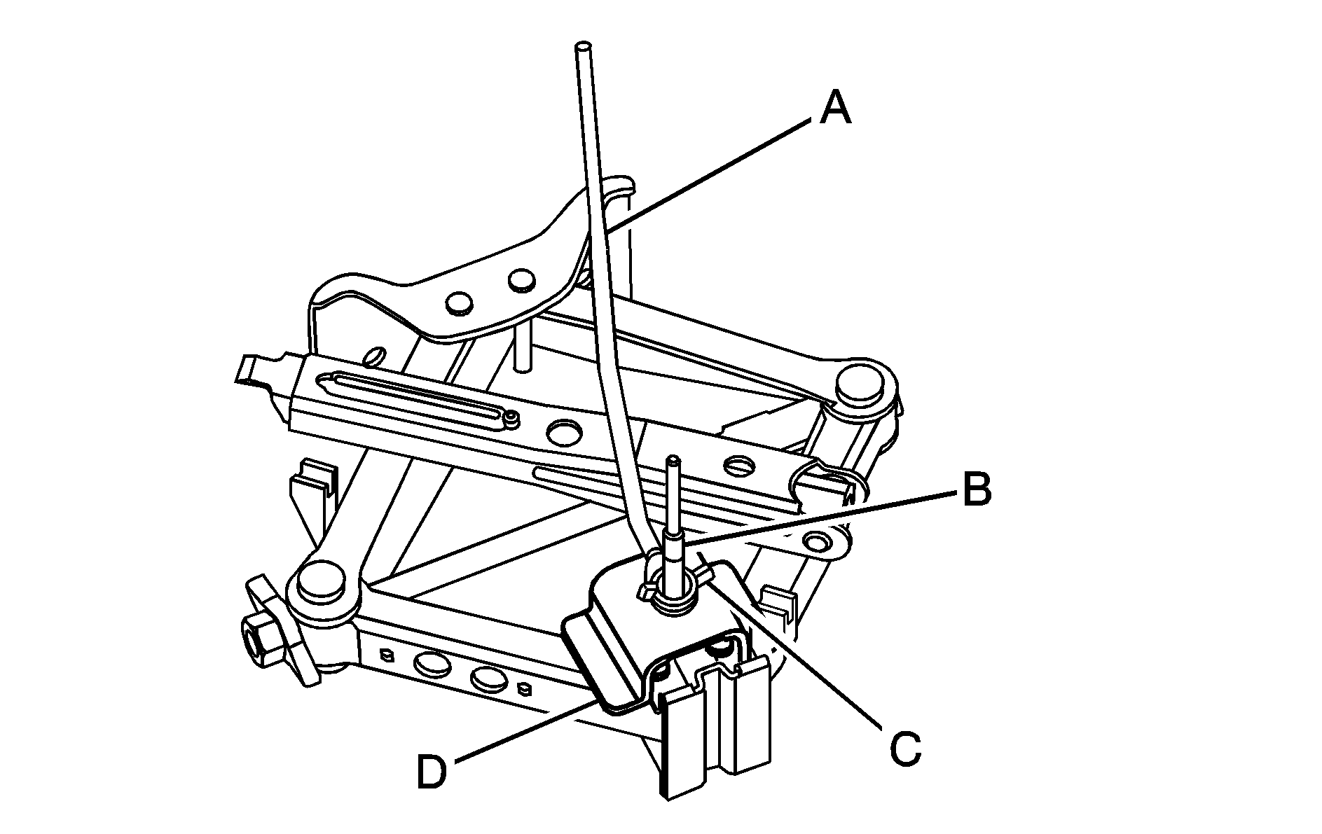
Object Number: 1226459  Size: B3
  1. Cover

  2. Wing Nut

  3. Jack and Wheel Wrench

  4. Flat Tire (Valve Stem down)

  5. Bolt

  1. Open the trunk. See Trunk for more information.
  2. Remove the center cap from the wheel.
  3. Place the tire (D) in the compartment, valve stem up, with the bolt (E) extending through the wheel center hole.
  4. Place the jack and wheel wrench (D) over the bolt (E), inside the wheel.
  5. Secure by tightening the larger wing nut (B) onto the bolt (E).
  6. Reinstall the tire cover (A).

Storing the Compact Spare Tire

The compact spare tire is for temporary use only. Store the compact spare tire and tools as shown in the following diagram.


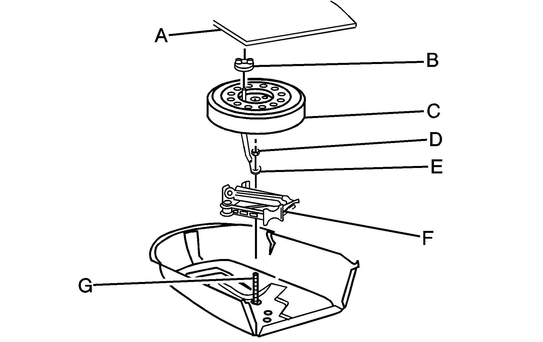
Object Number: 1226462  Size: B3
  1. Cover

  2. Retainer

  3. Spare Tire

  4. Wing Nut

  5. Jack and Wheel Wrench

  6. Bolt

The compact spare is for temporary use only. Replace the compact spare tire with a full-size tire as soon as you can. See Compact Spare Tire .

Storing a Flat or Spare Tire and Tools Sedan SS

Caution: Storing a jack, a tire, or other equipment in the passenger compartment of the vehicle could cause injury. In a sudden stop or collision, loose equipment could strike someone. Store all these in the proper place.

Storing the Flat Tire and Tools

To store the flat tire and jack in the compact spare tire compartment, do the following:

  1. Open the trunk. See Trunk for more information.
  2. Remove the bolt extension (in the yellow sleeve) from the jack and remove the center cap from the wheel.

  3. Object Number: 1554321  Size: B3
  4. Place the jack over the bolt (B) on the floor, making sure it contacts the bolt as shown.
  5. With the yellow cap in place to prevent the wheel from being scratched, place the bolt extension (A) onto the bolt (B).
  6. Thread the small wing nut (C) until it is at or near the end of the threads.
  7. Place the flat tire in the compartment, valve stem up.
  8. Reach under the wheel and lift the bolt extension (A) so that the threaded end of the bolt passes through the center hole of the wheel.
  9. Remove the yellow cap.
  10. Secure the tire and wheel with the retainer.
  11. Re-install the cover.

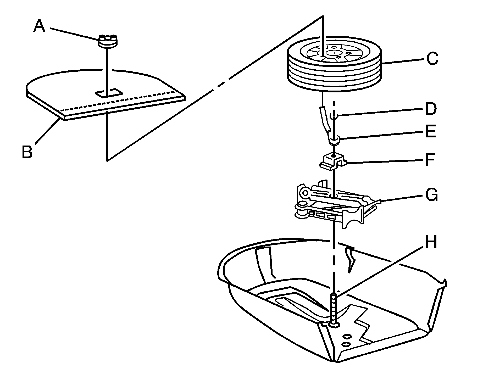
Object Number: 1554324  Size: B3
  1. Cover

  2. Retainer

  3. Flat Tire

  4. Wing Nut

  5. Bolt Extension

  6. Jack and Wheel Wrench

  7. Bolt

Storing the Compact Spare Tire

The compact spare tire is for temporary use only. Store the compact spare tire and tools as shown in the following diagram.


Object Number: 1226462  Size: B3
  1. Cover

  2. Retainer

  3. Flat Tire

  4. Wing Nut

  5. Jack, Wheel Wrench and Bolt Extension

  6. Bolt

The compact spare is for temporary use only. Replace the compact spare tire with a full-size tire as soon as you can. See Compact Spare Tire .

Storing a Flat or Spare Tire and Tools All MAXX Models

Caution: Storing a jack, a tire, or other equipment in the passenger compartment of the vehicle could cause injury. In a sudden stop or collision, loose equipment could strike someone. Store all these in the proper place.

Storing the Flat Tire and Tools

To store the flat tire and jack in the compact spare tire compartment, do the following:

  1. Open the liftgate. See Liftgate for more information.
  2. Remove the bolt extension (in the yellow sleeve) from the jack and remove the center cap from the wheel.

  3. Object Number: 1608283  Size: B3
  4. Place the jack over the bolt (B) on the floor, making sure it contacts the bolt as shown.
  5. Install the bracket (D) and then the bolt extension (A).
  6. Secure the jack, bracket and bolt extension with the wing nut (C) provided.
  7. With the valve stem up, place the tire on the compartment floor with the rear of the tire beneath the trim panel (tire may not lay completely flat).
  8. Make sure the bolt extension (A) passes through the wheel center.
  9. Remove the plug from the center hole of the floor cover by pressing on the tabs on the bottom of the cover.
  10. Remove the yellow cap from the bolt extension.
  11. Fold the rear flap of the cover up and place the cover on top of the wheel. The extension will come through the center hole in the cover.
  12. Secure the tire and wheel with the retainer.

Object Number: 1594044  Size: B4
  1. Retainer

  2. Cover

  3. Flat Tire (Valve Stem Up)

  4. Nut

  5. Bolt Extension

  6. Bracket

  7. Jack and Wheel Wrench

  8. Bolt

Storing the Compact Spare Tire and Tools

The compact spare tire is for temporary use only. Store the compact spare tire and tools as shown in the following diagram.


Object Number: 1396901  Size: B3
  1. Cover

  2. Retainer

  3. Spare Tire

  4. Wing Nut

  5. Bracket

  6. Jack, Wheel Wrench and Bolt Extension

  7. Bolt

The compact spare is for temporary use only. Replace the compact spare tire with a full-size tire as soon as you can. See Compact Spare Tire .