GM Service Manual Online
For 1990-2009 cars only

Storing a Flat Tire and Tools

Caution: Storing a jack, a tire, or other equipment in the passenger compartment of the vehicle could cause injury. In a sudden stop or collision, loose equipment could strike someone. Store all these in the proper place.

To store the flat tire and tools in the compact spare tire compartment, do the following:


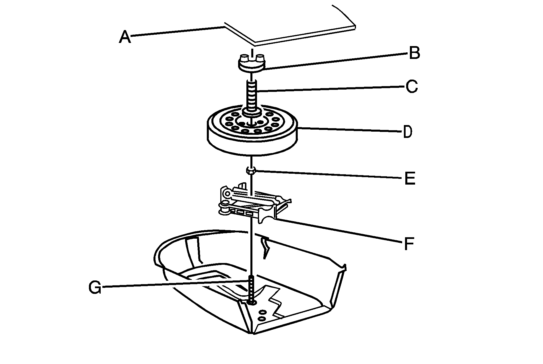
Object Number: 2003893  Size: B3
  1. Cover

  2. Retainer

  3. Bolt Extension

  4. Flat Tire

  5. Wing Nut

  6. Jack and Wheel Wrench

  7. Bolt

  1. Open the trunk. See Trunk for more information.
  2. Remove the bolt extension from the jack and remove the center cap from the wheel.
  3. Place the jack over the bolt on the floor, making sure in contacts the bolt and thread the jack retainer nut until in contacts the jack.
  4. With the valve stem up, place the tire on the compartment floor with the rear of the tire beneath the trim panel (tire may not lay completely flat).
  5. Line up the center hole of the wheel with the bolt.
  6. With the yellow cap in place to prevent the wheel from being scratched, screw the bolt extension onto the bolt through the wheel nut hole.
  7. Remove the yellow cap from the bolt extension.
  8. Secure the tire and wheel with the larger wing nut.

The compact spare is for temporary use only. Replace the compact spare tire with a full-size tire as soon as you can. Compact Spare Tire . See the storage instructions label to replace your compact into your trunk properly.