GM Service Manual Online
For 1990-2009 cars only

Battery Tray Replacement LZ4, LY7, and LE5

Removal Procedure


    Object Number: 1831465  Size: SH
  1. Remove the battery. Refer to Battery Replacement.
  2. Remove the engine control module (ECM). Refer to one of the following:
  3. •  Engine Control Module Replacement for the 2.4L engine
    •  Engine Control Module Replacement for the 3.5L engine
    •  Engine Control Module Replacement for the 3.6L engine
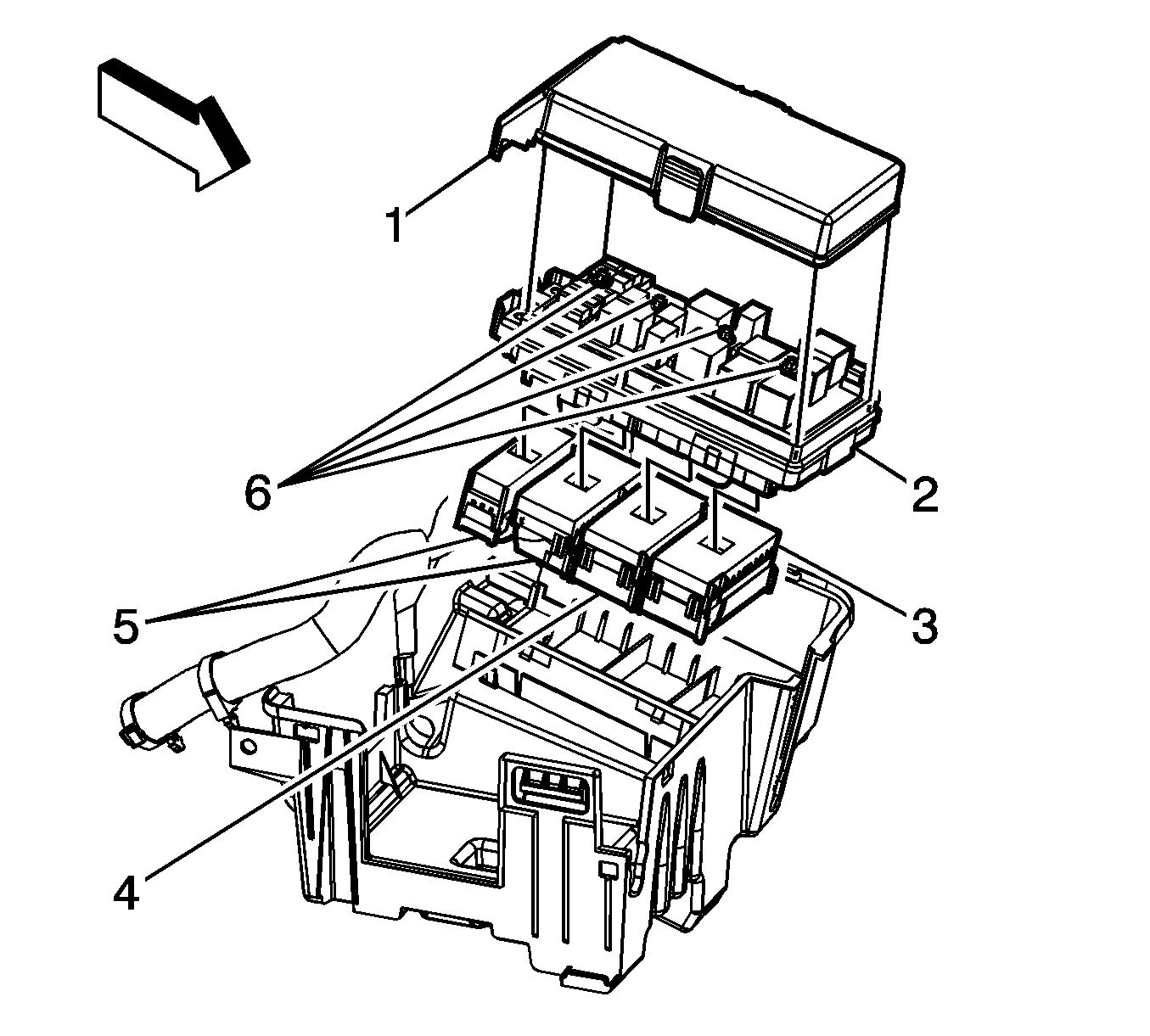
  4. Remove the junction block. Refer to Underhood Electrical Center or Junction Block Replacement.
  5. Remove the air duct retainer, if equiped.
  6. Remove the air duct from the battery tray, if equiped.
  7. Remove the mounting bolts for the battery tray.

  8. Object Number: 1831466  Size: SH
  9. Remove the battery tray.

  10. Object Number: 1831491  Size: SH

    Important: The following service procedure are to be used if the battery tray support needs to be serviced.

  11. Remove the stud nut (1)  from the frame rail.
  12. Remove the mounting bolts (2).
  13. Remove the battery tray support.

Installation Procedure


    Object Number: 1831491  Size: SH
  1. Position the battery tray support on the frame rail.
  2. Notice: Refer to Fastener Notice in the Preface section.

    Important: When tightening the mounting bolts and the nut stud, they must be tightened in sequence.

  3. Install the stud nut (1).
  4. Tighten
    Tighten the nut to 25 N·m (18 lb ft).

  5. Install the mounting bolts (2).
  6. Tighten
    Tighten the nut to 25 N·m (18 lb ft).


    Object Number: 1831466  Size: SH
  7. Position the battery tray on the support.
  8. Install the mounting bolts for the battery tray.
  9. Tighten
    Tighten the nut to 16 N·m (12 lb ft).


    Object Number: 1831465  Size: SH
  10. Install the air duct into the battery tray, if equiped.
  11. Install the air duct retainer, if equiped.
  12. Install the junction block. Refer to Underhood Electrical Center or Junction Block Replacement.
  13. Install the ECM. Refer to one of the following:
  14. •  Engine Control Module Replacement for the 2.4L engine
    •  Engine Control Module Replacement for the 3.5L engine
    •  Engine Control Module Replacement for the 3.6L engine
  15. Install the battery. Refer to Battery Replacement.

Battery Tray Replacement LAT

Removal Procedure


    Object Number: 1891199  Size: SH
  1. Remove the battery. Refer to Battery Replacement.
  2. Remove the underhood bussed electrical center (UBEC) cover.
  3. Loosen the integral bolt (5) on the positive battery cable lead (4) and remove the lead from the UBEC.
  4. Reposition the positive battery cable out of the way.

  5. Object Number: 1891512  Size: SH
  6. Loosen the integral bolt (4) on the steering column harness package lead and remove the lead from the UBEC.

  7. Object Number: 1891511  Size: SH
  8. Loosen the junction block bolts (6), once loose, tap the bolts once in order the disengage the bolts from the electrical connectors.
  9. Remove the junction block (2).
  10. Important: Note the color and location of each electrical connector.

  11. Remove the engine wiring harness UBEC electrical connector (3) from the UBEC bracket and secure out of the way.
  12. Remove the forward lamp wiring harness UBEC electrical connector (4) from the UBEC bracket and secure out of the way.
  13. Remove the body wiring harness UBEC electrical connectors (5) from the UBEC bracket and secure out of the way.

  14. Object Number: 1889665  Size: SH
  15. Disconnect the body wiring harness electrical connector (1) from the engine control module (ECM).

  16. Object Number: 1889666  Size: SH
  17. Disconnect the engine wiring harness electrical connectors (2) from the ECM.
  18. Remove the engine wiring harness clips (3) from the ECM/transmission control module (TCM) bracket (4).
  19. Disconnect the engine wiring harness electrical connector (1) from the TCM.

  20. Object Number: 1891519  Size: SH
  21. Remove the ECM/TCM bracket bolt (1).
  22. Slide the ECM/TCM bracket up and remove the bracket (2) (With the ECM and TCM still attached) from the battery tray.

  23. Object Number: 1891203  Size: SH
  24. Remove the battery tray bolts (1), nut (2), and battery tray (3).

Installation Procedure

    Notice: Refer to Fastener Notice in the Preface section.


    Object Number: 1891203  Size: SH
  1. Set the battery tray (3) into position and install the bolts (1), and nut (2).
  2. Tighten
    Tighten the bolts to 25 N·m (18 lb ft).


    Object Number: 1891519  Size: SH
  3. Slide the ECM/TCM bracket (2) into position on the battery tray.
  4. Install the ECM/TCM bracket bolt (1).
  5. Tighten
    Tighten the bolt to 8 N·m (71 lb in).


    Object Number: 1889666  Size: SH
  6. Connect the engine wiring harness electrical connector (1) to the TCM.
  7. Connect the engine wiring harness electrical connectors (2) to the ECM.
  8. Install the engine wiring harness clips (3) to the ECM/TCM bracket (4).

  9. Object Number: 1889665  Size: SH
  10. Connect the body wiring harness electrical connector (1) to the ECM.

  11. Object Number: 1891511  Size: SH
  12. Position the body wiring harness UBEC electrical connectors (5) to the UBEC bracket and snap into place.
  13. Position the forward lamp wiring harness UBEC electrical connector (4) to the UBEC bracket and snap into place.
  14. Position the engine wiring harness UBEC electrical connector (3) to the UBEC bracket and snap into place.
  15. Install junction block (12).
  16. Tighten the junction block bolts (6) until the bolts engage the electrical connectors, an audible click will be heard.
  17. Tighten
    Tighten the bolts to 4 N·m (35 lb in).


    Object Number: 1891512  Size: SH
  18. Position the steering column harness package lead to the UBEC and tighten the integral bolt (4).
  19. Tighten
    Tighten the bolt to 5 N·m (44 lb in).


    Object Number: 1891199  Size: SH
  20. Position the positive battery cable to the battery.
  21. Position positive battery cable lead (4) to the UBEC and tighten the integral bolt (5).
  22. Tighten
    Tighten the bolt to 5 N·m (44 lb in).

  23. Install the UBEC cover.
  24. Install the battery. Refer to Battery Replacement.