GM Service Manual Online
For 1990-2009 cars only

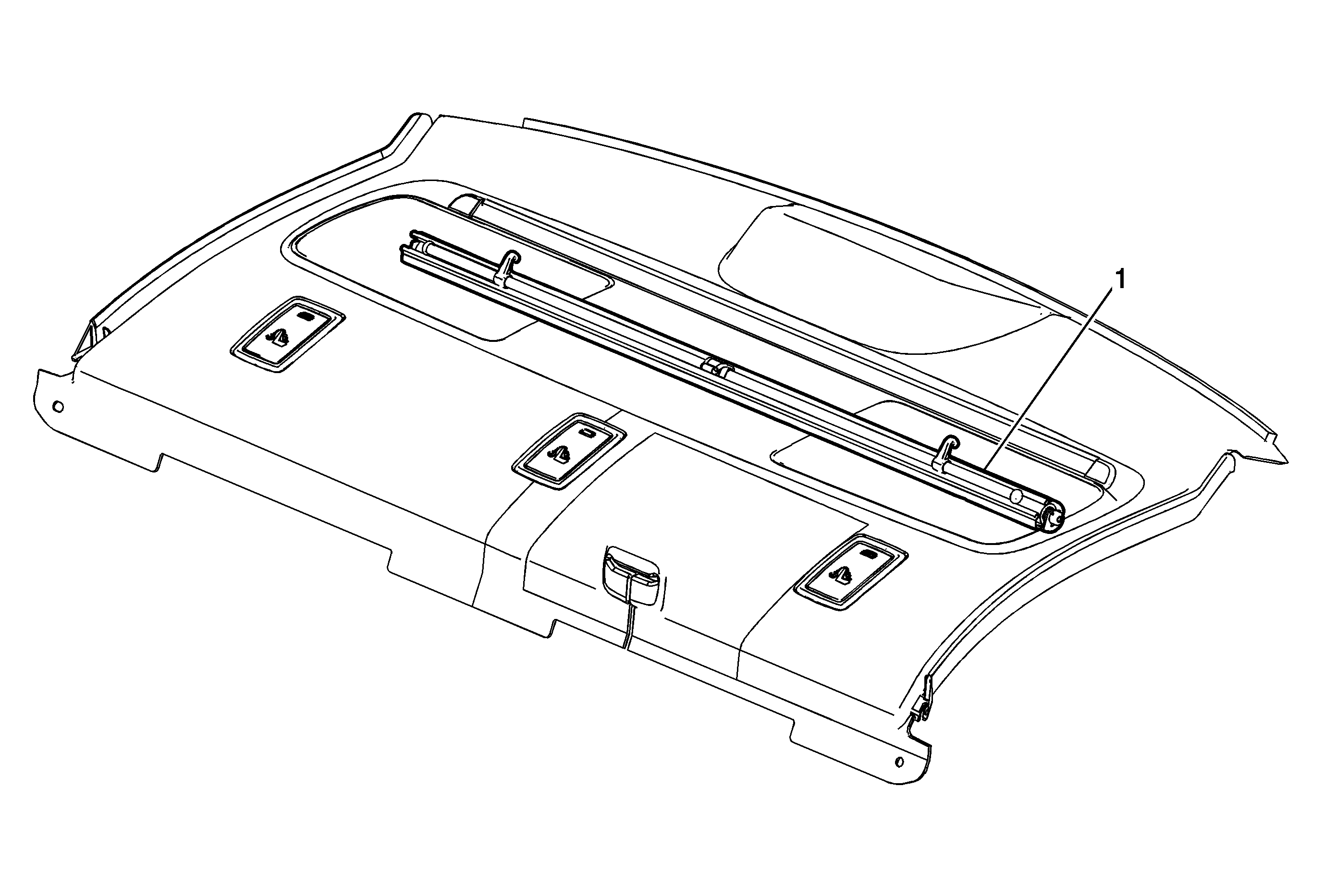
Object Number: 2003877  Size: MF

Callout

Component Name

1

Rear Window Inside Shade Assembly

Procedure

Release sunshade assembly from rear shelf trim.