GM Service Manual Online
For 1990-2009 cars only

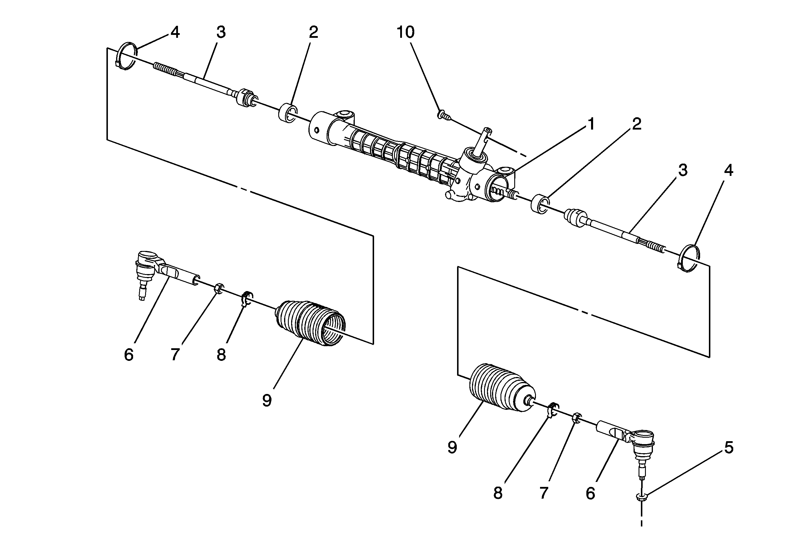
Power Steering Gear Disassembled View Electronic Power Steering


Object Number: 1907525  Size: MF
(1)Steering Gear
(2)Steering Gear Pinion Shaft Seal
(3)Steering Gear Inner Tie Rod
(4)Inner Steering Gear Boot Clamp
(5)Rack And Pinion Outer Tie Rod End Nut
(6)Rack And Pinion Outer Tie Rod End
(7)Steering Gear Inner Tie Rod Nut
(8)Outer Steering Gear Boot Clamp
(9)Steering Gear Boot
(10)Intermediate Steering Shaft Lower Bolt

Power Steering Gear Disassembled View Hydraulic Power Steering


Object Number: 1907530  Size: MF
(1)Steering Gear
(2)Steering Gear Cylinder Pipe
(3)Steering Gear Cylinder Pipe Seal
(4)Steering Gear Cylinder Pipe
(5)Power Steering Gear Inlet Hose Bracket Bolt
(6)Power Steering Gear Inlet Hose Bracket
(7)Rack And Pinion Outer Tie Rod End Nut
(8)Steering Gear Shock Dampener
(9)Steering Gear Inner Tie Rod
(10)Inner Steering Gear Boot Clamp
(11)Steering Gear Boot
(12)Outer Steering Gear Boot Clamp
(13)Steering Gear Inner Tie Rod Nut
(14)Rack And Pinion Outer Tie Rod End
(15)Steering Gear Boot Breather Tube