GM Service Manual Online
For 1990-2009 cars only

Inspect the windshield wiper blades for wear or cracking. See Scheduled Maintenance .

To remove the wiper blade:

  1. Pull the windshield wiper arm connector away from the windshield.

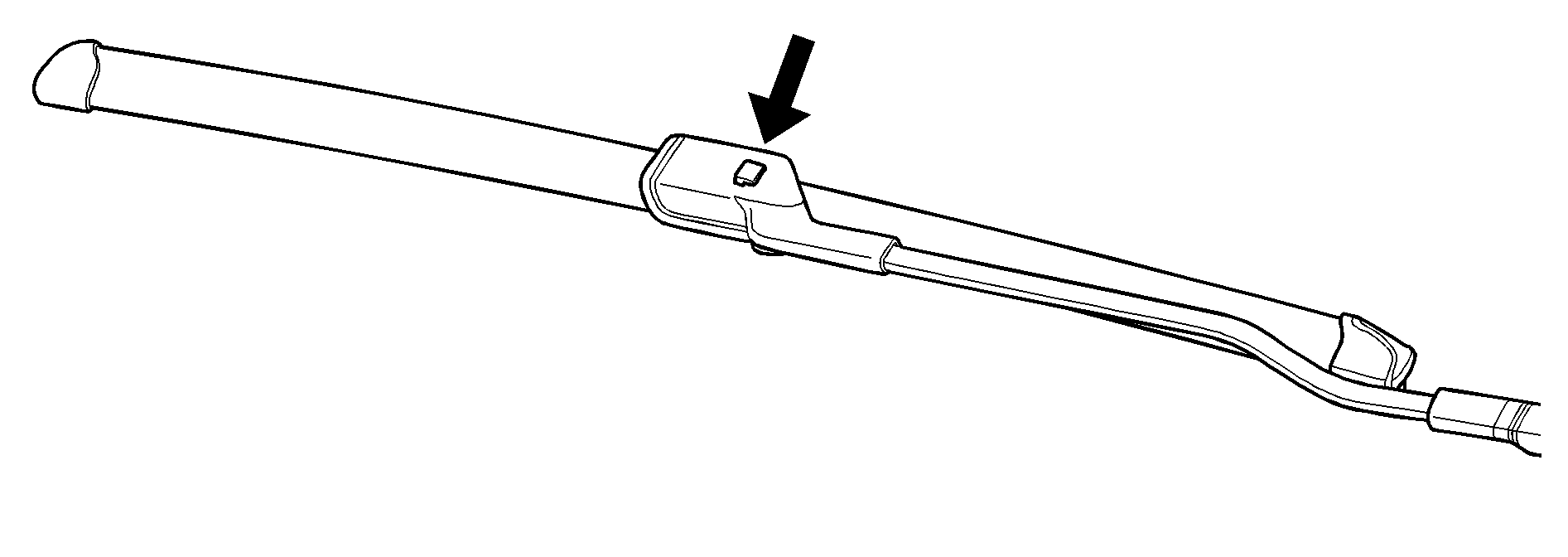
  2. Object Number: 1897756  Size: B1
  3. Push the release button.
  4. Slide the blade forward.
  5. Turn the blade toward you and continue to slide forward to remove.
  6. Install the new blade onto the arm connector and make sure the grooved areas are fully set in the locked position.

For the proper type and size, see Maintenance Replacement Parts .