GM Service Manual Online
For 1990-2009 cars only
Figure 1:

Cylinder Head and Components


Object Number: 1866996  Size: LF
(201)Exhaust Valve
(202)Intake Valve
(203)Timing Chain Guide Bolt Access Hole
(204)Cylinder Head
(205)Cylinder Head Gallery Plug
(206)Hydraulic Lash Adjuster
(207)Roller Finger Follower
(208)Cylinder Head Bolt
(209)Small Cylinder Head Bolt
(210)Valve Stem Seal
(211)Valve Spring
(212)Valve Spring Retainer
(213)Valve Keys
(214)Hydraulic Lash Adjuster
(215)Roller Finger Follower
(216)lntake Camshaft
(219)Camshaft Cap
(220)Exhaust Camshaft
(221)Camshaft Cap
(222)Camshaft Cap Bolt
(300)Coolant Air Bleed Fitting
(413)Engine Oil Fill Cap
(507)Fuel Injector Rotator Cup
(508)Fuel Injector O-ring
(509)Fuel Injector
(510)Fuel Injector O-ring
(511)Fuel Injector Clip
(512)Fuel Rail
(513)Camshaft Cover Gasket
(514)Camshaft Cover
(515)Camshaft Cover Bolt
(707)Front Lift Bracket Bolt
(708)Front Lift Bracket
(709)Rear Lift Bracket
(710)Rear Lift Bracket Bolt
(713)Fuel Injector Wiring Harness
(717)Spark Plug
(718)Camshaft Position Actuator Solenoid Valve - Exhaust
(719)Camshaft Position Actuator Solenoid Valve - Intake
(720)Camshaft Position Actuator Solenoid Valve Bolt
(721)Ignition Coil
(724)Ignition Coil Bolt
(725)Camshaft Position Sensor
(726)Camshaft Position Sensor Bolt
(727)Camshaft Position Sensor
(728)Camshaft Position Sensor Bolt
Figure 2:

Intake Manifold and Components


Object Number: 1866997  Size: MF
(408)Oil Indicator Tube O-ring
(409)Oil Indicator Tube
(410)Oil Indicator Tube Bolt
(411)Oil Indicator O-ring
(412)Oil Indicator
(500)Intake Manifold Gasket
(501)Intake Manifold Bolt
(502)Intake Manifold
(503)Throttle Body Seal
(504)Throttle Body
(506)Throttle Body Bolt
(711)Map Sensor
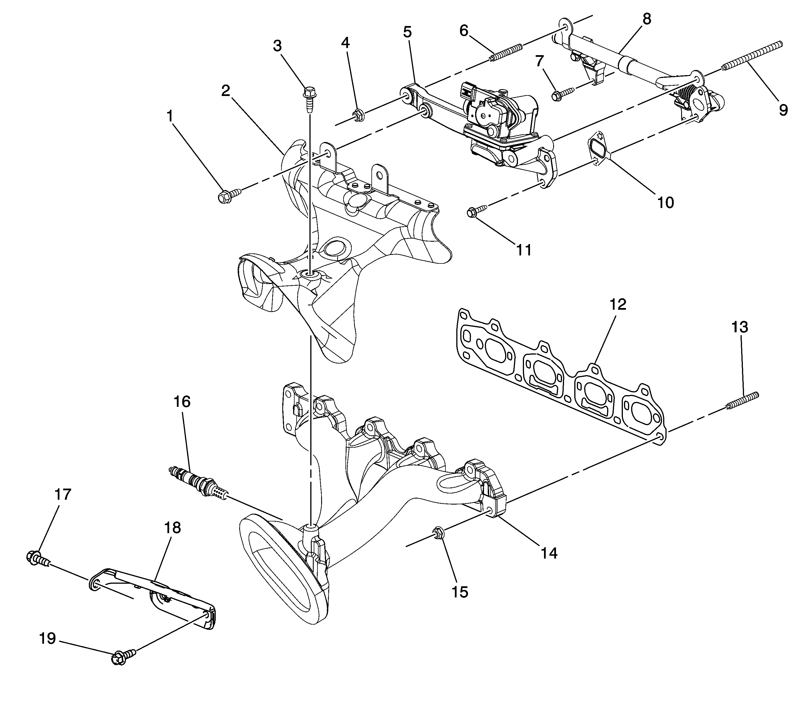
Figure 3:

Exhaust Manifold and Components


Object Number: 2179162  Size: LF
(1)Exhaust Manifold Heat Shield Bolt
(2)Exhaust Manifold Heat Shield
(3)Exhaust Manifold Heat Shield Bolt
(4)Secondary Air Injection Assembly Nut
(5)Secondary Air Injection Assembly
(6)Secondary Air Injection Check Stud
(7)Secondary Air Injection Bolt
(8)Secondary Air Injection Pipe Assembly
(9)Secondary Air Injection Stud
(10)Secondary Air Injection Check Valve Gasket
(11)Secondary Air Injection Bolt
(12)Exhaust Manifold Gasket
(13)Exhaust Manifold Stud
(14)Exhaust Manifold
(15)Exhaust Manifold Nut
(16)Oxygen Sensor
(17)Exhaust Manifold Brace Bolt
(18)Exhaust Manifold Brace
(19)Exhaust Manifold Brace Bolt
Figure 4:

Engine Block and Components


Object Number: 2182421  Size: LF
(1)Water Pump to Engine Block Seal
(2)Water Pump
(3)Water Transfer Pipe O-ring Seals
(4)Water Transfer Pipe
(5)Coolant Temperature Sensor
(6)Thermostat Housing to Block Gasket
(7)Thermostat Housing
(8)Thermostat
(9)Thermostat Gasket
(10)Thermostat Housing Cap Bolt
(11)Thermostat Housing Cap
(12)Water Pipe Support Bracket
(13)Water Pipe Support Bracket Bolt
(14)Water Pipe Support Bracket Bolt Stud
(15)Cylinder Head Gasket
(16)Piston Ring Assembly
(17)Piston Assembly
(18)Connecting Rod
(19)Connecting Rod Cap Bolt
(20)Connecting Rod Bearing
(21)Oil Filter Cap
(22)Oil Filter Cap O-ring
(23)Cylinder Head Alignment Pin
(24)Oil Filter
(25)Engine Block Gallery Plug
(26)Engine Block to Transaxle Alignment Pin
(27)Crankshaft Position Sensor
(28)Crankshaft Position Sensor Bolt
(29)Oil Pressure Switch
(30)Knock Sensor
(31)Crankshaft Bearing - Upper
(32)Crankshaft Rear Seal
(33)Flywheel - Automatic Transmission
(34)Manual Transaxle Flywheel
(35) Manual Transaxle Flywheel Bolt
(36)Automatic Transaxle Flywheel to Crankshaft Bolt
(37)Crankshaft
(38)Crankshaft Bearing - Lower
(39)Lower Crankcase
(40)Engine Oil Pan Alignment Pins
(41)Lower Crankcase Perimeter Bolt
(42)Engine Oil Pan
(43)Air Pump Assembly
(44)Air Pump Assembly Bolt
(45)Air Pump Assembly Bolt
(46)Engine Oil Pan Long Bolt
(47)Engine Oil Pan Bolt
(48)Engine Oil Pan Drain Plug
(49)Lower Crankcase Main Bearing Bolt
(50)Crankshaft Thrust Bearing - Lower
(51)Crankshaft Thrust Bearing - Upper
(52)Piston Oil Nozzle Assembly
(53)Engine Block
(54)Cylinder Bore Sleeve
Figure 5:

Timing Chain and Components


Object Number: 1828017  Size: LF
(123)Balance Shaft Rear Bearing
(124)Exhaust Balance Shaft
(125)Intake Balance Shaft
(126)Exhaust Balance Shaft Bearing Carrier
(127)Intake Balance Shaft Bearing Carrier
(128)Exhaust Balance Shaft Drive Sprocket
(129)Intake Balance Shaft Drive Sprocket
(130)Balance Shaft Drive Sprocket Bolts
(223)Upper Timing Chain Guide Bolt
(224)Upper Timing Chain Guide
(225)Exhaust Camshaft Position Actuator
(226)Intake Camshaft Position Actuator
(227)Camshaft Position Actuator Bolt
(228)Timing Chain Oil Nozzle
(229)Timing Chain Oil Nozzle Bolt
(230)Timing Chain Drive Sprocket
(231)Fixed Timing Chain Guide
(232)Fixed Timing Chain Guide Bolt
(233)Timing Chain
(234)Timing Chain Tensioner Washer
(235)Timing Chain Tensioner Body
(236)Timing Chain Tensioner O-ring Seal
(237)Timing Chain Tensioner Plunger
(238)Adjustable Timing Chain Guide
(239)Adjustable Timing Chain Guide Bolt
(240)Balance Shaft Drive Sprocket
(241)Balance Shaft Drive Chain Guide
(242)Balance Shaft Drive Chain Guide Bolt
(243)Balance Shaft Drive Chain Guide
(244)Balance Shaft Drive Chain Guide Bolt
(245)Balance Shaft Drive Chain
(246)Balance Shaft Drive Chain Tensioner Assembly
(247)Balance Shaft Drive Chain Tensioner Assembly Bolt
(248)Adjustable Balance Shaft Drive Chain Guide
(249)Adjustable Balance Shaft Drive Chain Guide Bolt
(314)Water Pump Drive Sprocket
(315)Water Pump Drive Sprocket Bolt
(316)Water Pump Bolt
(317)Engine Front Cover Access Plate Gasket
(318)Engine Front Cover Access Plate
(319)Engine Front Cover Access Plate Bolt
(414)Engine Front Cover Alignment Pins
(415)Engine Front Cover Gasket
(416)Oil Pump Cover Bolt
(417)Oil Pump Cover
(418)Oil Pump Outer Gerotor
(419)Oil Pump Inner Gerotor
(420)Engine Front Cover
(421)Engine Front Cover Bolt
(422)Oil Pressure Relief Valve Spring
(423)Oil Pressure Relief Valve Plunger
(424)Oil Pressure Relief Valve O-ring Seal
(425)Oil Pressure Relief Valve Plug
(426)Crankshaft Front Seal
(427)Crankshaft Damper
(428)Crankshaft Damper Bolt
(429)Friction Washer (Some Models)
(704)Belt Tensioner (Some Models)
(705)Belt Tensioner Bolt (Some Models)
(722)Belt Tensioner Bracket (Some Models)
(723)Belt Tensioner Bracket Bolts (Some Models)