GM Service Manual Online
For 1990-2009 cars only
Figure 1:

Forward Lighting


Object Number: 2001617  Size: LF
(1)Headlamp - Right Low Beam
(2)Park/Turn Signal Lamp - Right
(3)Headlamp - Right High Beam
(4)Park/Turn Signal Lamp - Left
(5)Headlamp - Left High Beam
(6)Headlamp - Left Low Beam
(7)Repeater Lamp - Left Front
(8)Marker Lamp - Left Front
(9)Fog Lamp - Left Front (T96)
(10)Marker Lamp - Right Front
(11)Fog Lamp - Right Front (T96)
(12)Repeater Lamp - Right Front
Figure 2:

Engine Compartment Cooling


Object Number: 2001771  Size: LF
(1)A/C Refrigerant Pressure Sensor (C68)
(2)Engine Cooling Fan - Right
(3)Engine Cooling Fan - Left
(4)Windshield Washer Fluid Pump
(5)Windshield Washer Fluid Level Switch
(6)Horn Assembly
Figure 3:

Underhood Sensors


Object Number: 2001774  Size: LF
(1)Inflatable Restraint Front End Sensor - Left
(2)Ambient Air Temperature Sensor
(3)Inflatable Restraint Front End Sensor - Right
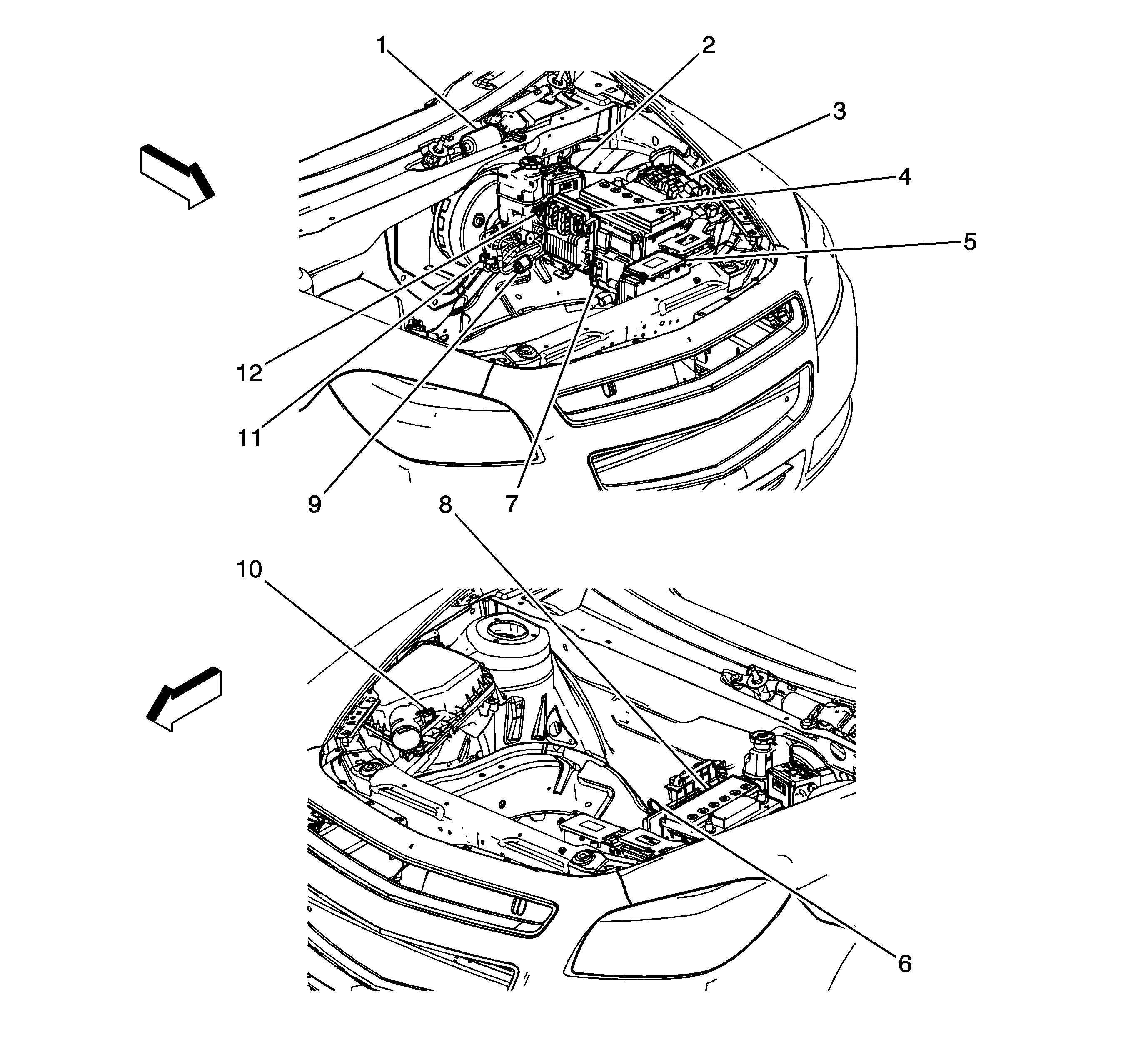
Figure 4:

Underhood Components (LE5 or LY7 or LZ4)


Object Number: 2001576  Size: LF
(1)Windshield Wiper Motor
(2)Master Cylinder
(3)Electronic Brake Control Module (EBCM)
(4)Fuse Block - Underhood
(5)Engine Control Module (ECM)
(6)Transmission Control Module (TCM) (MN5)
(7)Battery
(8)Battery Current Sensor
(9)Mass Air Flow (MAF)/Intake Air Temperature (IAT) Sensor
(10)Brake Fluid Level Switch
Figure 5:

Underhood Components (LAT)


Object Number: 2001609  Size: LF
(1)Windshield Wiper Motor
(2)Electronic Brake Control Module (EBCM)
(3)Fuse Block - Underhood
(4)Engine Control Module (ECM)
(5)Starter Generator Control Module (SGCM)
(6)Battery Current Sensor
(7)Transmission Control Module (TCM) (ME7)
(8)Battery
(9)Brake Master Cylinder Pressure Sensor
(10)Mass Air Flow (MAF)/Intake Air Temperature (IAT) Sensor
(11)Brake Booster Vacuum Sensor
(12)Brake Fluid Level Switch
Figure 6:

Above and Forward of the Radiator


Object Number: 1265767  Size: MF
(1)Hood Ajar Switch