GM Service Manual Online
For 1990-2009 cars only
Makes
🢒
Chevrolet
🢒
2009
🢒
Malibu
🢒
Power and Signal Distribution
🢒
Wiring Systems and Power Management
🢒 Luggage Compartment/Rear of Vehicle Component Views
Figure
1:
Left Side of the Luggage Compartment
(1)
Fuse Block - Rear
Figure
2:
Rear Window Defogger Grid
(1)
Radio Rear Window Antenna
(2)
Rear Window Defogger Grid
(3)
Rear Compartment Lid Latch
Figure
3:
Rear Lighting
(1)
Center High Mounted Stop Lamp (CHMSL)
(2)
License Lamp
(3)
Marker Lamp - Right Rear
(4)
Tail/Stop and Turn Signal Lamp - Right
(5)
Backup Lamp - Right
(6)
Backup Lamp - Left
(7)
Tail/Stop and Turn Signal Lamp - Left
(8)
Marker Lamp - Left Rear
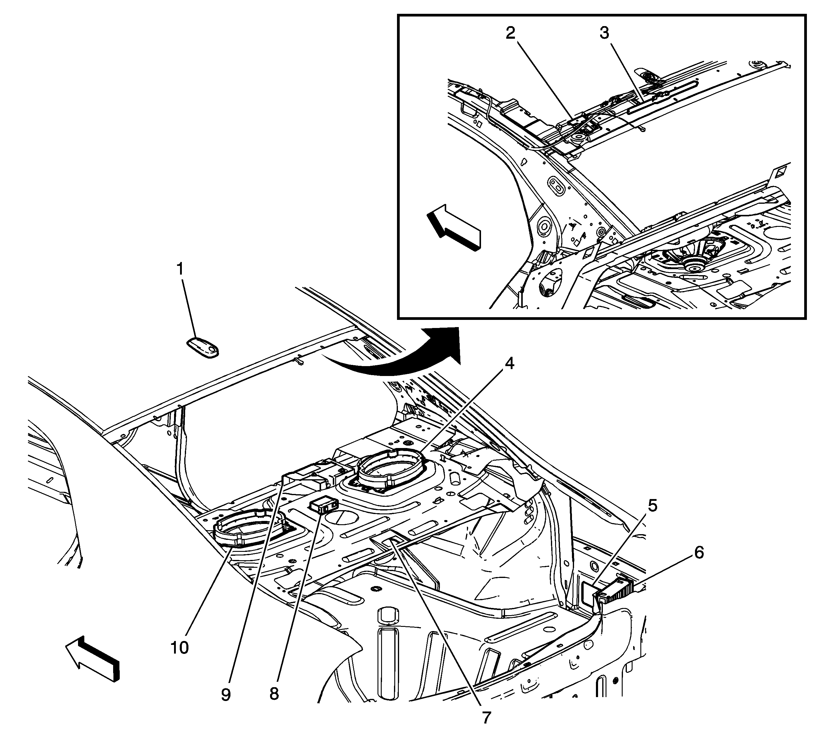
Figure
4:
Rear Window Shelf
(1)
Cellular and Digital Radio Antenna (U2K)
(2)
Radio Antenna Module
(3)
Remote Start Antenna (AP8)
(4)
Speaker - Right Rear
(5)
Accessory AC/DC Power Control Module (KV1)
(6)
Audio Amplifier (UQ3)
(7)
Rear Compartment Courtesy Lamp
(8)
Remote Control Door Lock Receiver (RCDLR)
(9)
Digital Radio Receiver (U2K)
(10)
Speaker - Left Rear