GM Service Manual Online
For 1990-2009 cars only

Removal Procedure


    Object Number: 1215076  Size: SH
  1. Remove the rear door trim panel. Refer to Rear Side Door Trim Panel Replacement .
  2. Remove the rear door water deflector. Refer to Rear Side Door Water Deflector Replacement .
  3. Disconnect the inside locking rod cap (1) and handle rod from the inside door handle.

  4. Object Number: 1215079  Size: SH
  5. Remove the retainer clips from the rods (1).
  6. Remove the rear door lock. Refer to Rear Door Lock Replacement .

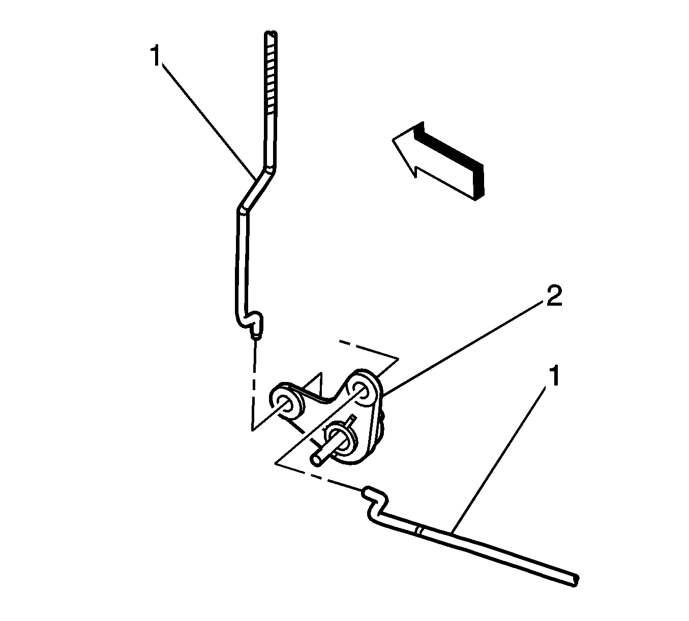
  7. Object Number: 1215085  Size: SH
  8. Remove the locking rod from the rear door lock (1).
  9. The bell crank (2) is fastened onto the door frame by a mandrel in the center of the crank. Remove the bell crank by pushing the mandrel through the panel.

Installation Procedure


    Object Number: 1215079  Size: SH
  1. Hook the locking rod to the rear door lock.
  2. Install the rear door lock. Refer to Rear Door Lock Replacement .
  3. Install the retainer clips to the rods (1).

  4. Object Number: 1215085  Size: SH
  5. Install the bell crank. Reuse the central mandrel (2).
  6. Install the rear door water deflector. Refer to Rear Side Door Water Deflector Replacement .
  7. Install the rear door trim panel. Refer to Rear Side Door Trim Panel Replacement .

  8. Object Number: 1215076  Size: SH
  9. Install the cap to the exposed lock rod (1).