GM Service Manual Online
For 1990-2009 cars only

Quarter Outer Panel Sectioning Extended Sedan

Description

This repair procedure gives you the option of using an installation procedure for either metal-inert gas (MIG) welding or adhesive bonding. The choice of installation depends on the type of application requirements. The adhesive bonding procedure may also require MIG welding in some areas of the repair.

Removal Procedure

Caution: Refer to Approved Equipment for Collision Repair Caution in the Preface section.

Important: Before beginning the repair, refer to Metal Panel Bonding for proper adhesive preparations and general information.

  1. Disconnect the negative battery cable. Refer to Battery Negative Cable Disconnection and Connection .
  2. Disable the SIR system. Refer to SIR Disabling and Enabling .
  3. Restore as much of the damage as possible to factory specifications. Refer to Dimensions - Body .
  4. Remove all related panels and components.
  5. Note the location and remove the sealers and anti-corrosion materials from the repair area, as necessary. Refer to Anti-Corrosion Treatment and Repair .

  6. Object Number: 1326179  Size: SH
  7. Section the sail panel (a) and the rocker panel (b).
  8. • At the sail panel, measure from the back glass opening down 120 mm (4 3/4 in). Scribe a line.
    • At the rocker panel, measure 70 mm (2 3/4 in) rearward from the rocker panel locating hole. Scribe a line.

    Object Number: 1326231  Size: SH
  9. Locate and drill out all factory welds. Note the number and location of welds for installation of the quarter panel.
  10. Important: Do not damage any other panel or reinforcements when cutting at the marked locations.


    Object Number: 1326180  Size: SH
  11. Cut the panel at the marked locations.

  12. Object Number: 1326183  Size: SH
  13. Remove the lower quarter panel.

Installation Procedure (Metal-Inert Gas (MIG) Welding)

Important: To allow proper layout and cutting of the service part, review the sectioning information in the removal procedure.

  1. Locate the area on the service part where the sectioning will be performed.

  2. Object Number: 1326179  Size: SH
  3. Measure and mark the cut line location on the service area.
  4. Cut the service panel at the marked locations. Trim the sectioning butt joints to allow a gap equal to the metal thickness at the sectioning joint.
  5. Create backing plates 50 mm (2 in) for the sail panel (a) and 100 mm (4 in) for the rocker panel (b). Create the backing plates from the unused portion of the service part.
  6. Trim the backing plates as necessary to fit behind the panel at the sectioning joints.

  7. Object Number: 1326184  Size: SH
  8. Drill 8 mm (5/16 in) plug weld holes as necessary in locations noted from the original quarter panel.
  9. Important: If the location of the original plug weld holes can not be determined, or if structural weld-thru adhesive is present, space the plug weld holes every 40 mm (1 ½ in) apart.

  10. Prepare all mating surfaces as necessary.
  11. Apply 3M® Weld-Thru coating P/N 05916 or equivalent to all mating surfaces.
  12. Perform the sectioning procedure. Refer to Overlap/Backing Plate Sectioning .

  13. Object Number: 1326186  Size: SH
  14. Plug weld accordingly.
  15. Stitch weld the sail panel and rocker panel accordingly.
  16. Clean and prepare all welded surfaces.
  17. Apply the sealers and anti-corrosion materials to the repair area, as necessary. Refer to Anti-Corrosion Treatment and Repair .
  18. Paint the repair area. Refer to Basecoat/Clearcoat Paint Systems .
  19. Install all related panels and components.
  20. Enable the SIR system. Refer to SIR Disabling and Enabling .
  21. Connect the negative battery cable. Refer to Battery Negative Cable Disconnection and Connection .

Installation Procedure (Adhesive Bonding)


    Object Number: 1326187  Size: SH
  1. Grind the surface of the body mating flanges to bare steel.

  2. Object Number: 1326188  Size: SH
  3. Grind the quarter panel mating flanges to remove the E-coating. Take care not to damage the corners or thin the metal during the grinding operation.
  4. Clean the mating surfaces.
  5. Perform the sectioning procedure. Refer to Overlap/Backing Plate Sectioning .

  6. Object Number: 1326189  Size: SH

    Important: The adhesive has a 40-50 minute working time. Do not allow the adhesive to totally cure off the vehicle, as proper alignment of the lower quarter panel to the body will be difficult.

  7. Apply a 3-6 mm (1/8-1/4 in) bead of metal panel bonding adhesive GM P/N 12378566/7 (Canadian P/N 88901674/5) or equivalent, to both of the mating surfaces.
  8. Using a small acid brush, spread a coat of adhesive to cover all the bare metal surfaces to ensure corrosion protection.

  9. Object Number: 1326183  Size: SH

    Important: DO NOT pull the panels apart after joined together. Slide the panels against each other to realign the panels.

  10. Install the quarter panel to the body.

  11. Object Number: 1326190  Size: SH
  12. Clamp the quarter panel into position as required.
  13. Using lacquer thinner remove the excess adhesive from the lower quarter panel area.
  14. Apply the sealers and anti-corrosion materials to the repair area, as necessary. Refer to Anti-Corrosion Treatment and Repair .
  15. Paint the repair area. Refer to Basecoat/Clearcoat Paint Systems .
  16. Install all related panels and components.
  17. Enable the SIR system. Refer to SIR Disabling and Enabling .
  18. Connect the negative battery cable. Refer to Battery Negative Cable Disconnection and Connection .

Quarter Outer Panel Sectioning Sedan Bond-on

Removal Procedure

Caution: Refer to Approved Equipment for Collision Repair Caution in the Preface section.

Important: This adhesive bonding procedure represents one manufacturer's installation application. Other manufacturers' procedures may vary, including MIG welding in some areas of the repair. Always follow the system manufacturer's instructions for application, handling, and curing.

Important: Before beginning the repair, refer to Metal Panel Bonding for proper adhesive preparations and general information.

  1. Disconnect the negative battery cable. Refer to Battery Negative Cable Disconnection and Connection .
  2. Disable the SIR system. Refer to SIR Disabling and Enabling .
  3. Restore as much of the damage as possible to factory specifications. Refer to Dimensions - Body .
  4. Remove all related panels and components.
  5. Note the location and remove the sealers and anti-corrosion materials from the repair area, as necessary. Refer to Anti-Corrosion Treatment and Repair .

  6. Object Number: 1206433  Size: SH
  7. Section the sail panel (a) and the rocker panel (b).
  8. • At the sail panel, measure from the back glass opening down 120 mm (4 3/4 in). Scribe a line.
    • At the rocker panel, measure 70 mm (2 3/4 in) rearward from the rocker panel locating hole. Scribe a line.

    Object Number: 1206448  Size: SH
  9. Locate and drill out all factory welds.
  10. Important: Do not damage any other panel or reinforcements when cutting at the marked locations.


    Object Number: 1206454  Size: SH
  11. Cut the panel at the marked locations.

  12. Object Number: 1206465  Size: SH
  13. Remove the quarter panel.

Installation Procedure


    Object Number: 1209577  Size: SH
  1. Grind the surface of the body mating flanges to bare steel.

  2. Object Number: 1209591  Size: SH
  3. Grind the quarter panel mating flanges to bare steel. Take care not to damage the corners or thin the metal during the grinding operation.
  4. Clean the mating surfaces.
  5. Perform the sectioning procedure. Refer to Overlap/Backing Plate Sectioning .

  6. Object Number: 1209604  Size: SH

    Important: The adhesive has a 40-50 minute working time. Do not allow the adhesive to totally cure off the vehicle, as proper alignment of the lower quarter panel to the body will be difficult.

  7. Apply a 3-6 mm (1/8-1/4 in) bead of metal panel bonding adhesive to both of the mating surfaces.
  8. Using a small acid brush, spread a coat of adhesive to cover all the bare metal surfaces to ensure corrosion protection.
  9. Apply a 9-13 mm (3/8-1/2 in) bead of metal panel bonding adhesive to the service part mating surface.

  10. Object Number: 1209616  Size: SH

    Important: DO NOT pull the panels apart after joined together. Slide the panels against each other to realign the panels.

  11. Install the quarter panel to the body.

  12. Object Number: 1209632  Size: SH
  13. Clamp the quarter panel into position as required.
  14. Using lacquer thinner remove the excess adhesive from the lower quarter panel area.
  15. Apply body filler, following the adhesive manufacturer's recommendations.
  16. Apply the sealers and anti-corrosion materials to the repair area, as necessary. Refer to Anti-Corrosion Treatment and Repair .
  17. Paint the repair area. Refer to Basecoat/Clearcoat Paint Systems .
  18. Install all related panels and components.
  19. Enable the SIR system. Refer to SIR Disabling and Enabling .
  20. Connect the negative battery cable. Refer to Battery Negative Cable Disconnection and Connection .

Quarter Outer Panel Sectioning SS Bond-On

Removal Procedure

Tools Required

Fender Flanging Tool

Caution: Refer to Approved Equipment for Collision Repair Caution in the Preface section.

Important: This adhesive bonding procedure represents one manufacturer's installation application. Other manufacturers' procedures may vary, including MIG welding in some areas of the repair. Always follow the system manufacturer's instructions for application, handling, and curing.

Important: Before beginning the repair, refer to Metal Panel Bonding for proper adhesive preparations and general information.

  1. Disconnect the negative battery cable. Refer to Battery Negative Cable Disconnection and Connection .
  2. Disable the SIR system. Refer to SIR Disabling and Enabling .
  3. Restore as much of the damage as possible to factory specifications. Refer to Dimensions - Body .
  4. Remove all related panels and components.
  5. Note the location and remove the sealers and anti-corrosion materials from the repair area, as necessary. Refer to Anti-Corrosion Treatment and Repair .

  6. Object Number: 1206433  Size: SH
  7. Section the sail panel (a) and the rocker panel (b).
  8. • At the sail panel, measure from the back glass opening down 120 mm (4 3/4 in). Scribe a line.
    • At the rocker panel, measure 70 mm (2 3/4 in) rearward from the rocker panel locating hole. Scribe a line.

    Object Number: 1206448  Size: SH
  9. Locate and drill out all factory welds.
  10. Important: Do not damage any other panel or reinforcements when cutting at the marked locations.


    Object Number: 1206454  Size: SH
  11. Cut the panel at the marked locations.

  12. Object Number: 1206465  Size: SH
  13. Remove the lower quarter panel.

Installation Procedure


    Object Number: 1209577  Size: SH
  1. Grind the surface of the body mating flanges to bare steel.

  2. Object Number: 1209591  Size: SH
  3. Grind the quarter panel mating flanges to bare steel. Take care not to damage the corners or thin the metal during the grinding operation.
  4. Clean the mating surfaces.
  5. Perform the sectioning procedure. Refer to Overlap/Backing Plate Sectioning .

  6. Object Number: 1209604  Size: SH

    Important: The adhesive has a 40-50 minute working time. Do not allow the adhesive to totally cure before flanging the wheelhouse weld flange

  7. Apply a 3-6 mm (1/8-1/4 in) bead of metal panel bonding adhesive to both of the mating surfaces.
  8. Using a small acid brush, spread a coat of adhesive to cover all the bare metal surfaces to ensure corrosion protection.
  9. Apply a 9-13 mm (3/8-1/2 in) bead of metal panel bonding adhesive to the service part mating surface.

  10. Object Number: 1209616  Size: SH

    Important: DO NOT pull the panels apart after joined together. Slide the panels against each other to realign the panels.

  11. Install the quarter panel to the body.

  12. Object Number: 1209632  Size: SH
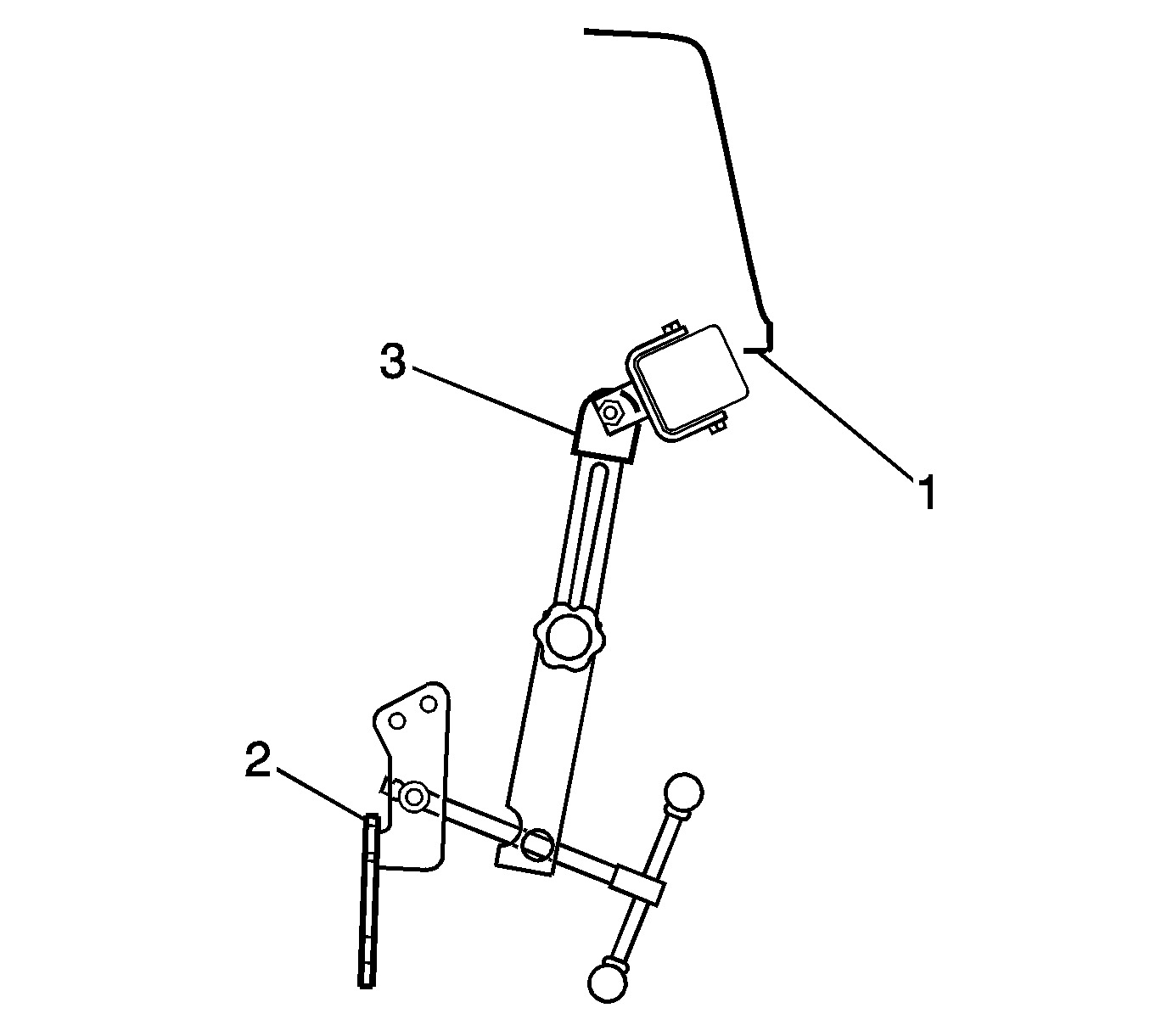
  13. Clamp the quarter panel into position as required, except in the wheelhouse area.

  14. Object Number: 1689229  Size: SH
  15. Raise the rear of the vehicle. Safely secure the vehicle on a jack stand.
  16. Remove the rear wheel when the flange needs to be bent (1).
  17. Place the tool hub dish flange onto the wheel hub. Tighten the lugs to snug (2).
  18. Adjust the arm length so that the center of the roller is aligned with the inboard flange of the outer wheelhouse.
  19. Adjust the roller to achieve the desired angle to wheelhouse lip (3).

  20. Object Number: 1689231  Size: SH
  21. Tighten the hand wheel located on the tool (1) to apply slight pressure.

  22. Object Number: 1689232  Size: SH
  23. Hold the tool firmly. Swing the tool in an arcing motion to reform the inner quarter panel to the wheelhouse flange.

  24. Object Number: 1689234  Size: SH
  25. Adjust the tool as necessary by adding pressure to the rollers to redirect the flange to the desired location.
  26. Remove the flanging tool.
  27. Clamp the quarter panel to the wheelhouse flange.
  28. Using lacquer thinner remove the excess adhesive from the lower quarter panel area.
  29. Apply body filler, following the adhesive manufacturer's recommendations.
  30. Apply the sealers and anti-corrosion materials to the repair area, as necessary. Refer to Anti-Corrosion Treatment and Repair .
  31. Paint the repair area. Refer to Basecoat/Clearcoat Paint Systems .
  32. Install all related panels and components.
  33. Enable the SIR system. Refer to SIR Disabling and Enabling .
  34. Connect the negative battery cable. Refer to Battery Negative Cable Disconnection and Connection .

Quarter Outer Panel Sectioning Sedan Weld-On

Removal Procedure

Caution: Refer to Approved Equipment for Collision Repair Caution in the Preface section.

  1. Disconnect the negative battery cable. Refer to Battery Negative Cable Disconnection and Connection .
  2. Disable the SIR system. Refer to SIR Disabling and Enabling .
  3. Restore as much of the damage as possible to factory specifications. Refer to Dimensions - Body .
  4. Remove all related panels and components.
  5. Note the location and remove the sealers and anti-corrosion materials from the repair area, as necessary. Refer to Anti-Corrosion Treatment and Repair .

  6. Object Number: 1206433  Size: SH
  7. Section the sail panel (a) and the rocker panel (b).
  8. • At the sail panel, measure from the back glass opening down 120 mm (4 3/4 in). Scribe a line.
    • At the rocker panel, measure 70 mm (2 3/4 in) rearward from the rocker panel locating hole. Scribe a line.

    Object Number: 1206448  Size: SH
  9. Locate and drill out all factory welds. Note the number and location of welds for installation of the quarter panel.
  10. Important: Do not damage any other panel or reinforcements when cutting at the marked locations.


    Object Number: 1206454  Size: SH
  11. Cut the panel at the marked locations.

  12. Object Number: 1206465  Size: SH
  13. Remove the lower quarter panel.

Installation Procedure

Important: To allow proper layout and cutting of the service part, review the sectioning information in the removal procedure.

  1. Locate the area on the service part where the sectioning will be performed.

  2. Object Number: 1206433  Size: SH
  3. Measure and mark the cut line location on the service area.
  4. Cut the service panel at the marked locations (a, b). Trim the sectioning butt joints to allow a gap equal to the metal thickness at the sectioning joint.
  5. Create backing plates 50 mm (2 in) for the sail panel and 100 mm (4 in) for the rocker panel. Create the backing plates from the unused portion of the service part.
  6. Trim the backing plates as necessary to fit behind the panel at the sectioning joints.

  7. Object Number: 1209531  Size: SH
  8. Drill 8 mm (5/16 in) plug weld holes as necessary in locations noted from the original quarter panel.
  9. Important: If the location of the original plug weld holes can not be determined, or if structural weld-thru adhesive is present, space the plug weld holes every 40 mm (1 ½ in) apart.

  10. Prepare all mating surfaces as necessary.
  11. Apply GM Weld-Thru coating to all mating surfaces. Refer to Anti-Corrosion Treatment and Repair.
  12. Perform the sectioning procedure. Refer to Overlap/Backing Plate Sectioning .

  13. Object Number: 1209564  Size: SH
  14. Plug weld accordingly.
  15. Stitch weld the sail panel and rocker panel accordingly.
  16. Clean and prepare all welded surfaces.
  17. Apply the sealers and anti-corrosion materials to the repair area, as necessary. Refer to Anti-Corrosion Treatment and Repair .
  18. Paint the repair area. Refer to Basecoat/Clearcoat Paint Systems .
  19. Install all related panels and components.
  20. Enable the SIR system. Refer to SIR Disabling and Enabling .
  21. Connect the negative battery cable. Refer to Battery Negative Cable Disconnection and Connection .