GM Service Manual Online
For 1990-2009 cars only

Object Number: 280905  Size: MF
Engine Controls Components
Cell 21: MIL and DLC
OBD II Symbol Description Notice
Handling ESD Sensitive Parts Notice
Handling ESD Sensitive Parts Notice

Circuit Description

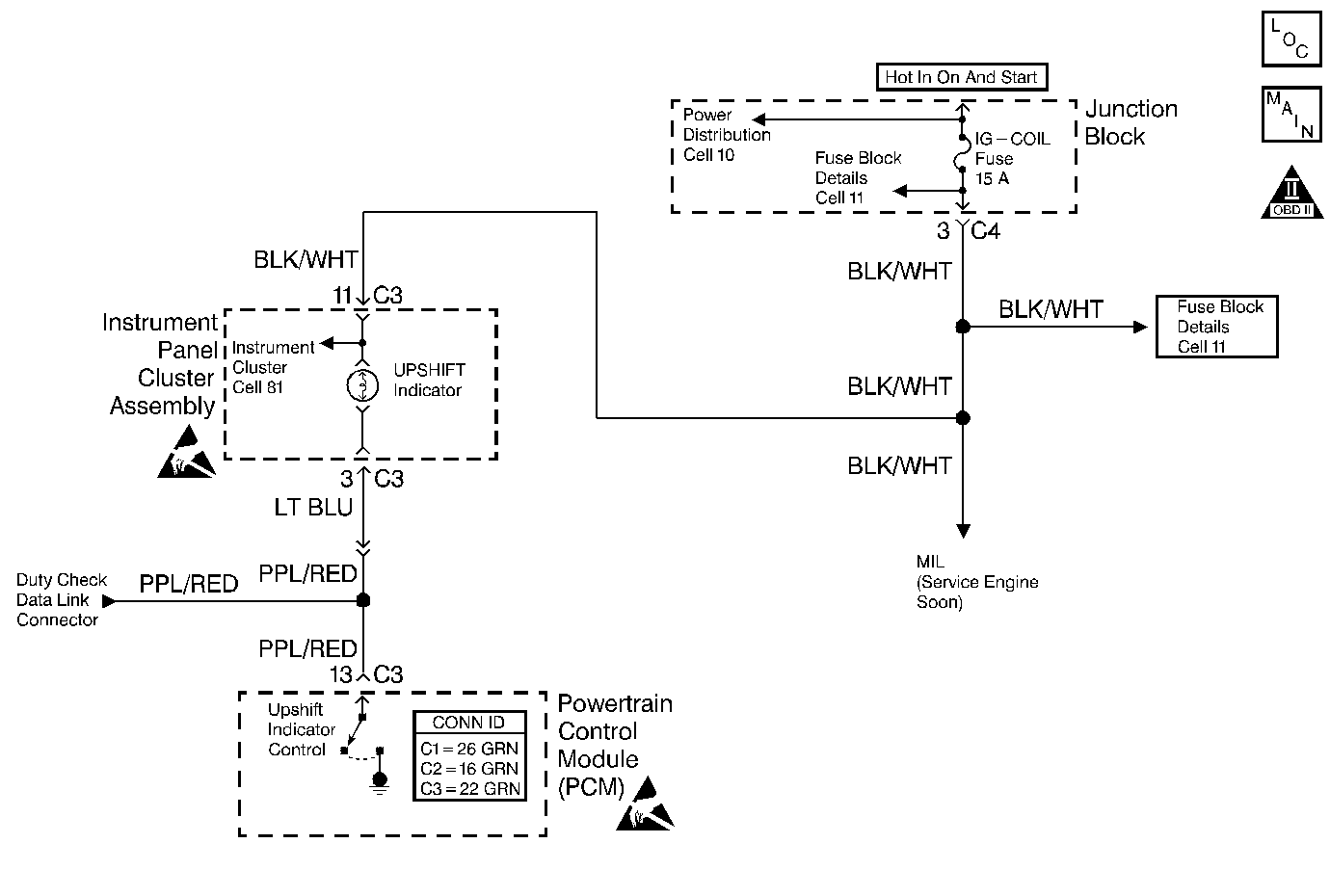
The upshift indicator lamp is controlled by the powertrain control module (PCM). The upshift indicator lamp is illuminated when the upshift indicator control circuit from the I/P cluster assembly is grounded by the PCM. The upshift indicator lamp will be illuminated all the time if the lamp control circuit is shorted to ground. The lamp will not illuminate when commanded by the PCM if the upshift indicator lamp circuit is open.

Operation

The upshift indicator lamp illuminates when the preferred transaxle shift point for maximum fuel economy is reached. The upshift indicator lamp will remain illuminated for approximate 5 seconds. The upshift indicator lamp can illuminate when vehicle speed is more than 5 km/h (3 mph) and engine speed is higher a specified value. The engine speed necessary for the PCM to illuminate the upshift indicator lamp varies with intake manifold pressure (MAP) and engine coolant temperature (ECT).

Diagnostic Aids

Check for proper PCM calibration or application if the upshift indicator lamp illuminates at inappropriate vehicle/engine speeds.

An intermittent malfunction may be caused by a fault in the upshift indicator lamp electrical circuit. Inspect the wiring harness and components for any of the following conditions:

    • Backed out terminals.
    • Improper mating of terminals.
    • Broken electrical connector locks.
    • Improperly formed or damaged terminals.
    • Faulty terminal to wire connections.
    • Physical damage to the wiring harness.
    • A broken wire inside the insulation.
    • Corrosion of electrical connections, splices, or terminals.

Test Description

The numbers below refer to the step numbers in the Diagnostic Table.

  1. The Powertrain OBD System Check prompts the technician to complete some basic checks and store the freeze frame data on the scan tool if applicable. This creates an electronic copy of the data taken when the fault occurred. The information is then stored in the scan tool for later reference.

  2. This step checks the operation of the upshift indicator with the ignition switch ON.

Step

Action

Value(s)

Yes

No

1

Did you perform the Powertrain On-Board Diagnostic System Check?

--

Go to Step 2

Go to Powertrain On Board Diagnostic (OBD) System Check

2

Turn ON the ignition, leaving the engine OFF.

Is the upshift indicator lamp illuminated?

--

Go to Step 3

Go to Step 6

3

Start the engine.

Did the upshift indicator lamp turn OFF?

--

Go to Diagnostic Aids

Go to Step 4

4

  1. Check for a short to ground in the upshift indicator control circuit between the I/P cluster assembly, the PCM, and the duty check data link connector.
  2. Repair as necessary. Refer to Wiring Repairs in Wiring Systems.

Was a repair necessary?

--

Go to Step 11

Go to Step 5

5

  1. Check for a short to ground in the I/P printed circuit. Refer to Printed Instrument Cluster Circuit Replacement in Instrument Panel, Gauges and Console.
  2. Repair as necessary.

Was a repair necessary?

--

Go to Step 11

Go to Step 10

6

  1. Turn OFF the ignition.
  2. Disconnect the PCM electrical connectors.
  3. Connect a fused jumper wire from the upshift indicator control circuit to ground (harness side).
  4. Turn ON the ignition, leaving the engine OFF.

Is the upshift indicator lamp illuminated?

--

Go to Step 10

Go to Step 7

7

  1. Disconnect the jumper wire.
  2. Back probe the I/P cluster assembly connector C3 with the fused jumper wire from terminal 3 to ground.

Is the upshift indicator lamp illuminated?

--

Go to Step 8

Go to Step 9

8

Check for an open in the upshift indicator control circuit between the I/P cluster assembly and the PCM. Repair as necessary. Refer to Wiring Repairs in Wiring Systems.

Was a repair necessary?

--

Go to Step 11

Go to Step 10

9

  1. Check for any of the following conditions:
  2. • An open IG-COIL fuse.
    • A faulty upshift indicator lamp bulb.
    • An open in the ignition feed circuit to the I/P cluster assembly. Refer to Wiring Repairs in Wiring Systems.
    • A faulty connection at the I/P cluster assembly.
    • An open in the I/P printed circuit board.
  3. Repair any problems found in the checks above.

Were any repairs necessary?

--

Go to Step 11

Go to Diagnostic Aids

10

Replace the PCM. Refer to Powertrain Control Module Replacement .

Is the action complete?

--

Go to Step 11

--

11

Operate the vehicle within the conditions under which the original symptom was noted.

Does the system now operate properly?

--

System OK

Go to Symptoms