GM Service Manual Online
For 1990-2009 cars only

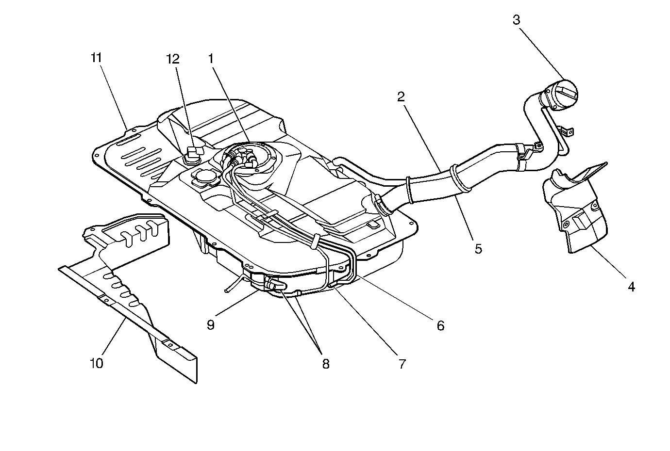
Fuel Tank


Object Number: 229444  Size: MF
(1)Fuel Sender Assembly
(2)Fuel Breather Hose
(3)Fuel Filler Cap
(4)Filler Neck Protector
(5)Fuel Filler Hose
(6)Fuel Return Line
(7)Fuel Feed Line
(8)Fuel Vapor Lines
(9)Fuel Vapor Separator
(10)Fuel Tank Protector
(11)Fuel Tank
(12)Fuel Tank Pressure Sensor

The fuel tank is used to store fuel for the vehicle. The fuel tank has a 39 liter (10.3 gallon) fuel capacity. The tank is molded from steel and is located in front of the rear wheels below the rear seat. The tank is held in place with five bolts. The tank's shape allows for a constant supply of fuel around the fuel pump strainer during low fuel conditions and also during aggressive vehicle maneuvers.

The fuel tank and the fuel lines and hoses should be checked for road damage that could cause fuel leaks. The fuel filler cap should be inspected for a correct seal and indications of physical damage.

Fuel Tank Filler Neck

In order to prevent refueling with leaded fuel, the fuel filler neck has a built-in restrictor and deflector. The opening of the restrictor only admits the smaller unleaded fuel nozzle. The nozzle must be fully inserted to bypass the deflector. Any attempt at refueling with leaded fuel will result in fuel splashing out of the filler neck.

Fuel Filler Cap


Object Number: 55714  Size: SH
(1)Vacuum Relief Valve
(2)Pressure Relief Valve
(3)Gasket

Important: Replace the fuel filler cap with a cap that meets OEM specifications. Failure to use the correct fuel filler cap can result in the incorrect operation of the fuel delivery system.

The fuel filler cap is a pressure-vacuum type. A built-in torque-limiting device prevents over tightening and also eliminates the escape of fuel vapors. To install, turn the cap clockwise until a clicking noise is heard. This indicates that the cap is fully seated.

A vacuum relief valve is incorporated into the fuel filler cap. If the pressure in the fuel tank becomes negative (vacuum), the relief valve opens in order to relieve the pressure created within the fuel tank. Only when vacuum becomes excessive within the tank does this occur. Vacuum pressure is also vented through the tank pressure control valve which is located next to the EVAP canister.

A pressure relief valve is also located in the fuel filler cap. If the pressure of the fuel vapor within the tank should exceed that for which the fuel system is designed, the pressure relief valve opens. When the pressure relief valve opens excess pressure is vented to the atmosphere.

Fuel Level Sensor


Object Number: 183486  Size: SH

The fuel level sensor (1) is located in the fuel tank (3) and is an integral part of the fuel sender assembly (4). The fuel level sensor (fuel gauge sending unit) consists of a float, a float arm, and a variable resistor. The fuel level is measured by the position of the float in the fuel tank. The fuel level sensor indicates the position of the float to a gauge in the Instrument Panel (I/P) cluster assembly and the powertrain control module. When the fuel level changes, the float position changes. The change in the float position increases or decreases the resistance reading of the variable resistor. The change in the resistance causes a change in the indicated fuel level. The powertrain control module monitors the fuel level sensor and uses the signals from the sensor in order to determine when to perform certain EVAP control system diagnostics. Replace the fuel sender assembly in order to service the fuel level sensor.

Fuel Sender Assembly


Object Number: 233561  Size: MH
(1)Fuel Cut Valve
(2)Fuel Sender Assembly
(3)Fuel Level Sensor (Fuel Gauge Sending Unit)
(4)Fuel Pump
(5)Fuel Pump Strainer
(6)Fuel Level Sensor Float
(7)Fuel Filter

The fuel sender assembly is located in the fuel tank. The fuel sender assembly contains the electric fuel pump, the fuel level sensor (fuel gauge sender), and the fuel filter. The fuel sender assembly connects to the fuel lines with quick connect fittings. A fuel cut valve is located in the fuel sender assembly just below the fuel vapor pipe. The fuel cut valve consists of a float and a spring. The fuel cut valve allows only fuel vapors to enter the fuel vapor pipe. This prevents liquid fuel from leaving the fuel tank and flowing into the EVAP canister.

Fuel Sender Assembly Disassembled View


Object Number: 325034  Size: MF
(1)Lead Wire Harness
(2)Spacer
(3)Fuel Pump
(4)Cushion
(5)Lower End Cap Assembly
(6)Fuel Level Sensor/Gauge Unit Assembly
(7)Housing
(8)Grommet
(9)Fuel Tube
(10)Grommet
(11)Fuel Sender Subassembly (Includes fuel filter)

Fuel Pump


Object Number: 55721  Size: SH
(1)Fuel Outlet Port
(2)Check Valve
(3)Magnet
(4)Impeller
(5)Pump Cover
(6)Fuel Inlet Port
(7)Bearing
(8)Housing
(9)Armature
(10)Choke Coil

The fuel pump is an electric pump that is controlled by the powertrain control module through the fuel pump relay. When the PCM commands the fuel pump to operate an impeller is driven by an electric motor in the pump assembly. The pump impeller causes the fuel in the tank to be drawn into the fuel pump inlet port. The fuel is then pumped out under pressure through the fuel feed pipe and hoses to the fuel rail and the fuel injectors. The fuel pressure is maintained when the fuel pump is not running by a pressure control valve located within the pump. Excess fuel is returned to the fuel tank by the fuel return pipe and hoses. The fuel pump is located in the fuel tank and is a part of the fuel sender assembly. The fuel sender assembly has to be disassembled in order to inspect or replace the fuel pump.

Fuel Pump Strainer

The fuel pump strainer attaches to the lower end of the fuel sender assembly at the inlet port of the fuel pump. The fuel pump strainer is made of woven plastic. The function of the fuel pump strainer is to filter contaminants and to wick fuel. The fuel pump strainer is self-cleaning and normally requires no maintenance.

Fuel Filter

The fuel filter is located in the fuel tank and is part of the fuel sender assembly. The filter element is made of paper and is designed to trap particles in the fuel that may damage the fuel injection system. The fuel sender assembly has to be removed for inspection or replacement of the fuel filter.

Quick Connect Fittings

Quick connect style fuel fittings provide a simplified means of installing and connecting fuel system components. Depending on the vehicle model, there are two types of quick connect fittings. Different types of fittings are used at different locations in the fuel system. Each type of quick connect fitting consists of a unique female connector and a compatible male fuel pipe end. O-rings located inside of the female connector provide a leak proof seal. Integral locking tabs or fingers hold the quick connect fittings together. A special tool is used to service the quick connect fittings.

Fuel Feed and Fuel Return Pipes and Hoses

The fuel feed and return pipes and hoses carry the fuel from the fuel tank to the throttle body and back to the fuel tank. These pipes and hoses are attached to the underbody of the vehicle and should be inspected periodically for kinks or dents that could restrict the fuel flow.

Fuel Vapor Pipe and Hoses

The fuel vapor pipe and hoses carry the fuel vapors from the fuel tank to the evaporative emission canister located in the engine compartment. The fuel vapors are stored in the canister when the engine is not running. When the engine is running at the normal operating temperature and the accelerator pedal is depressed, the powertrain control module will command the evaporative emission canister purge valve to open and allow the stored fuel vapors to be purged into the intake manifold where they will be burned in the combustion process. For a more detailed explanation of the evaporative emission control system refer to the EVAP Control System section.

Accelerator Controls


Object Number: 55738  Size: SH
(1)Cable Free Travel (End Play)
(2)Throttle Lever
(3)Accelerator Cable
(4)Adjusting Nut
(5)Locknut

The accelerator control system is cable-operated. When the accelerator pedal is depressed, the cable pulls the throttle lever open (increasing the throttle plate opening). When the accelerator pedal is released, the throttle lever spring pressure returns the throttle lever to the idle position (decreasing the throttle plate opening).

Accelerator Pedal


Object Number: 55713  Size: SH
(1)Accelerator Cable
(2)Accelerator Pedal Assembly
(3)C-Clip
(4)Pedal Mounting Bracket

The accelerator cable must move smoothly and freely throughout the full range of the throttle opening. Proper adjustment of the accelerator cable is critical to safe vehicle operation.