GM Service Manual Online
For 1990-2009 cars only

    Object Number: 144043  Size: SH
  1. Inspect the solenoid wiring harness O-ring. Replace the O-ring if necessary.
  2. Install the solenoid wiring harness into the transaxle case.
  3. Notice: Use the correct fastener in the correct location. Replacement fasteners must be the correct part number for that application. Fasteners requiring replacement or fasteners requiring the use of thread locking compound or sealant are identified in the service procedure. Do not use paints, lubricants, or corrosion inhibitors on fasteners or fastener joint surfaces unless specified. These coatings affect fastener torque and joint clamping force and may damage the fastener. Use the correct tightening sequence and specifications when installing fasteners in order to avoid damage to parts and systems.

  4. Install the solenoid wiring harness retaining plate and nut.
  5. Tighten
    Tighten the solenoid wiring harness retaining plate nut to 4 N·m (35 lb in).

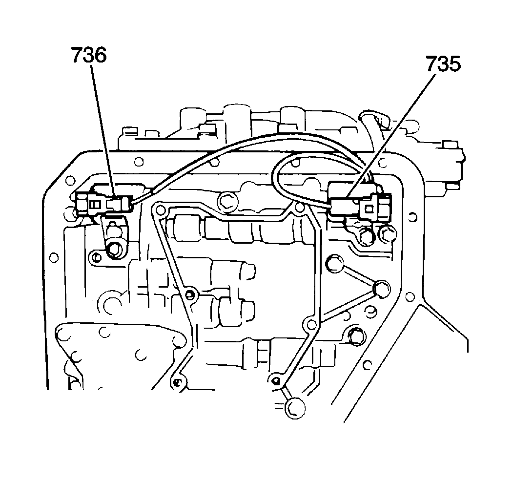
  6. Install the direct clutch solenoid connector (735) and the second brake solenoid electrical connector (736) into the transaxle case.