GM Service Manual Online
For 1990-2009 cars only

Tools Required

    • J 26900-5 Vernier Caliper
    • J 23327 Clutch Spring Compressor
    • J 25018-A Clutch Spring Compressor Adapter
    • J 36850 Transjel® Transmission Assembly Lubricant

Removal Procedure


    Object Number: 143442  Size: SH
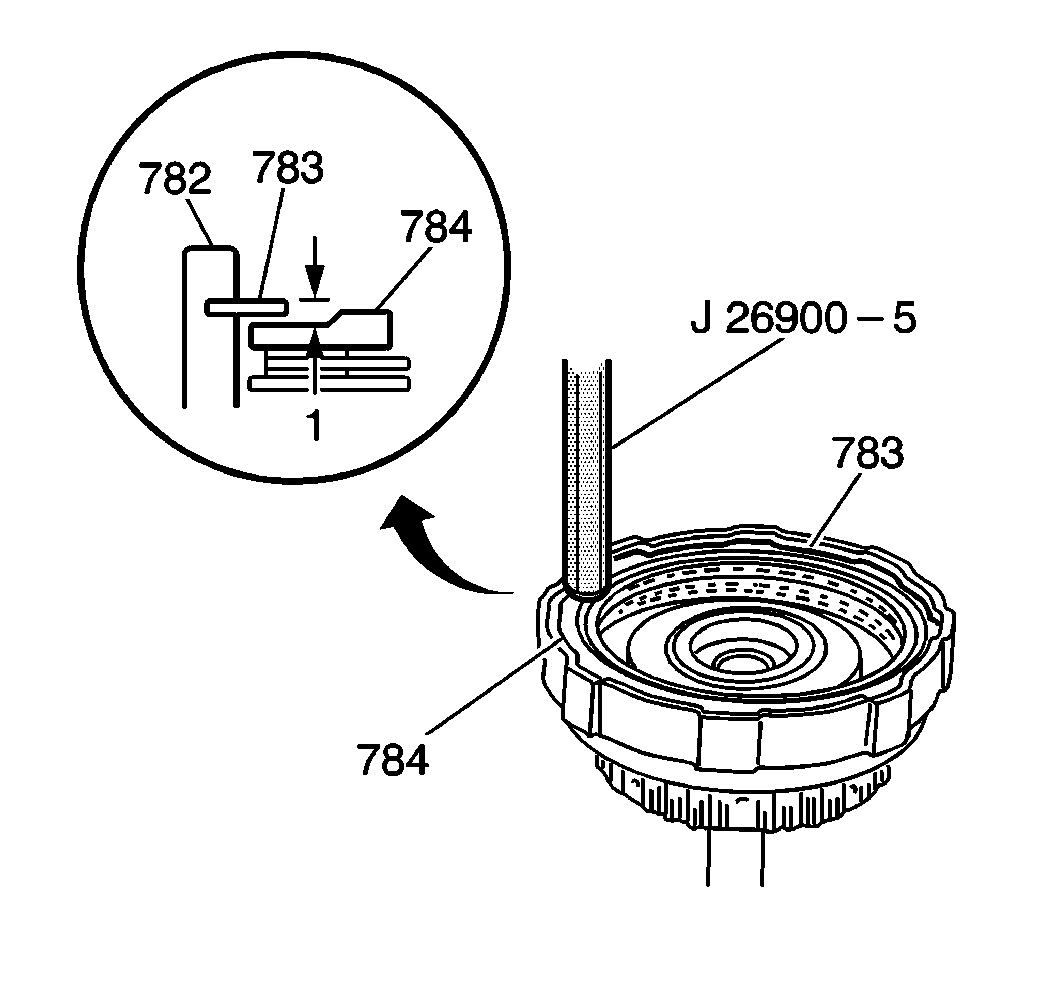
  1. Measure the clearance within the forward clutch drum (782) by using a J 26900-5 . Measure the height between the forward clutch plate snap ring (783) and the forward clutch flange (784). If this height, indicated in the illustration by the number 1, measures 2.01-2.68 mm (0.079-0.105 in), then the forward clutch clearance is within specification. If the measurement is larger than the specification, replace the forward clutch discs or the plates.
  2. Remove the input shaft seal rings.
  3. Remove the direct clutch washer.
  4. Remove the input shaft bearing and the bearing races.
  5. Remove the forward clutch plate snap ring (783).

  6. Object Number: 143443  Size: SH
  7. Remove the forward clutch flange (784) from the forward clutch drum (782).
  8. Remove the clutch discs (786) and plates (785).

  9. Object Number: 143444  Size: SH

    Caution: Use a screwdriver in order to remove the snap ring. Keep your fingers and hands away from the hydraulic press arbor and from the clutch return spring seat. Once you have removed the snap ring, release the hydraulic press slowly. Failure to follow this precaution may result in serious injury.

    Important: In the following step, be careful not to compress the forward clutch spring seat more than is necessary in order to remove the clutch plate snap ring.

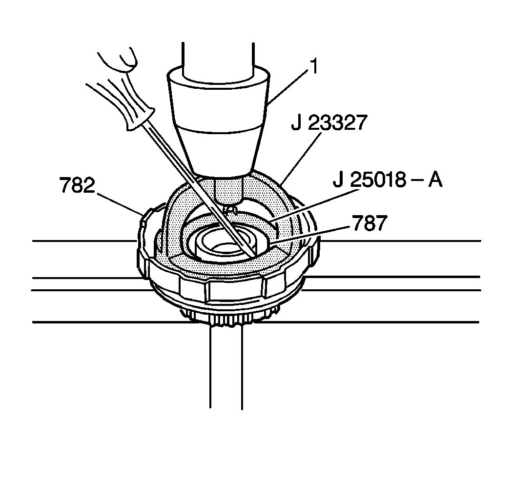
  10. Install a J 23327 with a J 25018-A . Place the forward clutch drum (782) in a hydraulic press, indicated in the illustration by the number 1. Slowly compress the forward clutch spring seat until you are able to remove the clutch plate snap ring (787).
  11. Remove the forward clutch spring seat snap ring (787).

  12. Object Number: 143448  Size: SH
  13. Remove the forward clutch spring seat (788). Remove the return spring assembly (789) from the forward clutch drum (782).
  14. Locate the forward clutch piston (791).

  15. Object Number: 143445  Size: SH
  16. Remove the forward clutch piston from the forward clutch drum (782) by gripping the input shaft (776) and slowly applying low pressure compressed air into the drum fluid inlet hole, as shown in the illustration. If the piston does not pop out, carefully lift the piston out with needle nose pliers.
  17. Remove the forward clutch piston outer seal from the drum. Remove the forward clutch piston inner seal from the piston.

  18. Object Number: 143448  Size: SH
  19. Use low pressure compressed air in order to inspect the forward clutch piston check valve for free movement and for leakage. If leaks exist, replace the forward clutch piston .
  20. Inspect the forward clutch drum (782) for the following conditions:
  21. • Burrs
    • Scars
    • Other damage

    Object Number: 143449  Size: SH
  22. Inspect the input shaft (776) and the seal ring grooves (777) for burrs or sharp edges.

Installation Procedure


    Object Number: 143448  Size: SH

    Important: Do not twist, cut or tear the seals during the following assembly procedure.

  1. Install a new inner seal to the forward clutch piston (791). Lubricate with J 36850 .
  2. Install a new outer seal to the forward clutch piston (791). Lubricate with J 36850 .
  3. Install the forward clutch piston (791) into the forward clutch drum (782).
  4. Install 18 forward clutch piston return springs (789). Install the forward clutch return spring seat (788).
  5. Notice: Securely position the forward clutch snap ring into the four projections of the forward clutch spring seat. Do not compress the return springs more than necessary in order to install the forward clutch spring seat snap ring.

  6. Using a J 23327 with the J 25018-A , place the forward clutch drum in a hydraulic press. Slowly compress the forward clutch spring seat until you are able to fit the forward clutch plate snap ring.
  7. Install the forward clutch spring seat snap ring. Securely seal the snap ring in the four projections of the forward clutch return spring seat.

  8. Object Number: 143443  Size: SH

    Notice: Whenever you install new clutch discs in the firsts-reverse brake, the forward clutch or the direct clutch assemblies, you must first soak these discs for two hours in Dexron®-III automatic transmission fluid GM P/N 12341643, or equivalent. This causes the clutch material on the discs to permeate with the fluid. This will aid in ease of assembly and prevent clutch overheating on first time engagement.

  9. Install three clutch plates (785) and three clutch discs (786) into the forward clutch drum (782) in an alternating sequence, beginning with a clutch plate (785).
  10. Install a forward clutch flange (784) into the forward clutch drum (782).
  11. Install the forward clutch plate snap ring (783) into the forward clutch drum (782).

  12. Object Number: 143442  Size: SH
  13. Use a J 26900-5 in order to determine the clearance of the forward clutch drum (782). Measure the height between the forward clutch plate snap ring (783) and the forward clutch flange (784). If this height, indicated in the illustration by the number 1, measures 2.01-2.68 mm (0.079-0.105 in), then the forward clutch clearance is within specification.
  14. If the measurement falls out of specification with the new forward clutch discs and plates installed, install a flange of a different thickness. Two sizes of clutch flanges are available:
  15. • Thickness 3.00 mm (0.118 in)
    • Thickness 3.37 mm (0.132 in)
  16. Inspect the forward clutch piston for operation by slowly applying low pressure compressed air through the drum fluid inlet hole. The piston should return to its original position after you release the air pressure.

  17. Object Number: 143449  Size: SH
  18. Install the input shaft seal rings (777). Lubricate with J 36850 .

  19. Object Number: 143451  Size: SH
  20. Align the inner teeth of the direct clutch discs.
  21. Install the inner direct clutch washer (7147) to the direct clutch assembly (793), with the grooved side facing outward, as shown in the illustration. Lubricate with J 36850 .

  22. Object Number: 143453  Size: SH
  23. Install the direct clutch assembly (793) onto the input shaft (776) and onto the forward clutch assembly (781). Confirm that the grooves between the teeth of the direct clutch discs align with the splines of the forward clutch drum. Twist the direct clutch assembly while working downward onto the forward clutch drum.
  24. Inspect the direct clutch drum (793) for proper installation by moving the drum up and down gently by hand. If you have correctly assembled the direct clutch, you will hear a click sound from the direct clutch drum. If you do not detect a clicking sound, you may have incorrectly installed the direct clutch drum. If so, remove the direct clutch drum (793) from the forward clutch drum (781) and input shaft (776). Reposition as necessary.

  25. Object Number: 143461  Size: SH
  26. Lubricate the front planetary ring gear outer bearing (7006) and lubricate the races (7005, 7007) with J 36850 .
  27. Install the following parts in the order specified:
  28. 19.1. Number 2 race (7007) -- outside diameter 35.8 mm (1.40 in), flange side down
    19.2. Front planetary ring gear outer bearing (7006)
    19.3. Number 1 race (7005) -- outside diameter 37.9 mm (1.49 in), flange side down

    Object Number: 143458  Size: SH
  29. Align the inner teeth of the forward clutch discs. Lubricate the output shaft seal ring (7076) with J 36850 . Install the ring on the output shaft (7077).

  30. Object Number: 143287  Size: SH
  31. Install the input shaft (776) and forward/direct clutch assembly (781/793), by lowering the assembly onto the front planetary ring gear. Be certain that the grooves between the teeth of the forward clutch discs align with the splines of the front planetary ring gear. Twist the assembly while working downward onto the ring gear.
  32. Inspect the input shaft and the forward/direct clutch assembly for proper installation by moving the assembly up and down gently by hand. If you assembled the parts correctly, you will hear a click sound from the forward clutch drum. If you do not hear the clicking sound, you may have incorrectly installed the input shaft or the forward/direct clutch assemblies. If so, remove the input shaft and the forward/direct clutch assembly from the front planetary ring gear. Reposition as necessary.

  33. Object Number: 143468  Size: SH
  34. Measure the input shaft flange depth by placing a straightedge across the front of the transaxle case and measure the distance between the top of the input shaft flange and the bottom of the straightedge with a J 26900-5 . The measurement, indicated in the illustration as the number 1, must fall within 49.82-51.06 mm (1.962-2.010 in). With the exception of the direct clutch assembly, a measurement that is within specification confirms that all components are installed correctly. If the measurement does not fall within the specification, remove the components and install or reposition these components correctly. Measure the input shaft flange depth again in order to verify correct installation.

  35. Object Number: 143286  Size: SH
  36. Lubricate the intermediate band anchor pin (750) with J 36850 .
  37. Install the intermediate band anchor pin (750) in the direct clutch assembly (793) by aligning the strap in the intermediate band with the case anchor pin hole. Insert the anchor pin.

  38. Object Number: 143473  Size: SH
  39. Confirm that the piston rod (752) is engaged into the intermediate band (751).

  40. Object Number: 143476  Size: SH
  41. Install a new intermediate band cover gasket (749).
  42. Install the intermediate band cover (747). Attach the cover with four bolts.
  43. Tighten
    Tighten the intermediate band cover bolts to 9 N·m (80 lb in).