GM Service Manual Online
For 1990-2009 cars only

    Object Number: 143264  Size: SH
  1. Remove the TV cable (1)  from the throttle valve cam (2) .
  2. Remove the TV cable assembly from the transaxle case.

  3. Object Number: 144043  Size: SH
  4. Remove the direct clutch solenoid connector (735).
  5. Remove the second brake solenoid connector (736).

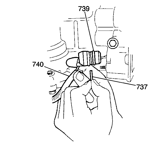
  6. Object Number: 143266  Size: SH
  7. Remove the solenoid wiring harness retaining plate (737) from the solenoid wiring harness (740).

  8. Object Number: 143267  Size: SH
  9. Remove the solenoid wiring harness (740) from the transaxle case. The solenoid wiring harness bracket (708) remains attached to the solenoid wiring harness.

  10. Object Number: 175623  Size: SH
  11. Remove the lower valve body bolts (7099).
  12. Remove the valve body assembly from the transaxle case.

  13. Object Number: 143274  Size: SH
  14. Cover the accumulators with a clean cloth and apply low pressure compressed air slowly to the fluid passages. The air pressure will force the forward clutch accumulator piston (1) and the second brake accumulator piston (2) out of their respective case bores.
  15. Inspect the following components:
  16. • The accumulator pistons for cracks, scarring or damage
    • The accumulator springs for weakness, cracks or damage
    • The piston seals for cuts or damage
    • The accumulator case bores for scars, nicks or pitting