GM Service Manual Online
For 1990-2009 cars only

Tools Required

J 35534 Piston Cover Depressor


    Object Number: 143476  Size: SH
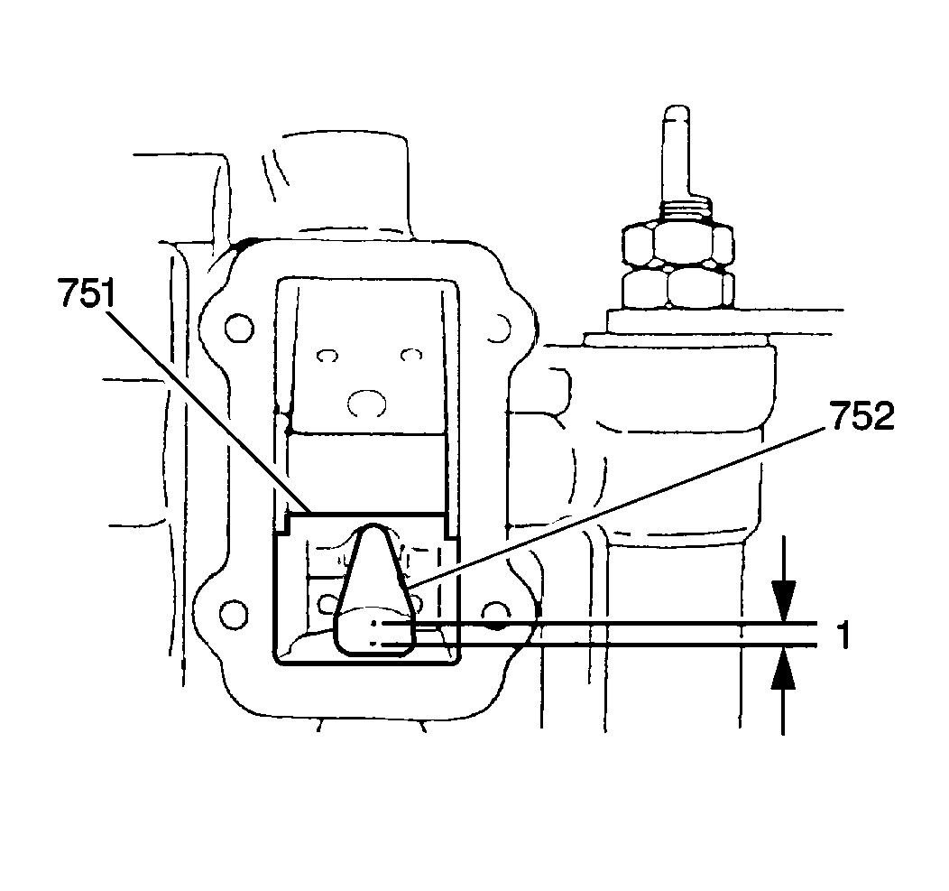
  1. Remove the intermediate band cover (747) and the band cover gasket (749).

  2. Object Number: 143276  Size: SH
  3. Scribe a mark on the piston rod (752).

  4. Object Number: 143277  Size: SH
  5. Apply compressed air into the intermediate servo fluid pressure passage, indicated in the illustration by the number 1.

  6. Object Number: 143276  Size: SH
  7. Scribe a second mark on the piston rod. Using a vernier caliper, measure the length of the piston rod stroke, indicated in the illustration by the number 1.
  8. Specification
    Confirm that the measurement of the piston rod stroke is 1.5-3.0 mm (0.06-0.11 in).


    Object Number: 143280  Size: SH
  9. If the measurement is out of specification replace the intermediate band, or replace the piston rod (752) with a rod of a different length. The piston rod is available in two different lengths:
  10. • The 121.3 mm (4.77 in) piston rod is unmarked
    • The 122.7 mm (4.83 in) piston rod is marked, as indicated in the illustration

    Object Number: 143281  Size: SH
  11. Using the fluid pan bolts (723) which you previously removed, install a J 35534 .
  12. Tighten the J 35534 adjustment bolt sufficiently so that you can remove the servo cover snap ring (763).
  13. Remove the J 35534 .

  14. Object Number: 143428  Size: SH
  15. Remove the servo cover (762).
  16. Remove the servo piston (758).
  17. Remove the piston spring.
  18. Remove the piston rod.
  19. Remove the piston rod spring.
  20. Remove the piston rod washer.
  21. Inspect the following parts:
  22. • All seals for cuts or damage
    • The servo piston and the servo piston cover for cracks, scarring or damage
    • The springs for weakness, cracks or damage