GM Service Manual Online
For 1990-2009 cars only

    Object Number: 143290  Size: SH
  1. Remove the front planetary ring gear outer bearing (7006) and the two front planetary ring gear races (7005, 7007).
  2. Remove the front planetary ring gear assembly (7008).

  3. Object Number: 143418  Size: SH
  4. Remove the front planetary carrier inner bearing (7013) and the bearing races.

  5. Object Number: 143416  Size: SH
  6. Remove the front planetary carrier assembly (7015) from the sun gear input drum.

  7. Object Number: 143415  Size: SH
  8. Remove the front planetary carrier bearing (7017) and race (7016) from the sun gear (7019).

  9. Object Number: 143413  Size: SH
  10. Remove the sun gear input drum (7020) from the rear planetary carrier (7033).
  11. Remove the sun gear pin from the sun gear (7019).
  12. Remove the planetary thrust washer and the rear planetary outer thrust washer from the rear planetary carrier.

  13. Object Number: 143294  Size: SH
  14. Remove the outer one-way clutch race snap ring (7025). Be careful not to damage the inside of the transaxle case.

  15. Object Number: 143296  Size: SH
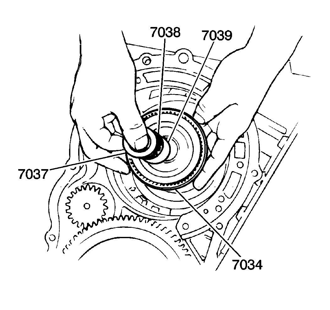
  16. Remove the one-way clutch assembly (7029) and the rear planetary carrier assembly (7033).
  17. Remove the inner (number 1) one-way clutch race snap ring.

  18. Object Number: 143297  Size: SH
  19. Remove the following from the rear planetary ring gear assembly:
  20. • The rear planetary ring gear (7034)
    • The rear planetary ring gear bearing (7038)
    • The outer (7037) and the inner (7039) rear planetary ring gear races
    • The rear planetary inner thrust washer