GM Service Manual Online
For 1990-2009 cars only

Tools Required

    • J 22912-01 Bearing Split Plate
    • J 35539 Output Shaft Remover and Installer

Removal Procedure

    Notice: When you remove damaged or worn output bearings from the output shaft, you must replace the old bearings with new bearings. Under no circumstances may you repair or reinstall worn or damaged bearings.

  1. Using J 22912-01 remove the output shaft bearing from the output shaft. Place the output shaft in a hydraulic press and slowly press the output shaft bearing off of the output shaft.
  2. Using J 22912-01 remove the outside output shaft bearing from the reduction drive gear. Place the reduction drive gear in a hydraulic press and slowly press the outside output shaft bearing from the reduction drive gear
  3. Inspect the following parts:
  4. • The output shaft for flat spots or overheating
    • The parking gear for cracks or damage
    • The reduction drive gear for damaged teeth

Installation Procedure


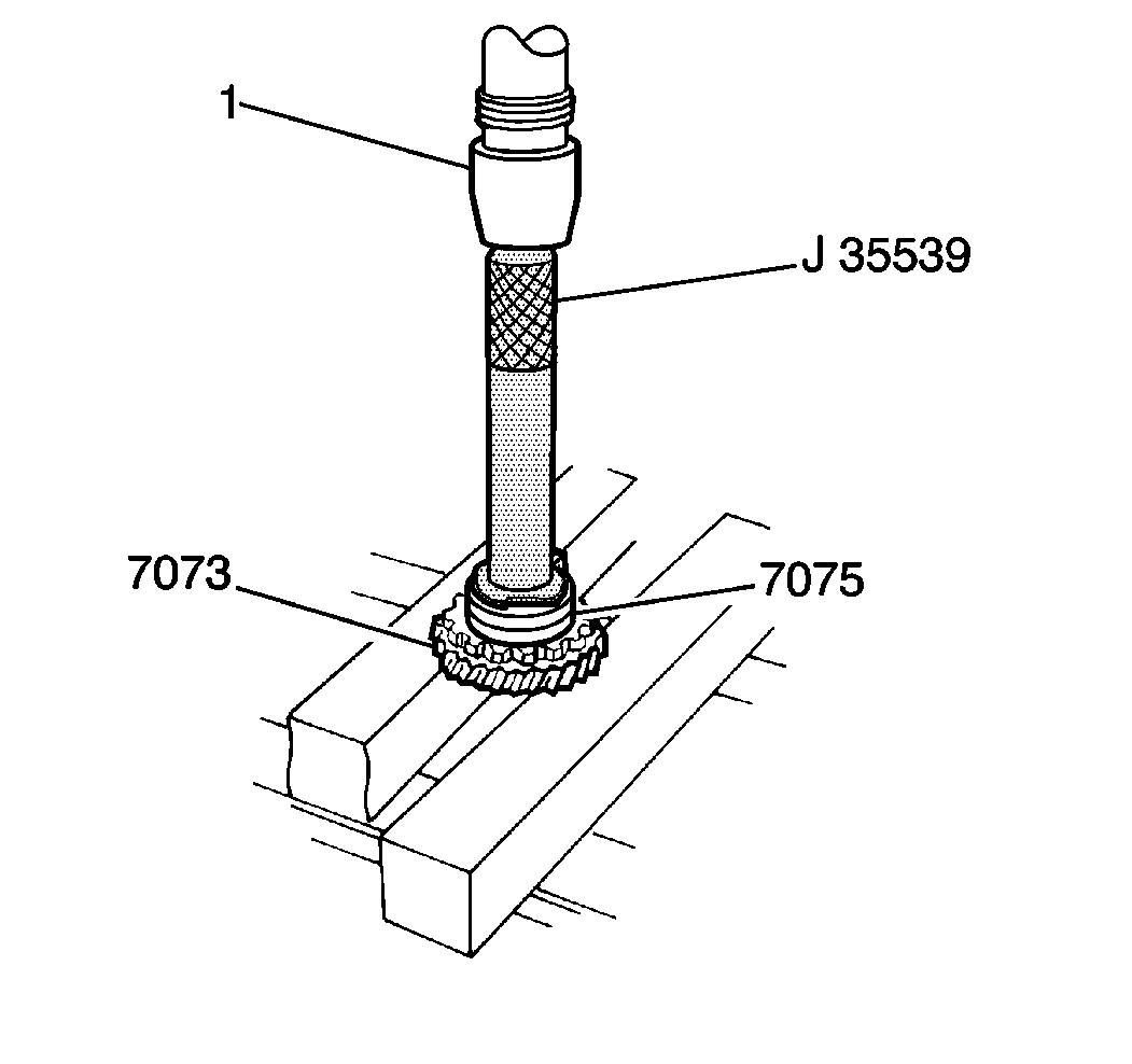
    Object Number: 143353  Size: SH
  1. Install a new (inner) output shaft bearing (7075) on the reduction drive gear (7073). Place the output shaft in a hydraulic press, indicated in the illustration by the number 1, and position a new bearing over the reduction drive gear. Using the J 35539 , press the new bearing onto the output shaft reduction drive gear evenly.

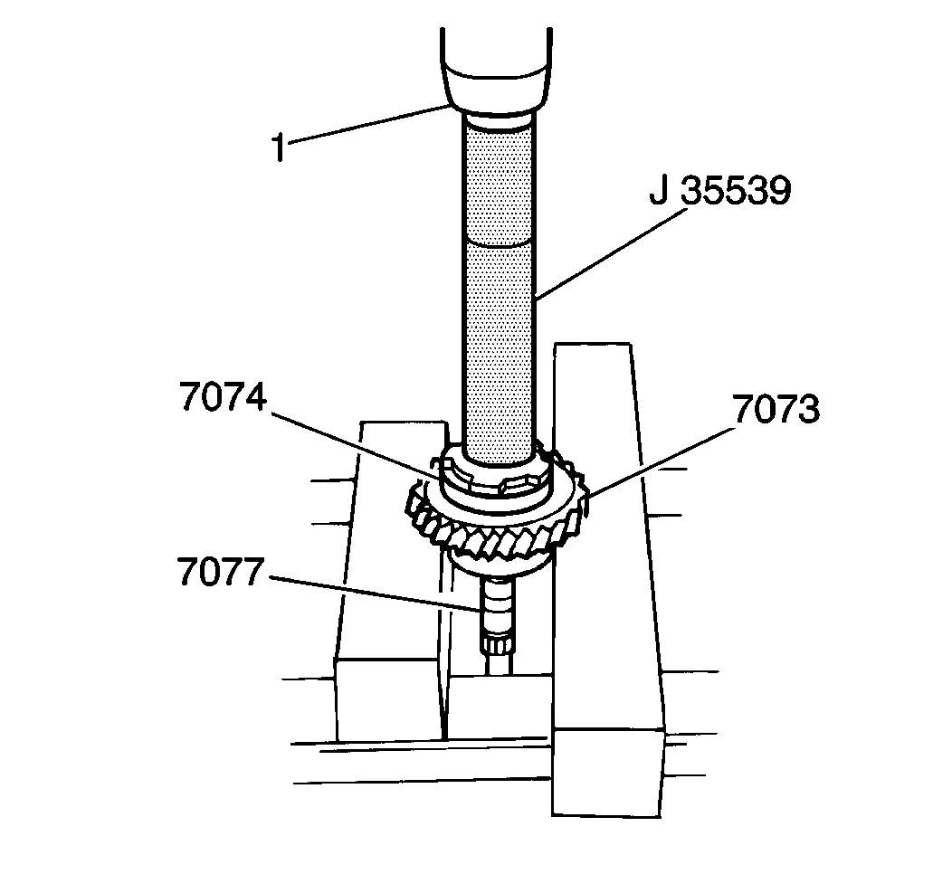
  2. Object Number: 143356  Size: SH
  3. Install a new (outer) output shaft bearing (7074) on the reduction drive gear (7073). Place the output shaft (7077) in a hydraulic press, indicated in the illustration by the number 1, and position a new bearing over the reduction drive gear. Using the J 35539 , press the new bearing onto the output shaft reduction drive gear evenly.