GM Service Manual Online
For 1990-2009 cars only

Tools Required

J 36850 Transjel® Transmission Assembly Lubricant

Removal Procedure

Tools Required

J 34673 Flat Gage Bar


    Object Number: 144034  Size: SH
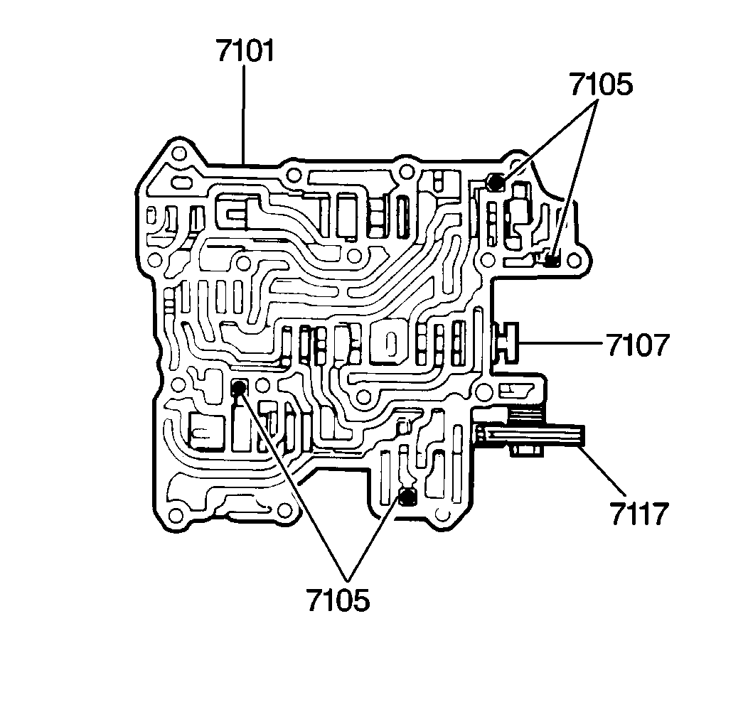
  1. Remove four check balls (7105) from the upper valve body (7101).

  2. Object Number: 144054  Size: SH
  3. Remove the following parts from the upper valve body:
  4. • The number 3 valve body key (7108)
    • The pressure regulator valve sleeve (7109)
    • The primary regulator valve plunger (7110)
    • The plate washer (7111)
    • The primary regulator valve spring (7112)
    • The primary regulator valve (7113)

    Object Number: 144057  Size: SH
  5. Remove the following parts from the upper valve body:
  6. • The neutral drain nozzle (7106)
    • The manual valve (7107)
    • The throttle valve cam bolt (7114), the lock washer (7115), and the washer (7116)
    • The throttle cam (7117), the throttle valve cam bushing (7118), and the throttle valve cam spring (7119)
    • The downshift plug (7120)
    • The number 2 throttle valve spring (7121)
    • The throttle valve (7122)
    • The E-clip retainer (7123) from the throttle valve
    • The number 1 throttle valve spring (7124)
  7. Clean all parts thoroughly with solvent. Air dry.

  8. Object Number: 144034  Size: SH
  9. Inspect the upper valve body for the following conditions:
  10. • Valve bores for distortion or damage
    • Fluid passages for blockage
    • Surface warp. Place a J 34673 across the upper valve body mating surface. Rotate the tool every 30 degrees checking for surface warp. If upper valve body surface warp exists, replace the upper valve body.
  11. Inspect all valves, springs and attaching parts for unusual wear or damage. Replace as necessary.

Installation Procedure

    Notice: Use the correct fastener in the correct location. Replacement fasteners must be the correct part number for that application. Fasteners requiring replacement or fasteners requiring the use of thread locking compound or sealant are identified in the service procedure. Do not use paints, lubricants, or corrosion inhibitors on fasteners or fastener joint surfaces unless specified. These coatings affect fastener torque and joint clamping force and may damage the fastener. Use the correct tightening sequence and specifications when installing fasteners in order to avoid damage to parts and systems.


    Object Number: 144057  Size: SH

    Important: Apply a thin coat of J 36850 to all parts prior to assembly.

  1. Install the following parts into the upper valve body:
  2. • The number 1 throttle valve spring (7124)
    • The E-clip retainer (7123) to the throttle valve
    • The throttle valve (7122)
    • The number 2 throttle valve spring (7121)
    • The downshift plug (7120)
    • The throttle cam (7117), the throttle valve cam bushing (7118), and the throttle valve cam spring (7119). Secure the throttle valve cam with:
       - The throttle cam washer (7116)
       - The throttle cam lock washer (7115)
       - The throttle cam bolt (7114)

    Tighten
    Tighten the throttle valve cam bolt to 4 N·m (35 lb in).

    • The manual valve (7107)
    • The neutral drain nozzle (7106)

    Object Number: 144054  Size: SH
  3. Install the following parts into the upper valve body:
  4. • The primary regulator valve (7113)
    • The primary regulator valve spring (7112)
    • The plate washer (7111)
    • The primary regulator valve plunger (7110)
    • The pressure regulator valve sleeve (7109)
    • The number 3 valve body key (7108)

    Object Number: 144034  Size: SH
  5. Install four check balls (7105) into the upper valve body.
  6. Inspect all valves for smooth operation.