GM Service Manual Online
For 1990-2009 cars only

    Object Number: 144037  Size: SH

    Important: You must install the gaskets and the spacer plate in the correct position for the fluid to flow through the fluid passages. Misplacement of the gaskets or the spacer plate will block the fluid passages, and shift failure will occur. Use caution not to tear or damage the valve body gaskets during installation.

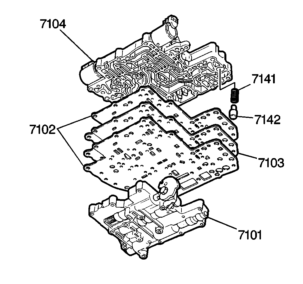
  1. Install the new valve body gaskets (7102), separated by a spacer plate (7103) onto the lower valve body (7104).
  2. Install the lower valve body onto the upper valve body (7101). Carefully align both halves with their common bolt holes. Confirm that the cooler bypass valve and spring (7142, 7141) remain in the lower valve body
  3. Carefully turn the valve body assembly over, so that the upper valve body (7101) is on the top.

  4. Object Number: 144039  Size: SH
  5. Install 16 upper valve body bolts in the following order:
  6. 4.1. Install two reamer bolts (positioning bolts) designated in the illustration by the number 4. Finger tighten only.
    4.2. Install the 16 bolts (designations 1, 2, 3 and 4) in the following order. Finger tighten only.
       • Bolt 4 - Reamer bolt - 2 pieces
       • Bolt 3 - 44.0 mm (1.73 in) - 2 pieces
       • Bolt 2 - 38.0 mm (1.49 in) - 6 pieces
       • Bolt 1 - 29.5 mm (1.16 in) - 6 pieces

    Notice: Use the correct fastener in the correct location. Replacement fasteners must be the correct part number for that application. Fasteners requiring replacement or fasteners requiring the use of thread locking compound or sealant are identified in the service procedure. Do not use paints, lubricants, or corrosion inhibitors on fasteners or fastener joint surfaces unless specified. These coatings affect fastener torque and joint clamping force and may damage the fastener. Use the correct tightening sequence and specifications when installing fasteners in order to avoid damage to parts and systems.


    Object Number: 154196  Size: SH

    Notice: Torque sequence and specification is very important to valve body operation. If bolts are torqued at random, valve bores may become distorted and inhibit valve operation. DO NOT use air powered tools when assembling the valve bodies.

  7. Tighten the valve body bolts.
  8. Tighten
    Tighten all 16 bolts in the order shown to 6 N·m (53 lb in).


    Object Number: 144040  Size: SH

    Notice: When you install the valve body to the case, confirm that the accumulators and the springs are in their correct positions and that all valve body bolts are installed according to length and position. Do not use air powered tools when you install the valve body assembly.

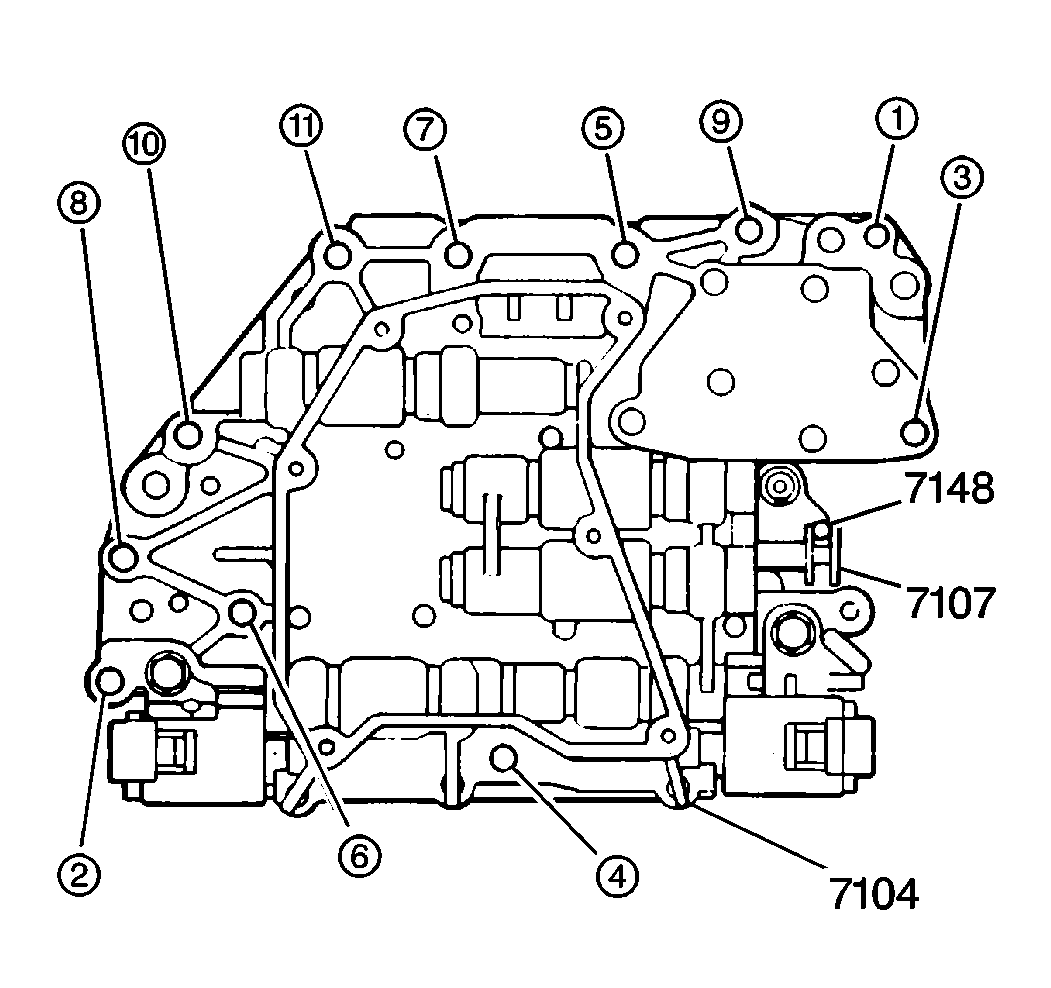
  9. Install the valve body assembly (7104) to the transaxle case. Align the manual valve (7107) with the shift lever pin (7148).
  10. Install 11 lower valve body-to-case bolts (designations 1, 2, 3, 4 and 5) in the following order. Finger tighten only.
  11. • Bolt 4 - 47 mm (1.85 in) - 1 piece
    • Bolt 3 - 35 mm (1.38 in) - 7 pieces
    • Bolt 1 - Reamer bolt: 32 mm (1.26 in) - 1 piece
    • Bolt 2 - Reamer bolt: 25 mm (0.98 in) - 1 piece
    • Bolt 5 - 25 mm (0.98 in) - 1 piece

    Object Number: 154198  Size: SH
  12. Tighten the body-to-case bolts.
  13. Tighten

        • Tighten the reamer bolts, indicated by the numbers 1 and 2 in the illustration, to 12 N·m (106 lb in).
        • Tighten the remaining lower valve body bolts in the order specified in the illustration, to 12 N·m (106 lb in).

    Object Number: 144042  Size: SH
  14. Install the TV cable assembly (734) to the transaxle case.
  15. Install the TV cable to the throttle valve cam (7117).