GM Service Manual Online
For 1990-2009 cars only

Tools Required

    • J 26900-5 Vernier Caliper
    • J 3289-20 Holding Fixture Base

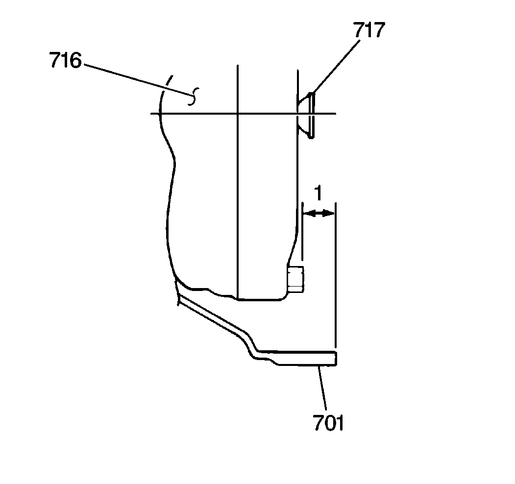
  1. Object Number: 144052  Size: SH
  2. Inspect the torque converter (716) and replace the torque converter if any of the following conditions exist:
  3. • Evidence of damage to the pump assembly
    • Metal particles found after flushing the cooler and cooler pipes
    • External leaks in the hub weld area
    • Damage to the converter pilot cup (717), or poor fitting into the crankshaft
    • Scoring or damage to the converter hub
    • Internal damage to the stator
    • Contamination from engine coolant
    • An odor or a discoloration in the fluid
    • No evidence of metal or clutch material
    • No external damage
    • Damaged converter bolt threads. Refer to Thread Damage Repair in Engine Mechanical

    Important: We do not recommend flushing the torque converter. Drain out as much fluid as possible before installation.

  4. Install the torque converter onto the input shaft. Use caution not to damage the fluid pump body fluid seal.
  5. Measure the distance between the outer edge of the transaxle case housing (701) and the torque converter flange nut. This distance is indicated in the illustration by the number 1. Place a straightedge across the transaxle case housing and measure the distance using a J 26900-5 . The distance should be more than 21.4 mm (0.85 in). If the distance is less than specified, remove the torque converter and reinstall correctly.
  6. Inspect the torque converter for smooth rotation.
  7. Apply grease to the converter pilot cup (717) prior to installation.

  8. Object Number: 143254  Size: SH
  9. Install the remaining bolts and nuts to the rear case cover (705) using the two solenoid wiring harness brackets (708).
  10. Tighten
    Tighten the rear case cover bolts to 23 N·m (17 lb ft).