GM Service Manual Online
For 1990-2009 cars only

    Object Number: 184791  Size: SH
  1. Lightly depress the clutch pedal (2) until the tension on the clutch cable can be felt.
  2. Measure the free travel of the clutch pedal.
  3. Adjust the free travel of the clutch pedal. Tighten or loosen the clutch cable adjustment nut (3) until the clutch pedal free travel is within specifications.
  4. Measurement
    The free travel specification is 15-20 mm (0.6-0.8 in).


    Object Number: 184794  Size: SH

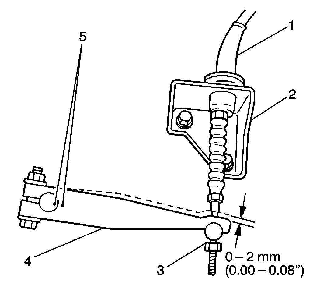
    Important: Align the marks (5) on the clutch release lever to the marks on the release shaft. Remove the clutch release lever from the clutch release shaft. Align the marks. Repeat the free travel adjustment procedure if the marks are not aligned.

  5. Measure the free travel of the clutch release lever.
  6. Measurement
    The free travel specification is 0-2 mm (0.00-0.08 in).