GM Service Manual Online
For 1990-2009 cars only

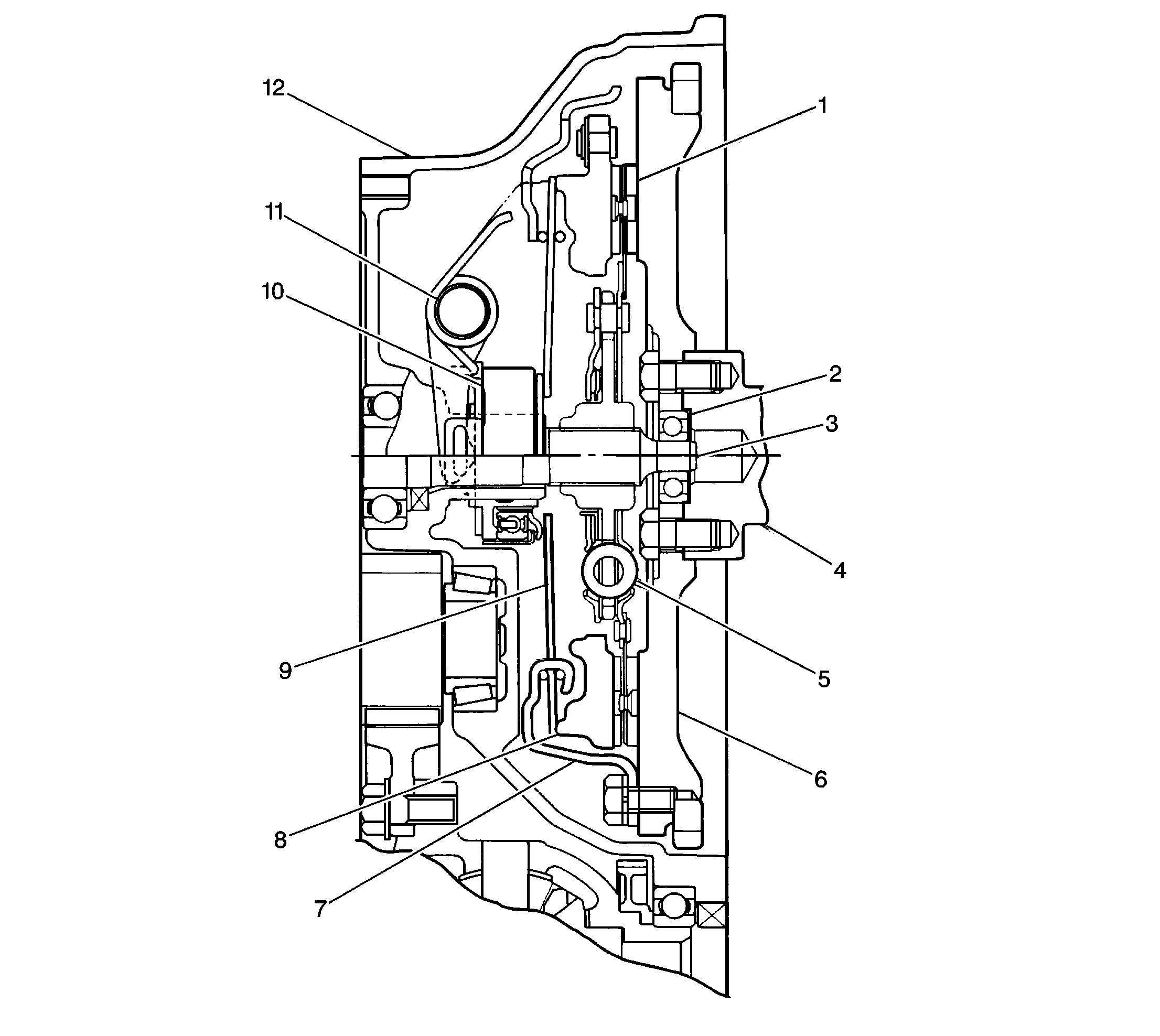
Object Number: 184787  Size: LF
(1)Clutch Disc
(2)Clutch Pilot Bearing
(3)Transaxle Input Shaft
(4)Crankshaft
(5)Torsional Spring
(6)Flywheel
(7)Clutch Pressure Plate Cover
(8)Clutch Pressure Plate
(9)Diaphragm Spring
(10)Clutch Release Bearing
(11)Clutch Release Shaft
(12)Transaxle Right Case

The clutch assembly contains four major components: the clutch disc (1), the clutch pressure plate (8), the clutch release bearing (10), and the flywheel.

The clutch disc (1) is a single, dry disc comprised of asbestos material which is riveted onto a steel plate (like that of a brake pad). The hub of the clutch disc is splined to the transaxle input shaft turning the transaxle input shaft when the clutch disc is engaged. The clutch disc is also fitted with either 4 torsional coil springs (1.0 liter engine) or 6 torsional coil springs (1.3 liter engine) placed between the clutch disc and the clutch hub. These springs help to reduce shock upon clutch engagement.

The clutch pressure plate (8) is bolted to the flywheel and turns with the engine. The clutch disc is fitted between the clutch pressure plate (1) and the flywheel (6). The clutch pressure plate is loaded with a diaphragm type spring which maintains constant pressure against the clutch disc and the flywheel when the clutch is engaged. When the clutch pedal is depressed, the clutch cable pulls on the clutch release arm and turns the clutch release shaft. The clutch release shaft pushes the clutch release bearing (10) into the clutch pressure plate spring levers. This releases pressure against the clutch disc and the flywheel, interrupting engine torque to the transaxle. When the clutch pedal is released, clutch pressure plate spring pressure releases and applies pressure against the clutch disc and the flywheel causing the flywheel to turn the clutch disc and the transaxle input shaft.

Clutch Pedal


Object Number: 184789  Size: MH
(1)CPP Switch Locknut
(2)CPP Switch
(3)Clutch and Brake Pedal Bracket
(4)Clutch Pedal Shaft Bolt
(5)Clutch Pedal Shaft Bushing
(6)Clutch Pedal Shaft Spacer
(7)Clutch Pedal Return Spring
(8)Clutch Pedal Return Bumper
(9)Clutch Pedal Lever
(10)Clutch Pedal
(11)Clutch Pedal Stop Locknut
(12)Clutch Pedal Stop Bolt
(13)Clutch Pedal Return Cushion
(14)Clutch Pedal Shaft Nut

The Clutch Pedal Position (CPP) switch (2) is mounted above the clutch pedal (10) and contacts the clutch pedal lever (9). This switch is incorporated in the starter motor circuit in order to prevent the engine from being started with the clutch engaged or with the transaxle in gear. When the clutch pedal is not depressed, an open in the starter motor circuit exists preventing the starter from operating. When the clutch pedal is depressed, the circuit is closed making the starter motor circuit complete and operational. For diagnosis of the CPP switch refer to Electrical Diagnosis in Engine Electrical.