GM Service Manual Online
For 1990-2009 cars only

Removal Procedure

  1. Turn the gearshift control lever knob counterclockwise in order to remove the knob from the gearshift control lever.
  2. Remove the upper boot of the gearshift control lever.
  3. Remove the following components from the vehicle:
  4. • The 6 console screws
    • The console

    Object Number: 179955  Size: SH
  5. Remove the 4 housing nuts (2) from the housing studs.
  6. Raise and suitably support the vehicle. Refer to Lifting and Jacking the Vehicle in General Information.

  7. Object Number: 179958  Size: SH
  8. Remove the rear-through bolt and the nut (3) from the gearshift control shaft (1).
  9. Remove the following components from the guide plate (4):
  10. • The 4 guide plate bolts (2)
    • The extension rod
  11. Remove the gearshift control lever from the vehicle.
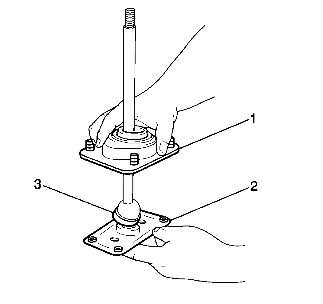
  12. Remove the boot cover from the gearshift control lever.
  13. Remove the lower boot (1).

  14. Object Number: 179963  Size: SH
  15. Remove the following components from the gearshift control lever housing (2):
  16. • The snap ring
    • The gearshift control lever shim
    • The upper seat (1)

    Object Number: 179966  Size: SH
  17. Remove the following components from the guide plate (2):
  18. • The 2 housing-to-guide plate nuts
    • The 2 washers
    • The gearshift control lever housing (1)
  19. Remove the lower seat (3).

Installation Procedure


    Object Number: 179966  Size: SH
  1. Inspect the control lever components for excessive damage.
  2. Replace the components as necessary.

  3. Install the lower seat (3).
  4. Notice: Use the correct fastener in the correct location. Replacement fasteners must be the correct part number for that application. Fasteners requiring replacement or fasteners requiring the use of thread locking compound or sealant are identified in the service procedure. Do not use paints, lubricants, or corrosion inhibitors on fasteners or fastener joint surfaces unless specified. These coatings affect fastener torque and joint clamping force and may damage the fastener. Use the correct tightening sequence and specifications when installing fasteners in order to avoid damage to parts and systems.

  5. Install the gearshift control lever housing (1) to the guide plate (2).
  6. Use the following components in order to secure the gearshift control lever housing (1).

    • The 2 washers
    • The 2 plate nuts

    Tighten
    Tighten the plate nuts to 40 N·m (29 lb ft).


    Object Number: 179963  Size: SH
  7. Install the upper seat (1) and the shim into the gearshift control lever housing.
  8. Install the snap ring in order to retain the upper seat and the shim of the gearshift control lever.

  9. Install the lower boot (1) onto the gearshift control lever.
  10. Install the boot cover onto the gearshift control lever.

  11. Object Number: 179969  Size: SH
  12. Install the gearshift control lever (1) into the vehicle.

  13. Object Number: 179958  Size: SH
  14. Install the extension rod to the guide plate (4).
  15. Use the 4 guide plate bolts (2) in order to secure the extension rod.

    Tighten
    Tighten the guide plate bolts (2) to 10 N·m (89 lb in).

  16. Install the gearshift control shaft to the gearshift control lever.
  17. Install the bolt and the nut in order to retain the gearshift control shaft.

    Tighten
    Tighten the gearshift control shaft bolt and the nut to 20  N·m (15 lb ft).

  18. Lower the vehicle.
  19. Install the 4 housing nuts to the housing studs.
  20. Important: Do not fully tighten the nuts.


    Object Number: 179974  Size: SH
  21. Measure the distance from the gearshift control lever knob (2) to the instrument panel (1) with the gearshift control lever in the NEUTRAL position.
  22. The distance should measure 122 mm (4.8 in).

  23. If the gearshift control lever is not at the correct distance from the instrument panel, move the control lever forward or backward.
  24. Secure the nuts.
  25. Tighten
    Tighten the nuts to 6 N·m (53 lb in).

  26. Measure the vertical play of the gearshift control lever.
  27. The vertical play should be less than 0.2 mm (0.0007 in).

  28. If the vertical play exceeds 0.2 mm (0.0007 in), replace the existing shim with a larger shim. Refer to Transmission Specifications .
  29. Install the console into the vehicle.
  30. Use the 6 screws in order to secure the console.

  31. Install the upper boot to the gearshift control lever.
  32. Apply a light coat of GM P/N 12345493 or of the equivalent to the threaded portion of the gearshift control lever.
  33. Turn the gearshift control lever knob on clockwise in order to install the gearshift control lever knob to the gearshift control lever.