GM Service Manual Online
For 1990-2009 cars only

NOTICE: Vehicles involved in accidents resulting in frame damage, major body or sheet metal damage, or where the steering column has been impacted, may also have a damaged or a misaligned steering column.

Important: Do not service the steering shaft and the column separately. If you find either the shaft or the column to be faulty, replace the unit as an assembly. Refer to Steering Column Replacement .


    Object Number: 355265  Size: SH
  1. Verify that the capsules (1) are securely attached to the steering column. Replace the steering column if the capsules are loose. Refer to Steering Column Replacement .
  2. Inspect the steering column plate (2) for cracks. Replace the steering column if you find cracks. Refer to Steering Column Replacement .

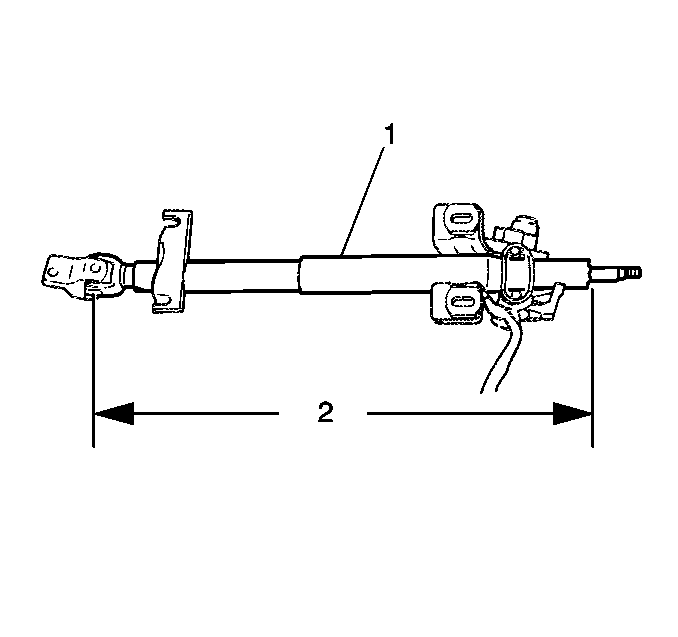
  3. Object Number: 355267  Size: SH
  4. Measure the steering column (1).
  5. Replace the steering column if the length is shorter than 528 mm (20.79 in) (2). Refer to Steering Column Replacement .
  6. Inspect the steering shaft joints and the steering shaft for any of the following damage:
  7. • Cracks
    • Breaks
    • Malfunction
    • Excessive play
  8. Replace the steering column if you find any damage. Refer to Steering Column Replacement .
  9. Verify that the steering shaft operates smoothly. If the operation is not smooth, replace the steering column. Refer to Steering Column Replacement .
  10. Inspect the steering shaft and the column for the following conditions:
  11. • Bends
    • Cracks
    • Any deformation
  12. If you find any defect in the steering shaft or in the column, replace the steering column. Refer to Steering Column Replacement .
  13. Inspect the supplemental inflatable restraint (SIR) system. Refer to Repairs and Inspections Required After a Collision in SIR.