GM Service Manual Online
For 1990-2009 cars only
Makes
🢒
Chevrolet
🢒
1999
🢒
Metro
🢒
Body and Accessories
🢒
Entertainment
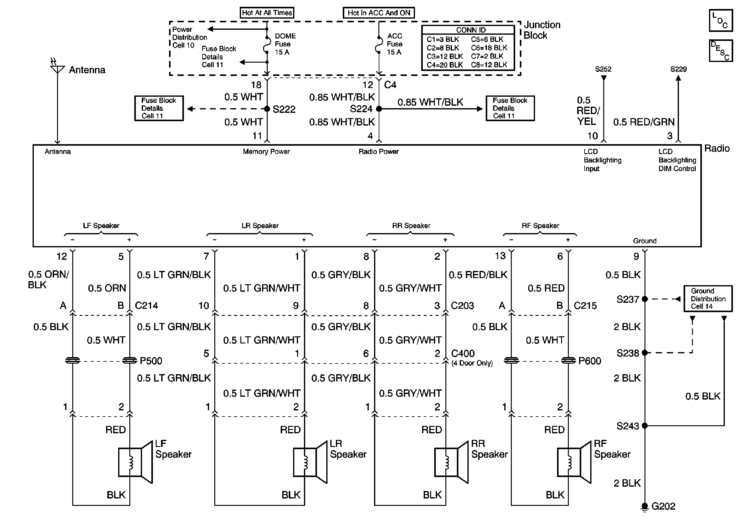
🢒 Radio/Audio System Schematics
Cell 150
Entertainment Components
Radio/Audio System Circuit Description
Fuse Block Schematics
Fuse Block Schematics
Fuse Block Schematics
Ground Distribution Schematics
Ground Distribution Schematics