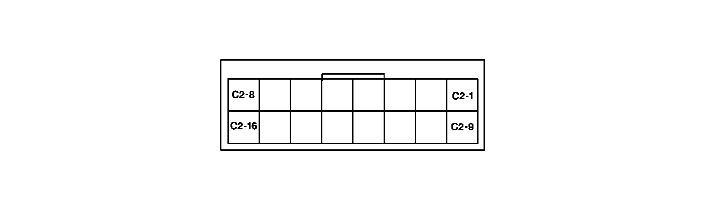
| |||||||
|---|---|---|---|---|---|---|---|
Connector Part Information |
| ||||||
Pin | Wire Color | Function | |||||
1 | BLK/GRN | PCM Ground | |||||
2 | WHT/BLU | Ignition Positive Voltage | |||||
3 | PNK/BLU | EVAP Canister Purge Valve Control | |||||
4 | PNK | HO2S 2 Heater Control | |||||
5 | ORN/GRN | Shift Solenoid-B (A/T only) | |||||
6 | ORN | Shift Solenoid-A (A/T only) | |||||
7 | RED/GRN | EVAP Canister Purge Valve Control | |||||
8-9 | -- | Not Used | |||||
10 | GRY/RED | Ignition Trigger Signal 1-4 Coil | |||||
11 | BRN/BLK | Fuel Injector Control No.3 | |||||
12 | BRN/WHT | Fuel Injector Control No.1 | |||||
13 | BLK/BLU | PCM Ground | |||||
14 | WHT | Memory Power Input | |||||
15 | WHT/BLU | Ignition Positive Voltage | |||||
16 | LT GRN/RED | EVAP Tank Pressure Control Solenoid Valve Control | |||||
17 | PPL/YEL | Malfunction Indicator Lamp (MIL) Control | |||||
18 | PNK/WHT | Fuel Pump Relay Control | |||||
19 | BLU/BLK | Main Relay Control | |||||
20 | BLU | Engine Cooling Fan Relay Control | |||||
21-22 | -- | Not Used | |||||
23 | GRY/BLU | Ignition Trigger Signal 2-3 Coil | |||||
24 | BRN/YEL | Fuel Injector Control No.4 | |||||
25 | BRN/RED | Fuel Injector Control No.2 | |||||
26 | BLK/RED | PCM Ground | |||||
| |||||||
|---|---|---|---|---|---|---|---|
Connector Part Information |
| ||||||
Pin | Wire Color | Function | |||||
1 | LT GRN | Reference Voltage | |||||
2 | ORN | Ignition Reference (CMP Sensor) | |||||
3 | WHT/BLK | Ignition Reference High (CKP Sensor) | |||||
4 | PPL | Vehicle Speed Sensor (VSS) High - A/T | |||||
YEL/GRN | Vehicle Speed Sensor (VSS) - M/T | ||||||
5 | ORN/GRN | Manifold Absolute Pressure (MAP) Sensor Input | |||||
6 | LT GRN/WHT | Throttle Position (TP) Sensor Input | |||||
7 | PNK/BLK | HO2S 1 Heater Control | |||||
8 | YEL | Not Used | |||||
9 | LT GRN/BLK | Sensor Ground | |||||
10 | GRY/WHT | Engine Coolant Temperature (ECT) Sensor Input | |||||
11 | WHT/RED | Ignition Reference Low (CKP Sensor) | |||||
12 | GRY/YEL | Vehicle Speed Sensor (VSS) Low (A/T only) | |||||
13 | RED | HO2S 1 Signal | |||||
14 | GRY | Intake Air Temperature (IAT) Sensor Input | |||||
15 | BLU/WHT | Power Steering Pressure Switch Input | |||||
16 | BLK/YEL | Transmission Range (TR) Switch Input - A/T | |||||
Closed Pedal Position (CPP) Switch - M/T | |||||||
| |||||||
|---|---|---|---|---|---|---|---|
Connector Part Information |
| ||||||
Pin | Wire Color | Function | |||||
1 | -- | Not Used | |||||
2 | |||||||
2 | RED/YEL | Idle Air Control (IAC) Valve | |||||
3 | GRN | 2 Position Signal (A/T only) | |||||
4 | ORN/YEL | N Position Signal (A/T only) | |||||
5 | ORN/BLK | P Position Signal (A/T only) | |||||
6 | BRN | Tachometer (if equipped) | |||||
7-8 | -- | No Used | |||||
9 | BLK/BLU | Ground (with tachometer only) | |||||
10 | YEL | HO2S 2 Signal | |||||
11 | YEL/RED | Fuel Level Sensor Input | |||||
12 | PPL/WHT | Serial Data Output | |||||
13 | -- | Not Used | |||||
14 | GRN/BLU | L Position Signal (A/T only) | |||||
15 | GRN/RED | D Position Signal (A/T only) | |||||
16 | RED | R Position Signal (A/T only) | |||||
17 | GRY | A/C Cut-Out Control | |||||
18 | BRN/WHT | Electrical Load Idle-Up Signal | |||||
19 | BLU/RED | A/C Idle-Up Signal | |||||
20 | BLK/WHT | Ignition Positive Voltage | |||||
21 | LT GRN/YEL | Fuel Tank Pressure Sensor Input | |||||
22 | LT GRN/BLK | Sensor Ground | |||||