GM Service Manual Online
For 1990-2009 cars only

Drive Belt Inspection

  1. Inspect the drive belt for cracks in the belt ribs. If you find cracks, decide if the cracks are serious enough to impair the belt's performance. Replace the belt if the performance is seriously impaired. If any sections of the belt ribs are missing, replace the belt. Refer to the applicable drive belt removal and to the installation procedure below.

  2. Object Number: 354740  Size: SH
  3. Inspect the belt for the proper alignment on the pulleys.

  4. Object Number: 354741  Size: SH
  5. If the drive belt is incorrectly aligned, align the drive belt. Refer to the applicable installation procedure below.
  6. Inspect the drive belt tension. Refer to the applicable installation procedure below.

Power Steering Pump and Compressor Drive Belt Removal Procedure

  1. Raise and support the vehicle. Refer to Lifting and Jacking the Vehicle in General Information.
  2. Remove the right front tire and wheel assembly. Refer to Tire and Wheel Removal and Installation in Tires and Wheels.
  3. Remove 6 push clips and the right front lower splash shield.

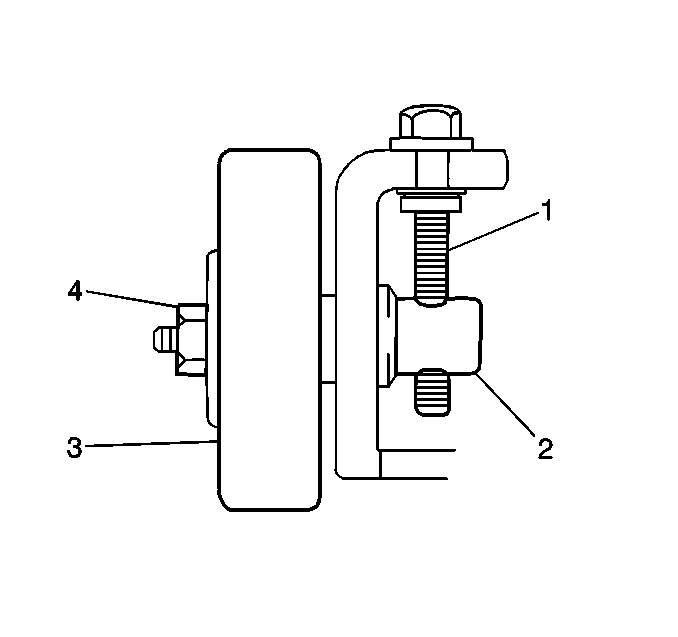
  4. Object Number: 354744  Size: SH
  5. Loosen the tension pulley retaining nut (4) and the tension bolt (1).
  6. Remove the power steering and the compressor drive belt (7) from the pulleys.

Power Steering Pump and Compressor Drive Belt Installation Procedure


    Object Number: 354743  Size: SH
  1. Properly route and install the power steering pump and the compressor drive belt (7) on the power steering pump pulley (1) (if equipped), the compressor pulley (2), the tension pulley (3), and the crankshaft pulley (4).

  2. Object Number: 354740  Size: SH
  3. Align the drive belt on the pulleys.

  4. Object Number: 354743  Size: SH
  5. Use thumb pressure in order to inspect the compressor drive belt tension.

  6. Object Number: 354744  Size: SH
  7. Turn the tension bolt (1) in order to adjust the drive belt tension to the specifications.
  8. Notice: Use the correct fastener in the correct location. Replacement fasteners must be the correct part number for that application. Fasteners requiring replacement or fasteners requiring the use of thread locking compound or sealant are identified in the service procedure. Do not use paints, lubricants, or corrosion inhibitors on fasteners or fastener joint surfaces unless specified. These coatings affect fastener torque and joint clamping force and may damage the fastener. Use the correct tightening sequence and specifications when installing fasteners in order to avoid damage to parts and systems.

  9. Secure the tension pulley lock nut (4).
  10. Tighten
    Tighten the lock nut to 45 N·m (33 lb ft).

  11. Install the right front lower splash shield. Secure the splash shield with 6 push clips.
  12. Install the right front tire and wheel assembly. Refer to Tire and Wheel Removal and Installation in Tires and Wheels.
  13. Lower the vehicle.

Generator Drive Belt Removal Procedure

    Caution: Unless directed otherwise, the ignition and start switch must be in the OFF or LOCK position, and all electrical loads must be OFF before servicing any electrical component. Disconnect the negative battery cable to prevent an electrical spark should a tool or equipment come in contact with an exposed electrical terminal. Failure to follow these precautions may result in personal injury and/or damage to the vehicle or its components.

  1. Disconnect the negative battery cable.
  2. Remove the power steering pump and the compressor drive belt. Refer to Power Steering Pump and Compressor Drive Belt Removal Procedure above.

  3. Object Number: 262545  Size: SH
  4. Loosen the upper adjuster bolt of the generator drive belt.
  5. Loosen the lower mounting bolt of the generator drive belt.
  6. Pivot the generator, and remove the accessory drive belt (1).

Generator Drive Belt Installation Procedure


    Object Number: 168876  Size: SH
  1. Correctly route and install the generator drive belt on the pulleys.
  2. Adjust the drive belt tension in order to obtain a 6-8 mm (0.24-0.31 in) deflection with 10 kg (22 lbs) of pressure exerted on a used belt. Alternatively, adjust the drive belt tension in order to obtain a 5-7 mm (0.20-0.27 in) deflection with 10 kg (22 lbs) of pressure exerted on a new belt.
  3. Tighten
    Tighten the adjuster bolt for the generator drive belt and the mounting bolt to 23 N·m (17 lb ft)

  4. Install the power steering and the compressor drive belt. Refer to Power Steering Pump and Compressor Drive Belt Installation Procedure above.
  5. Connect the negative battery cable.
  6. Tighten
    Tighten the battery cable bolt to 15 N·m (11 lb ft)