 
DTC C1261 identifies an ABS motor that cannot energize due to an open in the ABS motor circuitry. The malfunction will not allow proper front ABS operation.
| • | DTC C1261 can only set when the motor is commanded off. | 
| • | A malfunction exists if the EBCM detects an out of range voltage on either of the right front ABS motor circuits. The out of range voltage on either circuit indicates an open circuit exists. | 
| • | An open ABS motor will not activate. | 
| • | A malfunction DTC stores. | 
| • | The ABS disables. | 
| • | The ABS warning indicator turns ON. | 
| • | The condition responsible for setting the DTC no longer exists and the Scan Tool Clear DTCs function is used. | 
| • | 100 drive cycles pass with no DTCs detected. A drive cycle consists of starting the vehicle, driving the vehicle over 16 km/h (10 mph), stopping and then turning the ignition OFF. | 
Use the Scan Tool Manual Control function in order to exercise ABS motor movement of affected channel in both directions while applying light pressure on the brake pedal.
An intermittent malfunction may be indicated if erratic or jumpy brake pedal movement is detected while performing an apply or release function of the ABS monitor.
The following conditions may cause an intermittent malfunction:
| • | A poor connection | 
| • | Rubbed-through wire insulation | 
| • | A broken wire inside the insulation | 
If the malfunction is not current, use the following procedure to pinpoint an intermittent malfunction in the motor circuitry or connections:
Use the enhanced diagnostic function of the Scan Tool in order to measure the frequency of the malfunction.
Thoroughly inspect any circuitry that may be causing the intermittent complaint for the following conditions:
| • | Backed out terminals | 
| • | Improper mating | 
| • | Broken locks | 
| • | Improperly formed or damaged terminals | 
| • | Poor terminal-to-wiring connections | 
| • | Physical damage to the wiring harness | 
Clear the DTCs after completing the diagnosis. Test drive the vehicle for three drive cycles in order to verify that the DTC does not reset. Use the following procedure in order to complete one drive cycle:
This test checks for proper resistance of the motor.
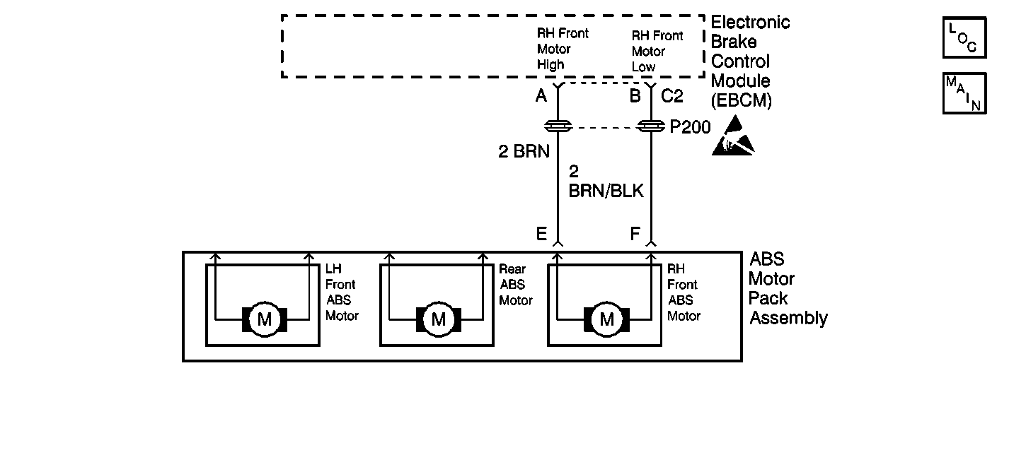
This test checks for an open in the motor high circuitry.
This test checks for an open in the motor low circuitry.
This test determines if the malfunction is caused by the EBCM.
| Step | Action | Value(s) | Yes | No | ||||||||||
|---|---|---|---|---|---|---|---|---|---|---|---|---|---|---|
| Important: Zero the J 39200 test leads before making any resistance measurements. Refer to the J 39200 user's manual. | ||||||||||||||
| 1 | Was A Diagnostic System Check-ABS performed? | -- | ||||||||||||
| 2 | Does DTC C1261 occur intermittently? | -- | Go to Diagnostic Aids | |||||||||||
| 
 Is the resistance within the specified range? | 0.2-1.5 ohms | |||||||||||||
| 
 Is the resistance within the specified range? | 0-2 ohms | |||||||||||||
| Use the J 39200 in order to measure the resistance between the ABS brake motor pack harness connector terminal F and the EBCM harness connector terminal B. Is the resistance within the specified range? | 0-2 ohms | |||||||||||||
| 6 | 
 
 
 
 
 
 Is there poor terminal contact or corrosion? | -- | ||||||||||||
| 
 Did DTC C1261 set as a current DTC in the last three drive cycles? | -- | |||||||||||||
| 8 | Replace the ABS brake motor pack. Refer to ABS Motor Pack Replacement . Is the repair complete? | -- | -- | |||||||||||
| 9 | Repair the open in the BRN wire between the EBCM and the ABS motor pack. Refer to Wiring Repairs in Wiring Systems. Is the repair complete? | -- | -- | |||||||||||
| 10 | Repair the open in the BRN/BLK wire between the EBCM and the ABS motor pack. Refer to Wiring Repairs in Wiring Systems. Is the repair complete? | -- | -- | |||||||||||
| 11 | Replace all of the terminals and connectors that exhibit the following conditions: 
 
 
 Refer to Connector Repairs in Wiring Systems. Is the repair complete? | -- | -- | |||||||||||
| 12 | Replace the EBCM. Refer to Electronic Brake Control Module Replacement . Is the repair complete? | -- | -- | |||||||||||
| 13 | The malfunction is intermittent or not present at this time. Refer to Diagnostic Aids for more information. Is the action complete? | -- | System OK | -- | ||||||||||