GM Service Manual Online
For 1990-2009 cars only

Throttle Body Assembly

The throttle body assembly is on the right side of the engine compartment, between the air inlet duct and the intake chamber. The throttle body assembly contains the throttle valve, the idle air passage, and an engine coolant passage. The throttle valve connects to the accelerator pedal with the accelerator control cable. The throttle valve controls the air that is drawn into the intake chamber. The idle air passage provides the air for the control of the engine speed when the throttle valve closes. An engine coolant flow through the IAC valve and into a coolant passage in the throttle body warms the throttle body. The warming of the throttle body helps prevent throttle valve icing. The throttle position (TP) sensor and the idle air control (IAC) valve are on the throttle body.


Object Number: 240575  Size: MH

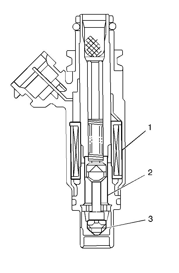
The fuel injector is an solenoid-type injection nozzle that injects fuel into the intake port of the cylinder head. There is one injector for each cylinder.The injectors are between the intake manifold and the fuel rail.

The powertrain control module energizes the solenoid coil (1) of the fuel injector, generating an electromagnetic field that pulls the solenoid plunger (2). The ball valve (3) that is in the solenoid plunger opens by the movement of the solenoid plunger. The opening of the ball-valve allows fuel that is under pressure to disperse in a conical pattern. The stroke of the ball valve in the fuel injector is constant.The amount of time that the solenoid coil is energized determines the injected amount of fuel.


Object Number: 55533  Size: SH

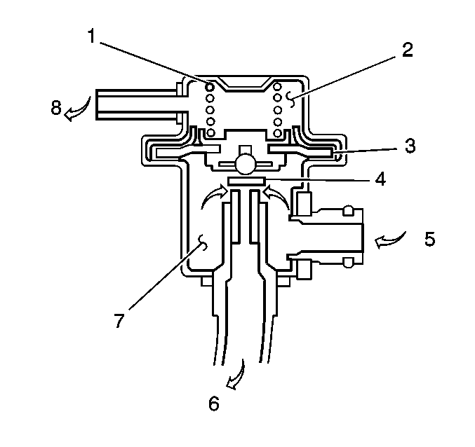
The fuel-pressure regulator is a diaphragm-operated valve that includes the diaphragm (3), the spring (1), and the valve (4). The fuel-pressure regulator applies pressure to the fuel injector at 290 kPa (41 psi) more than the intake manifold pressure.

The pressure that is applied to chamber A (2) of the fuel-pressure regulator is the intake manifold pressure. The pressure that is applied to the B chamber (7) of the fuel-pressure regulator is the fuel pressure. If the fuel pressure increases to 290 kPa (41 psi) more than the intake manifold pressure, the fuel opens a valve in the regulator, and excess fuel (6) returns to the fuel tank via the fuel return pipe.