GM Service Manual Online
For 1990-2009 cars only
Table 1: Heated Oxygen Sensor 1 (HO2S 1)
Table 2: Engine Coolant Temperature (ECT) Sensor
Table 3: Intake Air Temperature (IAT) Sensor

Heated Oxygen Sensor 1 (HO2S 1)


Object Number: 56257  Size: SH
(1)Terminal Post
(2)Element Cover
(3)Heater
(4)Zirconia Element
(5)Heater Circuit Leads

The fuel control heated oxygen sensor 1 (HO2S 1) is mounted in the exhaust pipe below the exhaust manifold. The main function of the fuel control heated oxygen sensor is to provide the powertrain control module (PCM) with exhaust stream oxygen content information. The exhaust stream oxygen content information enables the PCM to provide the proper fueling and achieve vehicle emissions that are within the mandated levels.

Operation

The HO2S 1 has a zirconia element with a thin platinum surface coating. The zirconia element generates an electromotive force when a there is a difference in the concentration of oxygen between its faces. This electromotive force is amplified by the catalytic reaction of the platinum when the zirconia element temperature rises. The inside of the zirconia element is exposed to the atmosphere (reference air) and the outside of the zirconia element is exposed to the exhaust gases. The difference in concentration between the inside and the outside of the zirconia element varies with the concentration of oxygen in the exhaust gases. A large difference in the concentration of oxygen results in about 1 volt of electromotive force. A small difference in the concentration of oxygen results in a about 0.01 volt of electromotive force.

In order for the HO2S 1 to function properly, the sensor must have a supply of clean reference air. Clean reference air is obtained through the oxygen sensor pigtail wiring. Any attempt to repair the wires, the connectors, or the terminals of the HO2S 1 pigtail wiring could result in the obstruction of the reference air. Replace the oxygen sensor if the pigtail wiring, the connector, or the terminals are damaged.

The oxygen sensor heater greatly decreases the amount of time required for the HO2S 1 to become active and begin the closed loop fuel control.

The HO2S 1 voltage should constantly fluctuate from approximately 100 mV (high oxygen content -- lean mixture) to 900 mV (low oxygen content -- rich mixture). The PCM calculates what fuel mixture commands to send to the fuel injectors by monitoring the voltage output of the oxygen sensor. The oxygen sensor voltage can be monitored with a scan tool.

Heated Oxygen Sensor 1 (HO2S 1)

Air Fuel Mixture

Exhaust O2 Content

HO2S1 Output

Fuel System Response

Lean Mixture

High Oxygen

Low Voltage

Rich Command

Rich Mixture

Low Oxygen

High Voltage

Lean Command

The oxygen sensor's ability to provide accurate and useful voltage signals can be affected by the presence of certain contaminants. The contaminants can be introduced through the fuel system or the contaminants can be airborne. Some of the contaminants that may be encountered are phosphorus, lead, silica, and sulfur. One of the more common contaminants is silica in the form of silicone. Silicone contamination may be indicated by a white powdery deposit on the portion of the HO2S that is exposed to the exhaust stream. Silicone contamination can be caused by the use of gasoline with silicone in it or by the use of RTV sealants which emit silicone into the crankcase or induction system. Oxygen sensors exposed to high concentrations of engine coolant or engine oil in the exhaust stream can also be adversely affected.

The fuel control heated oxygen sensor 1 (HO2S 1) is diagnosed for the following conditions:

    • A slow response
    • An inactive signal (output steady)
    • A signal fixed high
    • A signal fixed low
    • The heater performance

Heated Oxygen Sensor 2 (HO2S 2)


Object Number: 56330  Size: SH
(1)HO2S 2
(2)Exhaust Pipe

The heated oxygen sensor 2 (HO2S 2) is located in the exhaust pipe after the catalytic converter. The powertrain control module (PCM) uses the HO2S 2 in order to monitor the oxygen storage capability of the catalytic converter.

Operation

A three-way catalytic converter (TWC) is used in order to control the emissions of hydrocarbons (HC), carbon monoxide (CO), and oxides of nitrogen (NOx). The catalyst within the converter promotes a chemical reaction that oxidizes the HC and CO present in the exhaust gas. The catalyst converts the HC and CO into harmless water vapor and carbon dioxide. The catalyst also reduces NOx by converting the NOx to nitrogen. The HO2S 2 reacts to the oxygen content in the exhaust stream after it passes through the catalytic converter. The voltage signal created by the HO2S 2 sensor ranges from approximately 0.1 volt (high oxygen -- lean mixture) to 0.9 volt (low oxygen -- rich mixture). The oxygen sensor heater is required for the catalyst monitor HO2S 2 in order to become active and begin accurate catalyst monitoring. An HO2S 2 signal that appears lazy or inactive is normal. The PCM compares readings from both the HO2S 1 and the HO2S 2 in order to determine the efficiency of the catalyst in the TWC converter.

In order for the HO2S 2 to function properly, the sensor must have a supply of clean reference air. Clean reference air is obtained through the oxygen sensor pigtail wiring. Any attempt to repair the wires, the connectors, or the terminals of the HO2S 2 pigtail wiring could result in the obstruction of the reference air. Replace the oxygen sensor if the pigtail wiring, the connector or the terminals are damaged.

The oxygen sensor heater greatly decreases the amount of time required for the HO2S 1 to become active and begin the closed loop fuel control.

The catalyst monitor heated oxygen sensor 2 (HO2S 2) is diagnosed for the following functions:

    • A signal fixed low during steady state conditions or power enrichment (hard acceleration when a rich mixture should be indicated).
    • A signal fixed high during steady state conditions or decel fuel mode (deceleration when a lean mixture should be indicated).
    • The heater performance

Engine Coolant Temperature (ECT) Sensor


Object Number: 240579  Size: SH

The engine coolant temperature (ECT) sensor (1) is located in the thermostat housing near the rear ignition coil (2). The ECT sensor is a thermistor (a variable resistor that changes value when the temperature changes). The ECT sensor is connected in series with a fixed resistor in the powertrain control module (PCM). The PCM applies 5 volts to the ECT sensor. The PCM monitors the voltage drop across the ECT sensor and converts the voltage reading into a temperature value. The ECT sensor voltage reading at the PCM will vary with the changes in the engine temperature.

Engine Coolant Temperature (ECT) Sensor

Temperature

Resistance

Voltage

Low

High

High

High

Low

Low

Intake Air Temperature (IAT) Sensor


Object Number: 327205  Size: SH

The intake air temperature (IAT) sensor is located in the air inlet duct. The IAT sensor is a thermistor (a variable resistor that changes value when the temperature changes). The IAT sensor is connected in series with a fixed resistor in the powertrain control module (PCM). The PCM applies 5 volts to the IAT sensor. The PCM monitors the voltage drop across the IAT sensor and converts the voltage reading into a temperature value. The IAT sensor voltage reading at the PCM will vary with the changes in the intake air temperature.

Intake Air Temperature (IAT) Sensor

Temperature

Resistance

Voltage

Low

High

High

High

Low

Low

Throttle Position (TP) Sensor


Object Number: 240844  Size: SH

The throttle position (TP) sensor detects the throttle valve opening. The TP sensor consists of a potentiometer that is connected to the throttle valve shaft on the throttle body.

A 5 volt reference voltage is applied to the TP sensor from the powertrain control module (PCM). The voltage reading at the PCM changes as the throttle plate opening increases. The PCM can calculate the throttle valve opening by monitoring the TP sensor output voltage.

The PCM uses the TP sensor signal for one of the inputs in order to control the fuel injector, the idle speed control motor and the exhaust gas recirculation solenoid vacuum valve. The PCM also converts the TP sensor voltage input into an ON/OFF signal for use by the automatic transmission.

Manifold Absolute Pressure (MAP) Sensor


Object Number: 240582  Size: SH

The manifold absolute pressure (MAP) sensor measures the change in the intake manifold pressure (vacuum). The powertrain control module (PCM) applies 5 volts to the MAP sensor. The MAP sensor consists of a semi-conductor type pressure sensing element. The pressure sensing element converts a change in pressure into an electrical signal. The MAP sensor also contains electronic circuitry that amplifies and corrects the electrical signal. The PCM monitors the change in manifold pressure that results from the changes in RPM and engine load. A low MAP sensor voltage reading at the PCM indicates low manifold pressure. A high MAP sensor voltage reading at the PCM indicates high manifold pressure.

Vehicle Speed Sensor (VSS) (M/T only)


Object Number: 56275  Size: SH
(1)Magnet
(2)Speedometer Assembly
(3)Reed Switch

The vehicle speed sensor (VSS) is part of the speedometer and is located in the instrument panel assembly. The VSS consists of a reed switch and a magnet. The magnet turns with the speedometer cable, causing the reed switch to turn ON and OFF. The ON and OFF frequency of the reed switch increases or decreases in proportion with the vehicle speed. The powertrain control module receives a digital signal from the VSS.

Vehicle Speed Sensor (VSS) (A/T only)


Object Number: 56278  Size: SH

The vehicle speed sensor (VSS) (1) consists of a magnet and a coil. The VSS is mounted on the transmission case with a specified air gap between the core end and the transmission countershaft gear tooth. When the transmission countershaft rotates the gear tooth cuts the magnetic field created by the VSS magnet. The cutting of the magnetic field generates a voltage pulse in the sensor coil that varies according to vehicle speed. The powertrain control module uses the VSS signal as one of the inputs for control of various devices.

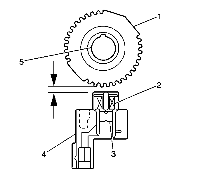
Crankshaft Position (CKP) Sensor


Object Number: 158645  Size: SH

The crankshaft position (CKP) sensor is mounted on the engine block, behind the crank pulley. The CKP sensor consists of a magnet and a coil. The powertrain control module uses the CKP sensor for engine speed and engine misfire. The CKP sensor is not adjustable.

Operation


Object Number: 309788  Size: SH

The CKP sensor (4) generates a magnetic field within the magnet (3) and coil (2) assembly. The CKP sensor has a specified air gap between the sensor core end and the crankshaft signal rotor (1) that is located on the end of the crankshaft (5). An AC voltage (pulse) is generated in the sensor when crankshaft rotation causes a change in the magnetic flux. The CKP sensor sends the signal to the powertrain control module (PCM). The PCM uses CKP sensor input in order to initiate engine ignition and fuel delivery.

Camshaft Position (CMP) Sensor


Object Number: 240577  Size: SH

The camshaft position (CMP) sensor is located at the rear of the cylinder head. The PCM uses the CMP sensor in order to distinguish individual cylinders and monitor engine misfire. The CMP sensor is not adjustable.

Operation


Object Number: 309784  Size: SH

The camshaft position (CMP) sensor (4) contains a signal generator (hall switch) (3). A camshaft signal rotor (1) is press fit onto the camshaft (2). The CMP sensor has a specified air gap between the sensor core end and the camshaft signal rotor. A digital signal is generated by the CMP sensor when the signal rotor turns. The CMP sensor's digital signal is sent to the powertrain control module (PCM).

Fuel Level Sensor

The fuel level sensor is located in the fuel tank. The fuel level sensor sends a signal to the powertrain control module (PCM) and the fuel gauge in the instrument panel. The PCM uses the signal from the fuel level sensor as one of the monitoring conditions for detecting EVAP control system DTCs. The PCM also uses the fuel level sensor input in order to control the EVAP tank pressure control solenoid vacuum valve. If the fuel level is greater than a specified value, the PCM will operate the EVAP tank pressure control solenoid vacuum valve in order to prevent liquid fuel from flowing into the EVAP canister from the fuel tank.

Fuel Tank Pressure Sensor


Object Number: 158651  Size: SH

The fuel tank pressure sensor is located on top of the fuel tank. The fuel tank pressure sensor measures the fuel vapor pressure in the fuel tank and compares it with the barometric pressure. The fuel tank pressure sensor is similar to the manifold absolute pressure sensor. The powertrain control module (PCM) supplies 5 volts and a ground to the sensor. The fuel tank pressure sensor sends a voltage signal from 0.1 to 4.9 volts back to the PCM. The output voltage of the fuel tank pressure sensor will range from 2.0-2.6 volts when the fuel tank filler cap is removed. The PCM uses the fuel tank pressure sensor signal as one of the inputs in order to detect EVAP control system malfunctions.

A/C Idle-Up Signal

The A/C compressor control module provides an A/C idle-up signal to the powertrain control module (PCM) when the A/C compressor clutch is in operation. The PCM uses the A/C idle-up signal in order to modify the engine idle speed. The PCM will signal the idle air control valve to open the idle air passage. Opening the idle air passage slightly will increase the engine speed in order to prevent a rough idle or a stalling condition.

Electrical Load Idle-Up Signal

The powertrain control module (PCM) receives a signal from the diode module when any of the following electrical loads are present:

    • HVAC blower motor
    • Rear window defogger
    • Headlights

The PCM will increase the engine idle speed when receiving the diode module input. The PCM will signal the idle air control (IAC) valve to open the idle air passage. Opening the idle air passage slightly will maintain an engine speed that provides a desirable idle. The PCM will return the engine to the original idle when the diode module signal is removed. The diode module is located under the glove box near the cigarette lighter.

System Voltage

The fuel injector is driven by the powertrain control module (PCM). There is a delay between when the PCM signals the fuel injector ON and when the injector actually opens and provides fuel. This delay is known as Ineffective Injection Time and is part of the normal event of electrical flow through the fuel injector solenoid coil.

Because ineffective injection time varies with system voltage, the PCM takes voltage readings and computes the required offset necessary for the proper timing of the fuel injector signal.

Clutch Pedal Position Switch (M/T only)

The clutch pedal position switch (CPP) is closed when the clutch pedal is depressed. The powertrain control module receives a voltage signal from the CPP switch when the CPP switch is closed and the ignition switch is in the Start (crank) position. The starter motor solenoid also receives an input from the CPP switch.

Transaxle Range Switch Signal (A/T only)

The transaxle range switch is located on the automatic transaxle. The powertrain control module (PCM) detects the transaxle range by monitoring the ON and OFF signals from the transaxle range switch. The PCM uses the transaxle range switch signal as one of the inputs in order to control the fuel injectors, the idle air control (IAC) valve, and the automatic transaxle performance.

Power Steering Pressure (PSP) Switch Signal

The power steering pressure (PSP) switch signals the powertrain control module (PCM) when the vehicle experiencing power steering assist. Turning the steering wheel causes increased power steering fluid pressure that closes the PSP switch. The PCM uses PSP switch signal in order to control the idle air control (IAC) valve. In response to the PSP switch input the IAC valve increases the idle speed before the power steering load can cause a poor idling condition. The PSP switch is located in the power steering pump housing.