GM Service Manual Online
For 1990-2009 cars only

Disassembly Procedure

Tools Required

    • J 26941 Oil Seal Remover
    • J 23907 Slide Hammer
    • J 22888-D Side Bearing Remover

    Notice: When servicing the wheel drive shaft(s), place reference marks on all components to ensure that all components are reassembled in the correct position. If the components are not reassembled in the correct position, premature wear of the joint and/or excessive driveline vibrations may occur.

  1. Remove the intermediate shaft from the vehicle. Refer to Intermediate Shaft Replacement .
  2. Mount the intermediate shaft bearing arbor securely in a vise.

  3. Object Number: 175631  Size: MH
  4. Use the J 23907 with the J 26941 in order to remove the outer seal of the intermediate shaft bearing from the intermediate shaft bearing arbor (1).

  5. Object Number: 175633  Size: SH
  6. Remove 1 snap ring (2) from the right inner wheel drive shaft (1).

  7. Object Number: 175640  Size: SH
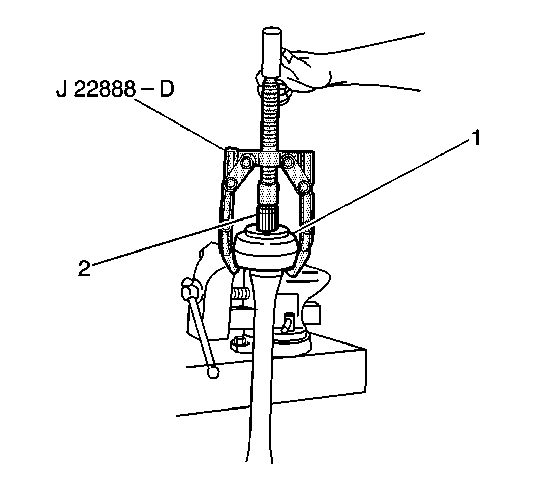
  8. Remove the right inner wheel drive shaft (2) from the intermediate shaft bearing (1) using the J 22888-D .

  9. Object Number: 175634  Size: SH
  10. Use the J 26941 with the J 23907 in order to remove the inner seal (1) of the intermediate shaft bearing from the intermediate shaft bearing arbor.

  11. Object Number: 637196  Size: SH
  12. Remove the intermediate shaft bearing retaining clip (2) from the intermediate shaft bearing arbor (1).

  13. Object Number: 175643  Size: SH
  14. Remove the intermediate shaft bearing (1) from the intermediate shaft bearing arbor (2).

  15. Object Number: 637197  Size: SH
  16. Inspect the intermediate shaft bearing (2) for rough operation, for excessive wear, or for damage. Replace the bearing, if necessary.
  17. Inspect the inner seal and the outer seal of the intermediate shaft bearing for excessive wear or for damage. Replace the seals, if necessary.

Assembly Procedure

Tools Required

J 37751 Oil Seal Installer


    Object Number: 175648  Size: SH

    Important: Ensure that you install the inner seal (4) of the intermediate shaft bearing with the garter spring lip (1) facing outward.

  1. Apply some GM P/N 1051344, or an equivalent wheel-bearing lubricant to the inner seal lip of the intermediate shaft bearing.
  2. Install the inner seal (4) of the intermediate shaft bearing (2) into the intermediate shaft bearing arbor. Tap the seal in gently and evenly using a plastic mallet.

  3. Object Number: 175641  Size: SH
  4. Remove the intermediate shaft bearing arbor from the vise, and place the arbor on an hydraulic press.
  5. Install the right inner wheel drive shaft (2) into the intermediate shaft bearing using an hydraulic press.

  6. Object Number: 175633  Size: SH
  7. Remove the right inner wheel drive shaft and the intermediate shaft bearing from the hydraulic press. Mount the drive shaft and the intermediate shaft bearing securely in a vise.
  8. Install the 1 snap ring (2) onto the right inner wheel drive shaft.
  9. Apply some GM P/N 1051344, or an equivalent wheel-bearing lubricant, to the outer seal lip of the intermediate shaft bearing.

  10. Object Number: 175645  Size: SH
  11. Ensure that you install the outer seal (2) of the intermediate shaft bearing with the garter spring lip (3) facing outward.

  12. Object Number: 175654  Size: SH
  13. Use the J 37751 in order to install the outer seal of the intermediate shaft bearing into the intermediate shaft bearing arbor (1).
  14. Remove the intermediate shaft bearing arbor from the vise.
  15. Install the intermediate shaft to the vehicle. Refer to Intermediate Shaft Replacement .