GM Service Manual Online
For 1990-2009 cars only
Makes
🢒
Chevrolet
🢒
2000
🢒
Metro
🢒
Transmission/Transaxle
🢒
Automatic Transmission - 3 Speed-M60
🢒 Automatic Transmission Controls Schematics
Figure
1:
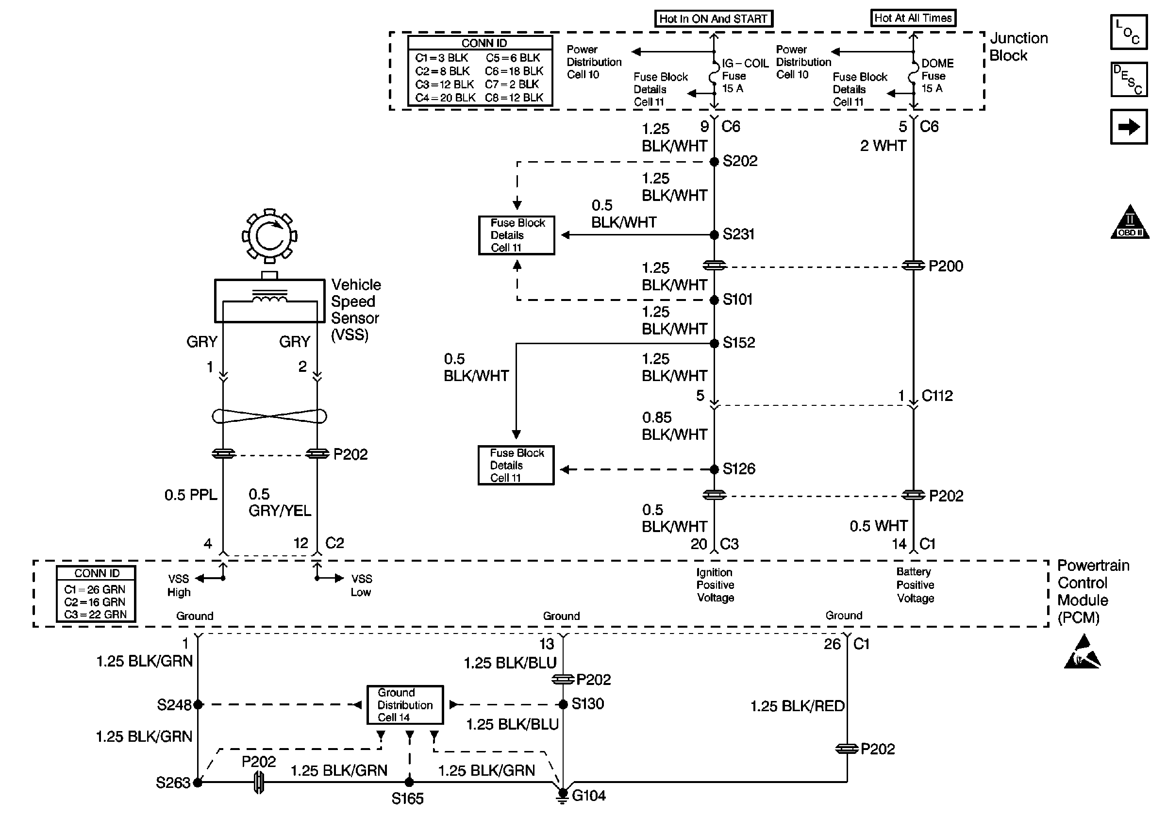
Cell 39: Power, Ground and VSS
Figure
2:
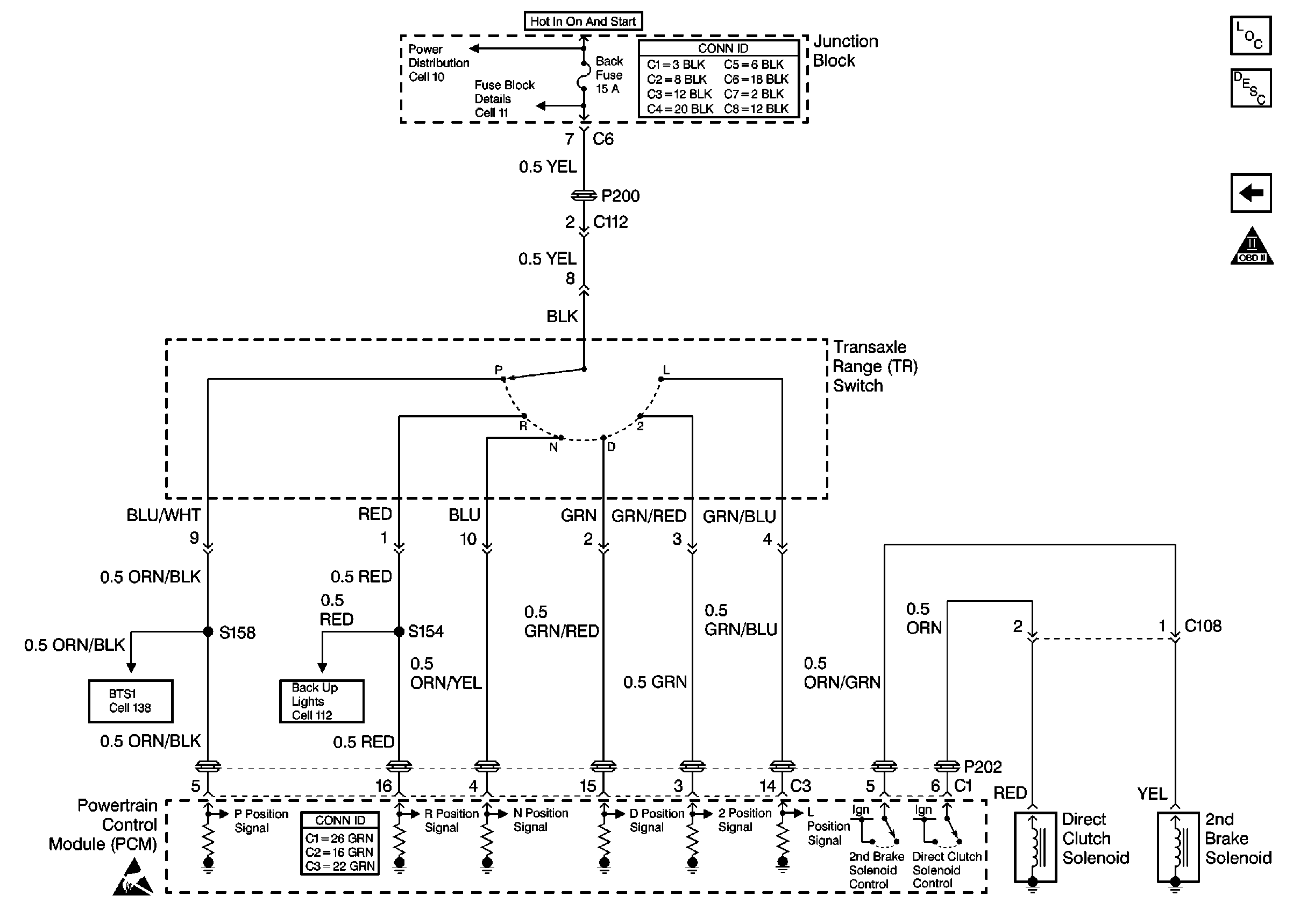
Cell 39: TR Switch and Solenoids