GM Service Manual Online
For 1990-2009 cars only

Removal Procedure

Tools Required

    • J 34839 Pinion Bearing Remover
    • J 37764 Slide Hammer Adapter
    • J 23907 Slide Hammer

    Object Number: 179550  Size: SH
  1. Slide the boot over the speedometer cable (1).Remove the boot from the speedometer driven gear case (3).
  2. Remove the retaining clip (2) and the cable from the speedometer driven gear case.
  3. Remove the 1 retaining bolt (4) and the speedometer driven gear from the transaxle case.

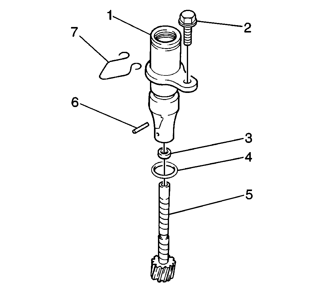
  4. Object Number: 179551  Size: SH
  5. Use a standard drift punch and a hammer in order to remove the roll pin from the speedometer driven gear case.
  6. Remove the speedometer driven gear from the speedometer driven gear case.
  7. Remove the O-ring from the speedometer driven gear case.
  8. Use the J 34839 , the J 37764 , and theJ 23907 in order to remove the lip seal from inside the speedometer driven gear case (1).
  9. Inspect the speedometer driven gear for tooth damage. Replace the speedometer driven gear, as necessary.
  10. Inspect the O-ring for damage. Replace the O-ring, as necessary.

Installation Procedure

Tools Required

    • J 36850 Transmission Assembly Lubricant
    • J 34857 Gearshift Shaft Seal Installer

    Object Number: 179554  Size: SH
  1. Apply J 36850 to the new lip seal (3).

  2. Object Number: 179556  Size: SH
  3. Use the J 34857 in order to install the new lip seal (2) to the speedometer driven gear case.
  4. Install the O-ring (4) onto the speedometer driven gear case (1).
  5. Apply J 36850 to the O-ring of the speedometer driven gear case.
  6. Install the speedometer driven gear (5) into the gear case.
  7. Install the roll pin into the speedometer driven gear case using a standard drift punch and a hammer.
  8. Notice: Use the correct fastener in the correct location. Replacement fasteners must be the correct part number for that application. Fasteners requiring replacement or fasteners requiring the use of thread locking compound or sealant are identified in the service procedure. Do not use paints, lubricants, or corrosion inhibitors on fasteners or fastener joint surfaces unless specified. These coatings affect fastener torque and joint clamping force and may damage the fastener. Use the correct tightening sequence and specifications when installing fasteners in order to avoid damage to parts and systems.

  9. Install the speedometer driven gear case into the transaxle case. Secure the case with the retaining bolt (2).
  10. Tighten
    Tighten the retaining bolt to 8 N·m (11 lb ft).

  11. Install the speedometer cable into the speedometer driven gear case. Secure the cable with the speedometer cable retaining clip.
  12. Slide the boot down the speedometer cable over the speedometer driven gear case.