GM Service Manual Online
For 1990-2009 cars only

Removal Procedure

    Caution: Unless directed otherwise, the ignition and start switch must be in the OFF or LOCK position, and all electrical loads must be OFF before servicing any electrical component. Disconnect the negative battery cable to prevent an electrical spark should a tool or equipment come in contact with an exposed electrical terminal. Failure to follow these precautions may result in personal injury and/or damage to the vehicle or its components.

  1. Disconnect the negative battery cable.
  2. Remove the PNP switch electrical connector at the engine wiring harness.
  3. Remove the PNP switch harness from the retaining clamps.

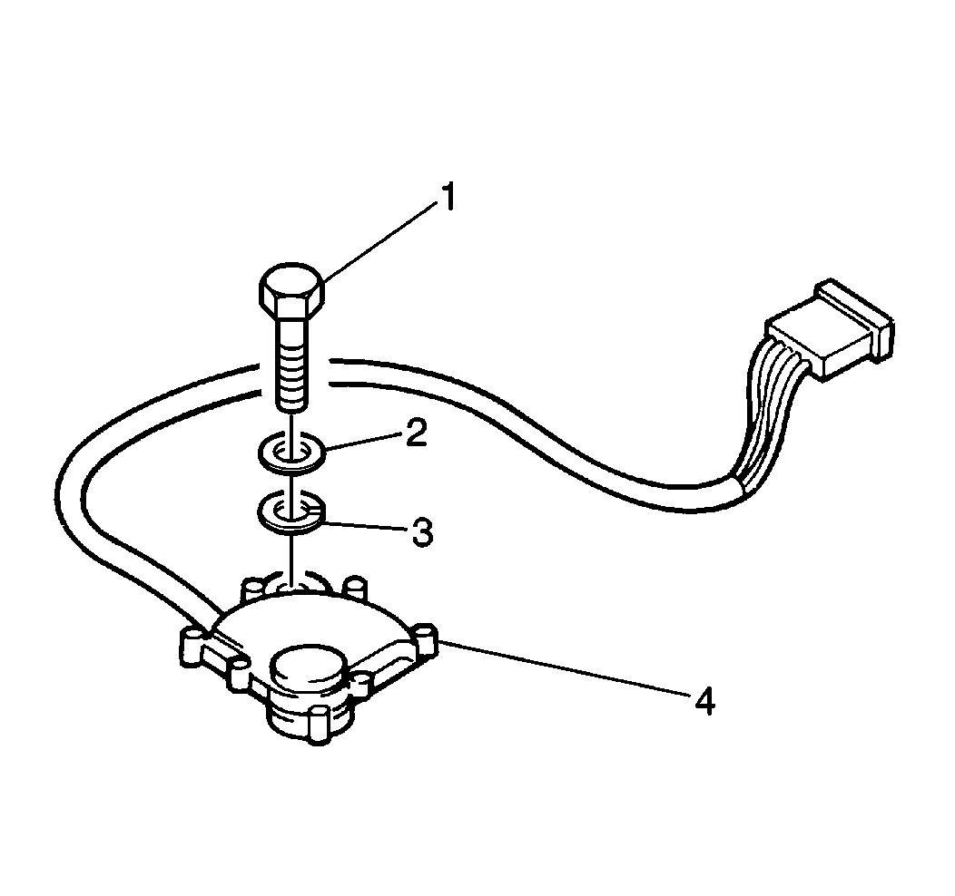
  4. Object Number: 179439  Size: SH
  5. Remove 1 bolt and the PNP switch (4) from the transaxle.

Installation Procedure


    Object Number: 179440  Size: SH
  1. Move the transaxle lever (1) to the N position.

  2. Object Number: 179444  Size: SH
  3. Adjust the PNP switch (1) by using a standard flat-bladed screwdriver. Turn the PNP switch clockwise or counterclockwise until you hear 2 clicks.

  4. Object Number: 179439  Size: SH

    Notice: Use the correct fastener in the correct location. Replacement fasteners must be the correct part number for that application. Fasteners requiring replacement or fasteners requiring the use of thread locking compound or sealant are identified in the service procedure. Do not use paints, lubricants, or corrosion inhibitors on fasteners or fastener joint surfaces unless specified. These coatings affect fastener torque and joint clamping force and may damage the fastener. Use the correct tightening sequence and specifications when installing fasteners in order to avoid damage to parts and systems.

  5. Install the PNP switch (4) to the transaxle. Install the bolt (1) in order to retain the switch.
  6. Tighten
    Tighten the PNP switch mounting bolt to 23 N·m (17 lb ft).

  7. Connect the PNP switch electrical connector at the engine wiring harness.
  8. Install the PNP switch harness into the retaining clamps.
  9. Connect the negative battery cable

  10. Object Number: 179437  Size: SH
  11. Upon completion of the PNP switch installation, perform the following steps in order to ensure proper operation:
  12. • Apply the parking brake, and block the vehicle wheels.
    • With the manual selector lever (5) in the P position, turn the ignition switch to the START position.Verify that the starter motor operates.
    • Stop the engine, and return the ignition switch to the ON position.
    • Move the shift selector lever (5) from the P position to the N position.Turn the ignition switch to the START position, and verify that the starter motor operates.
    • Verify that the starter motor does not operate in D, 2, L, or R