GM Service Manual Online
For 1990-2009 cars only

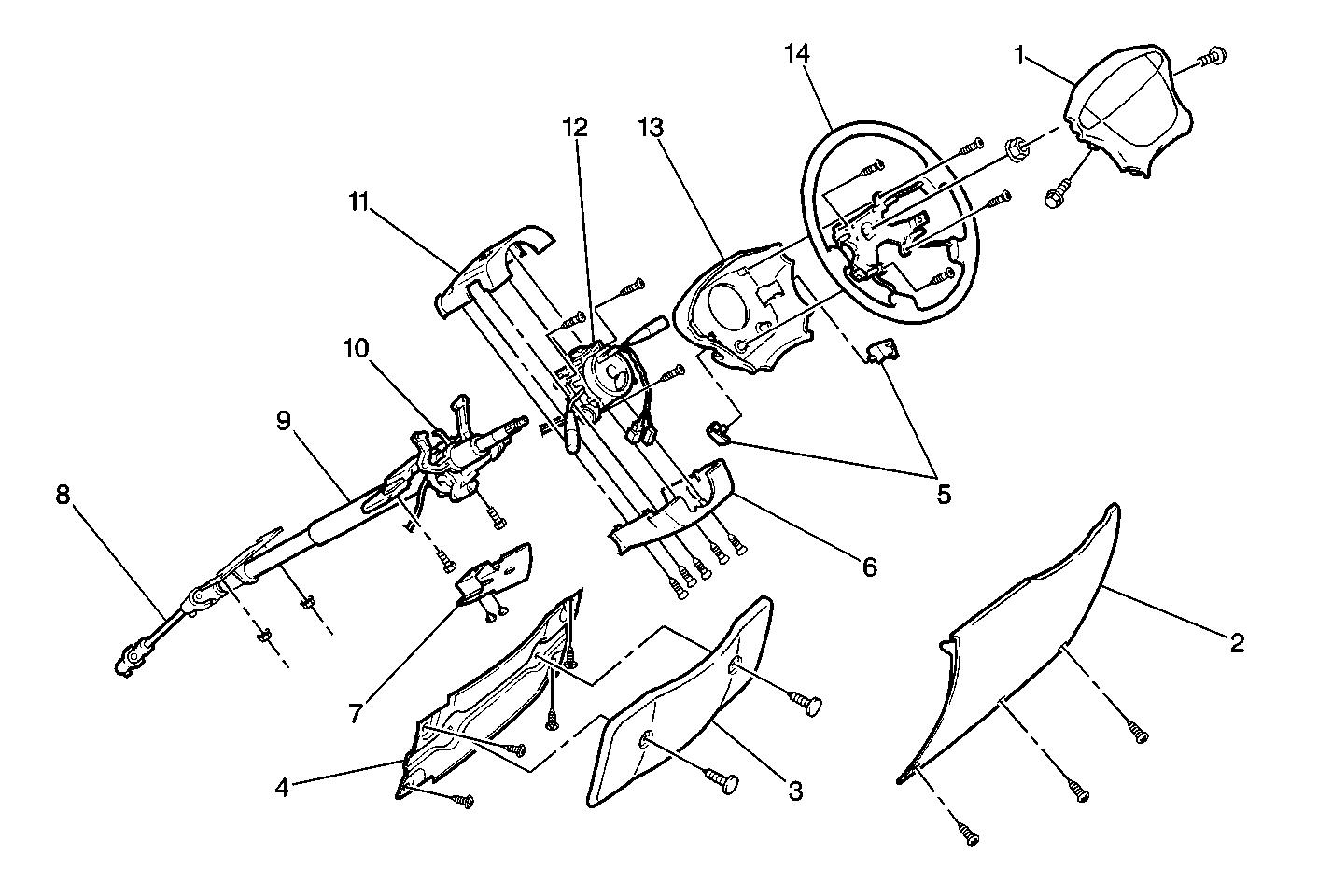
Steering Wheel and Column


Object Number: 355208  Size: MF
(1)Steering Wheel Inflatable Restraint Module
(2)Instrument Panel Steering Column Opening Filler
(3)Instrument Panel Driver Knee Bolster Energy Absorber
(4)Instrument Panel Driver Knee Bolster Brace
(5)Steering Wheel Housing Cap
(6)Steering Column Lower Trim Cover
(7)Steering Column Protector
(8)Steering Shaft
(9)Steering Column
(10)Ignition Switch
(11)Steering Column Upper Trim Cover
(12)Turn Signal and Headlamp and Headlamp Dimmer Switch and Windshield Wiper and Windshield Washer Switch with Levers and SIR Coil
(13)Steering Wheel Lower Trim Cover Protector
(14)Steering Wheel

The steering column includes the following 3 functions in addition to the steering function:

  1. In a front-end collision, the steering column absorbs the energy from the crash. The steering column collapses in order to minimize injury to the driver.
  2. The ignition switch locks the ignition switch cylinder and the steering column. This minimizes the chance of vehicle theft.
  3. The steering column levers control the following components:
  4. • The turn signal switch
    • The headlamp switch
    • The headlamp dimmer switch
    • The windshield wiper switch
    • The windshield washer switch

You may service the turn signal switch and the SIR coil as a unit. The switch consists of the following components:

    • The turn signal switch
    • The headlamp switch
    • The headlamp dimmer switch
    • The windshield wiper switch
    • The windshield washer switch
    • The hazard switch
    • The inflatable restraint steering wheel module coil
    • The turn signal switch base

Use the correct fasteners in order to ensure the energy-absorbing action of the steering column. Tighten the fasteners to the correct torque. During assembly, apply a thin layer of grease to all friction points.

Plastic injections keep the column rigid. The following actions may shear or loosen the plastic injections:

    • Using an incorrect steering wheel puller
    • Dropping the steering column
    • Striking the steering column
    • Leaning on the steering column