GM Service Manual Online
For 1990-2009 cars only

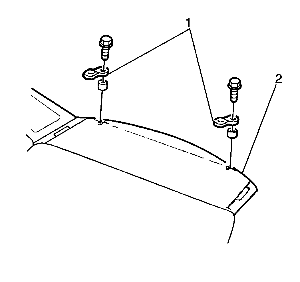
Child Restraint Belt Tether Location Two-Door

Replacement Procedure


    Object Number: 184759  Size: MH
  1. Remove the rear seat child restraint anchor bolt cap (3) from the rear end interior trim panel (1). (Two restraint anchor caps are located in the rear end interior trim panel; one for the right-side rear seat and one for the left-side rear seat).
  2. Notice: Use the correct fastener in the correct location. Replacement fasteners must be the correct part number for that application. Fasteners requiring replacement or fasteners requiring the use of thread locking compound or sealant are identified in the service procedure. Do not use paints, lubricants, or corrosion inhibitors on fasteners or fastener joint surfaces unless specified. These coatings affect fastener torque and joint clamping force and may damage the fastener. Use the correct tightening sequence and specifications when installing fasteners in order to avoid damage to parts and systems.

  3. Install the rear seat child restraint anchor bracket (2) to the rear end of the vehicle. Secure the bracket with the anchor bolt.
  4. Tighten
    Tighten the rear seat child restraint anchor bracket retaining bolt to 45 N·m (33 lb ft).

    Important: No center seating position is provided for the child seat in the rear seat.

  5. Replace the restraint anchor bolt cap.

Child Restraint Belt Tether Location Four-Door

Replacement Procedure


    Object Number: 184764  Size: SH
  1. Remove the following from the vehicle:
  2. • The rear seat child restraint anchor bolt
    • The rear seat child restraint anchor
    • The spacer

    Notice: Use the correct fastener in the correct location. Replacement fasteners must be the correct part number for that application. Fasteners requiring replacement or fasteners requiring the use of thread locking compound or sealant are identified in the service procedure. Do not use paints, lubricants, or corrosion inhibitors on fasteners or fastener joint surfaces unless specified. These coatings affect fastener torque and joint clamping force and may damage the fastener. Use the correct tightening sequence and specifications when installing fasteners in order to avoid damage to parts and systems.

    Important: There is no center seating position provided for the child seat in the rear seat.

  3. Install the spacer and the rear seat child restraint anchor bracket (1) to the vehicle. Secure the bracket with an anchor bolt.
  4. Tighten
    Tighten the rear seat child restraint anchor bracket retaining bolt to 45 N·m (33 lb ft).