GM Service Manual Online
For 1990-2009 cars only
Figure 1:

Instrument Panel - Rear View


Object Number: 355356  Size: LF
(1)Diode Module
(2)Instrument Panel Cluster Assembly Connector C2
(3)Instrument Panel Cluster Assembly Connector C1
(4)IP Wiring Harness
(5)Instrument Panel Cluster Assembly Connector C3
(6)Audio Alarm Module
(7)Junction Block Connector C4
(8)Data Link Connector (DLC) OBD2
(9)Radio Connector
(10)Blower Speed Selector Switch Connector
(11)Evaporator Thermistor Connector (with A/C)
(12)Cigar Lighter Connector
(13)A/C Compressor Control Module Connector (with A/C)
(14)Blower Motor Connector
(15)Blower Motor Resistor Connector
(16)Instrument Panel
(17)A/C Switch Connector (with A/C)
(18)Heater Control Unit Illumination Lamp Connector
Figure 2:

LH/RH Front Door Wiring (4-Door)


Object Number: 355390  Size: MF
(1)LH/RH Power Door Lock Switch Connector (4-Door With Power Door Locks)
(2)LH/RH Front Power Door Lock Actuator Connector (4-Door With Power Door Locks)
(3)LH/RH Front Speaker
Figure 3:

Rear Seatback-to-Rear-Window Shelf (4-Door)


Object Number: 355384  Size: MF
(1)Luggage Compartment Lamp
(2)RH Rear Speaker
(3)Luggage Compartment Harness
(4)LH Rear Speaker
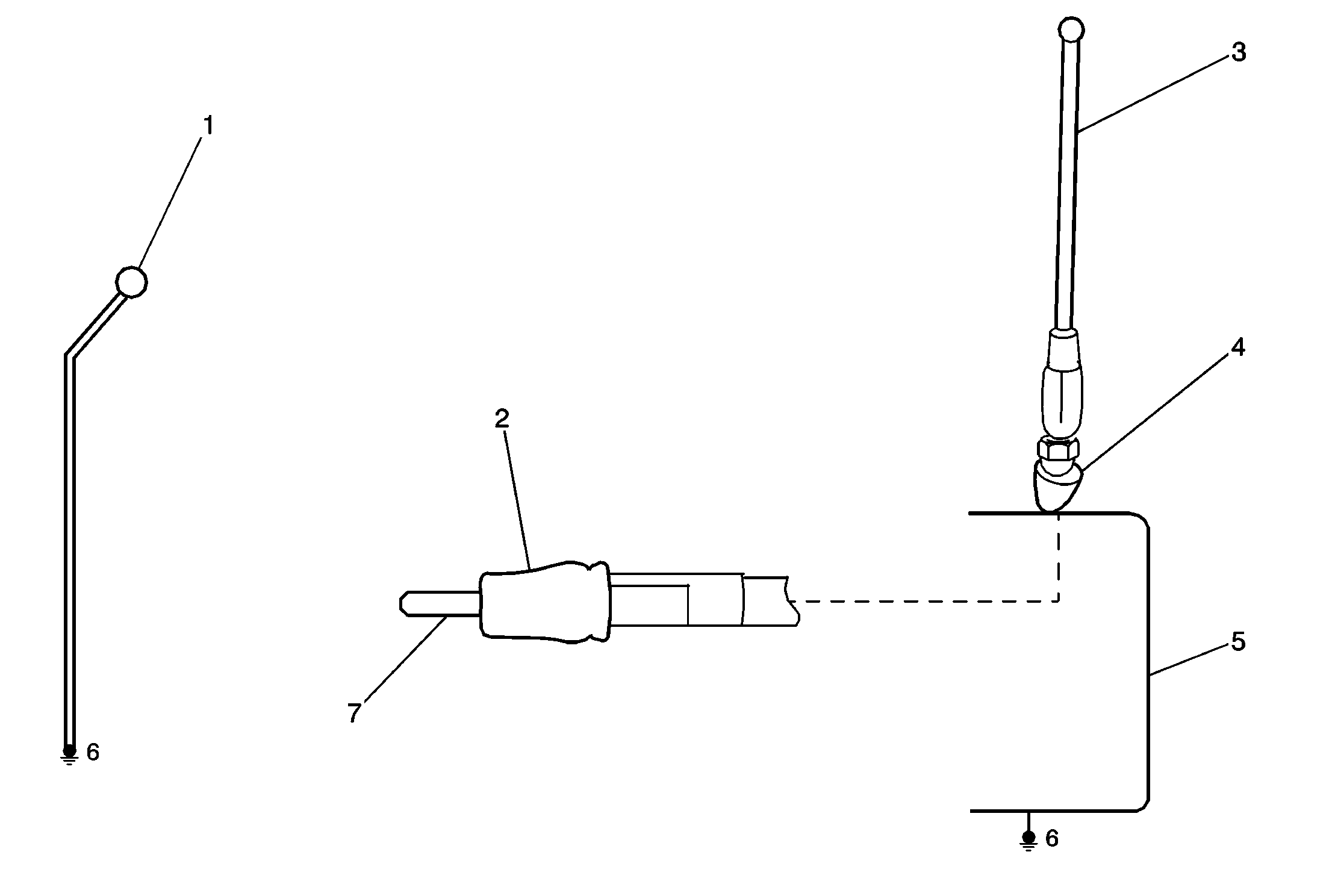
Figure 4:

Antenna System


Object Number: 209119  Size: MF
(1)Negative Battery Cable
(2)Metal Case (on the end of the Coax)
(3)Antenna Mast
(4)Antenna Base
(5)Body
(6)Chassis Ground
(6)Chassis Ground
(7)Tip for Radio