GM Service Manual Online
For 1990-2009 cars only

Removal Procedure


    Object Number: 352151  Size: SH
  1. Remove the water deflector. Refer to Front Side Door Water Deflector Replacement .
  2. Remove the front window. Refer to Front Side Door Window Replacement .
  3. Remove the 2 screws that secure the rear guide channel.
  4. Remove the rear guide channel from the vehicle.
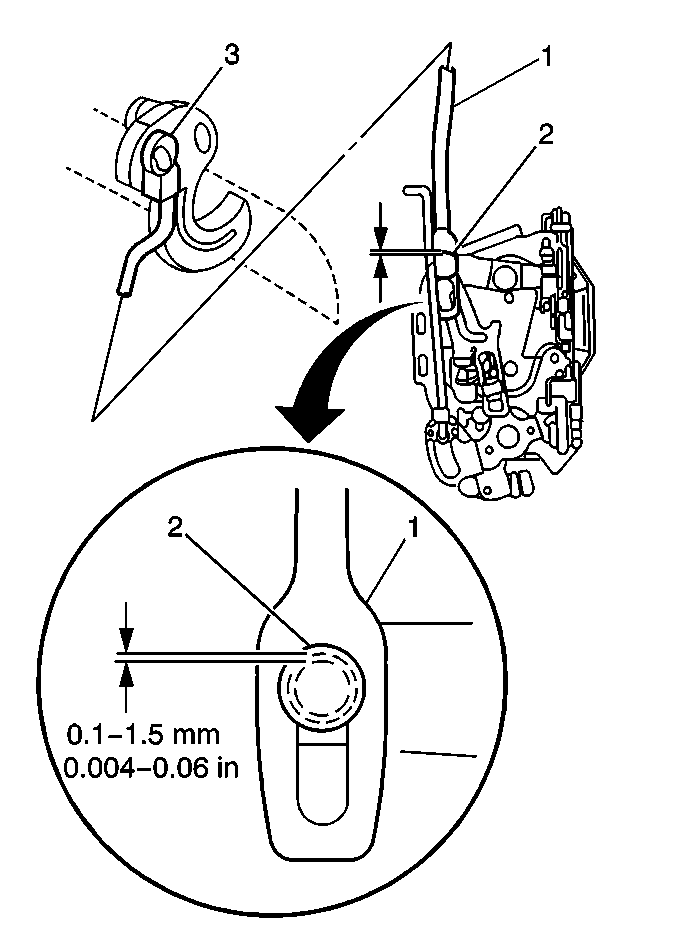
  5. Disconnect the joint (1) and remove the outside handle rod (2).

  6. Object Number: 352149  Size: SH
  7. Remove the following components from the door lock assembly (3):
  8. • The inside handle rod
    • The inside lock rod
    • The outside lock rod
  9. Remove the 3 screws and the door lock assembly (3) from the door.

Installation Procedure


    Object Number: 352149  Size: SH
  1. Install the door lock assembly (3) to the door. Secure the assembly with the 3 screws.
  2. Install the following components to the door lock assembly (3):
  3. • The inside handle rod
    • The inside lock rod
    • The outside lock rod

    Object Number: 637989  Size: SH
  4. Install the outside handle rod (2) to the joint (1) of the outside handle.

  5. Object Number: 352152  Size: MH

    Important: The door lock may not operate correctly if the push rod play is not within specifications.

  6. Test the play of the push rod (1) by operating the outside door handle. If the push rod play is not within specification, repair or replace the defective component.
  7. Adjust
    Adjust the push rod to a play of 0.1-1.5 mm (0.004-0.06 in).

  8. Confirm the following conditions:
  9. • The door does not open when locked.
    • The door opens when unlocked.
  10. Install the rear guide channel. Secure the channel with the 2 screws.
  11. Install the front window. Refer to Front Side Door Window Replacement .
  12. Install the water deflector. Refer to Front Side Door Water Deflector Replacement .