GM Service Manual Online
For 1990-2009 cars only

Removal Procedure


    Object Number: 352149  Size: SH
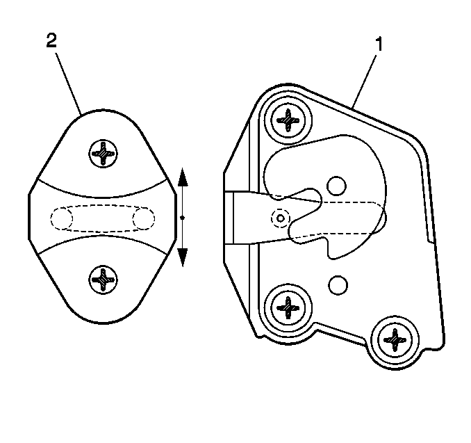
  1. Mark the position of the lock striker on the front door jamb for re-alignment.
  2. Remove the lock striker (4) from the door jamb by removing the 2 screws.

Installation Procedure


    Object Number: 352149  Size: SH
  1. Install the lock striker (4) to the door jamb. Secure the striker with the 2 screws.

  2. Object Number: 352094  Size: SH
  3. Adjust the distance (3) between the door (4) and the lock striker (1) to 13-15 mm (0.51-0.59 in) by installing or by removing shims (2).

  4. Object Number: 352092  Size: SH
  5. Adjust the striker (2) up and down. Ensure that the striker shaft aligns with the center of the door lock (1).