GM Service Manual Online
For 1990-2009 cars only

Headlining Trim Panel Replacement 2-Door

Removal Procedure


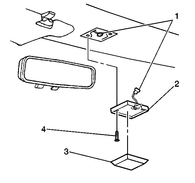
    Object Number: 352631  Size: SH
  1. Using a flat-bladed tool, gently pry off the dome lamp lens (3).
  2. Remove the 2 dome lamp assembly mounting screws (4). Lower the dome lamp assembly (2).
  3. Disconnect the dome lamp electrical connector (1).
  4. Remove the dome lamp (2) from the vehicle.
  5. Using a thin flat-bladed tool at the rearview mirror base, gently remove the mirror from the vehicle.

  6. Object Number: 622926  Size: SH
  7. Remove the 2 screws (1) that retain each sunshade (3). Remove the sunshades (3) from the vehicle.
  8. Remove the screw that retains each sunshade support (2). Remove the supports (2) from the vehicle.
  9. Loosen all of the door opening laces from the door openings.

  10. Object Number: 352642  Size: MH
  11. Gently pry off the windshield side garnish moldings (12) with both hands. Remove the windshield side garnish moldings (12) from the vehicle.
  12. Loosen the liftgate opening weatherstrip along the top edge of the opening.
  13. Loosen both rear quarter window interior trim panels (4).
  14. Remove the pillar upper trim panels from the vehicle.

  15. Object Number: 352647  Size: MH
  16. Remove the push clips (2) that secure the headlining (1) to the vehicle roof.
  17. Slide the front side rib off of the front flanges.
  18. Remove the headlining (1) from the vehicle by pulling down on the headlining while cutting the adhesive.
  19. Position the dome lamp wires (3) through the headlining (1).

  20. Object Number: 352656  Size: SH
  21. Remove the adhesive tape (2) from the roof flange.
  22. Use solvent in order to clean the adhesive residue from the following locations:
  23. • The roof flange
    • The door opening laces

Installation Procedure


    Object Number: 352656  Size: SH

    Important: Pull the headlining tight. Secure the headlining to the 2-sided bondable tape on the roof flanges. This will help to eliminate any wrinkles in the headlining. Eliminate any wrinkles around the center pillars when you install the headlining material.

  1. Install 2-sided bondable tape (2,3) to the upper side of each roof flange. Apply the tape within 10 mm (0.4 in) from the end of the roof flange.

  2. Object Number: 352647  Size: MH
  3. Position the dome lamp electrical connector (3) through the headlining (1).
  4. Slide the front side rib of the headlining onto the front roof flange. Secure the headlining (1) with the push clips (2).

  5. Object Number: 352631  Size: SH
  6. Install the dome lamp assembly (2) to the vehicle. Secure the assembly with the 2 screws (4).

  7. Object Number: 352642  Size: MH
  8. Install all pillar upper trim panels (12) to the vehicle.
  9. Install the liftgate opening weatherstrip into position.

  10. Object Number: 622926  Size: SH
  11. Install each sunshade support (2) to the vehicle. Secure each support with 1 screw.
  12. Install each sunshade (3) to the vehicle. Secure each sunshade with the 2 screws (1).

  13. Object Number: 352631  Size: SH
  14. Snap the inside rearview mirror onto the mirror base.
  15. Install the dome lamp lens (3) to the vehicle.

  16. Object Number: 352660  Size: SH
  17. Use an infrared lamp (2) in order to warm the headlining (1) for 30-60 seconds. The heat will help to remove any wrinkles that may be present.

Headlining Trim Panel Replacement 4-Door

Removal Procedure


    Object Number: 352636  Size: SH
  1. Using a flat-bladed tool, gently pry off the dome lamp lens (4).
  2. Remove the 2 dome lamp assembly mounting nuts (3). Lower dome lamp assembly (2).
  3. Disconnect the dome lamp electrical connector (1).
  4. Remove the dome lamp (2) from the vehicle.
  5. Using a thin flat-bladed tool at the rearview mirror base, gently remove the mirror from the vehicle.

  6. Object Number: 622926  Size: SH
  7. Remove the 2 screws (1) that retain each sunshade (3). Remove the sunshades (3) from the vehicle.
  8. Remove the screw that retains each sunshade support (2). Remove the supports (2) from the vehicle.
  9. Loosen all of the door opening laces from the door openings.

  10. Object Number: 352646  Size: MH
  11. Gently pry off the windshield side garnish moldings (11) with both hands. Remove the windshield side garnish moldings (11) from the vehicle.
  12. Loosen all of the drip rail weatherstrips along both sides of the vehicle.
  13. Remove the following components from the vehicle:
  14. • The upper front seat belt anchor covers
    • The upper front seat belt anchor bolts
  15. Remove the upper center trim panels. Refer to Center Pillar Upper Trim Panel Replacement .
  16. Remove the following components from the vehicle:
  17. • The upper rear seat belt anchor covers
    • The upper rear seat belt anchor bolts
  18. Gently pry loose and remove the rear quarter upper trim panels (1) from the vehicle.
  19. Remove the coat hook (6) from the headlining by removing the screw.

  20. Object Number: 352653  Size: MH
  21. Remove the push clips (2) that secure the headlining (1) to the vehicle roof.

  22. Object Number: 352658  Size: SH
  23. Slide the front side rib off of the front flanges.
  24. Remove the headlining (1) from the vehicle by pulling on the headlining while cutting the adhesive
  25. Position the dome lamp wires through the headlining (1).
  26. Remove the adhesive tape (2) from the roof flange.
  27. Use solvent in order to clean the adhesive residue from the following locations:
  28. • The roof flange
    • The door opening laces

Installation Procedure


    Object Number: 352658  Size: SH
  1. Install 2-sided bondable tape (2) to the upper side of each roof flange. Apply the tape within 10 mm (0.4 in) from the end of the roof flange.
  2. Important: Pull the headlining tight. Secure the headlining to the 2-sided bondable tape on the roof flanges. This will help to eliminate any wrinkles in the headlining. Eliminate any wrinkles around the center pillars when you install the headlining material.

  3. Position the dome lamp electrical connector through the headlining (1).

  4. Object Number: 352653  Size: MH
  5. Slide the front side rib of the headlining onto the front roof flange. Secure the headlining (1) with the push clips (2).

  6. Object Number: 352646  Size: MH
  7. Install the coat hook (6) to the headlining. Secure the hook with 1 screw.
  8. Install the rear quarter upper trim panels (1) to the vehicle.
  9. Notice: Use the correct fastener in the correct location. Replacement fasteners must be the correct part number for that application. Fasteners requiring replacement or fasteners requiring the use of thread locking compound or sealant are identified in the service procedure. Do not use paints, lubricants, or corrosion inhibitors on fasteners or fastener joint surfaces unless specified. These coatings affect fastener torque and joint clamping force and may damage the fastener. Use the correct tightening sequence and specifications when installing fasteners in order to avoid damage to parts and systems.

  10. Install the upper rear seat belt anchor bolts.
  11. Tighten
    Tighten the upper rear seat belt anchor bolts to 45 N·m (33 lb ft).

  12. Install the upper center trim panel. Refer to Center Pillar Upper Trim Panel Replacement .
  13. Install the upper front seat belt anchor bolts.
  14. Tighten
    Tighten the upper front seat belt anchor bolts to 45 N·m (33 lb ft).


    Object Number: 352636  Size: SH
  15. Install the dome lamp assembly (2) to the vehicle. Secure the assembly with the 2 nuts (3).
  16. Install the dome lamp lens (4) to the vehicle.
  17. Install all drip rail weatherstrips on both sides of the vehicle.
  18. Snap the inside rearview mirror onto the mirror base.

  19. Object Number: 622926  Size: SH
  20. Install each sunshade support (2) to the vehicle. Secure each support with 1 screw.
  21. Install each sunshade (3) to the vehicle. Secure each sunshade with the 2 screws (1).

  22. Object Number: 352660  Size: SH
  23. Use an infrared lamp (2) in order to warm the roof lining (1) for 30-60 seconds. The heat will help to remove any wrinkles that may be present.