GM Service Manual Online
For 1990-2009 cars only

Removal Procedure


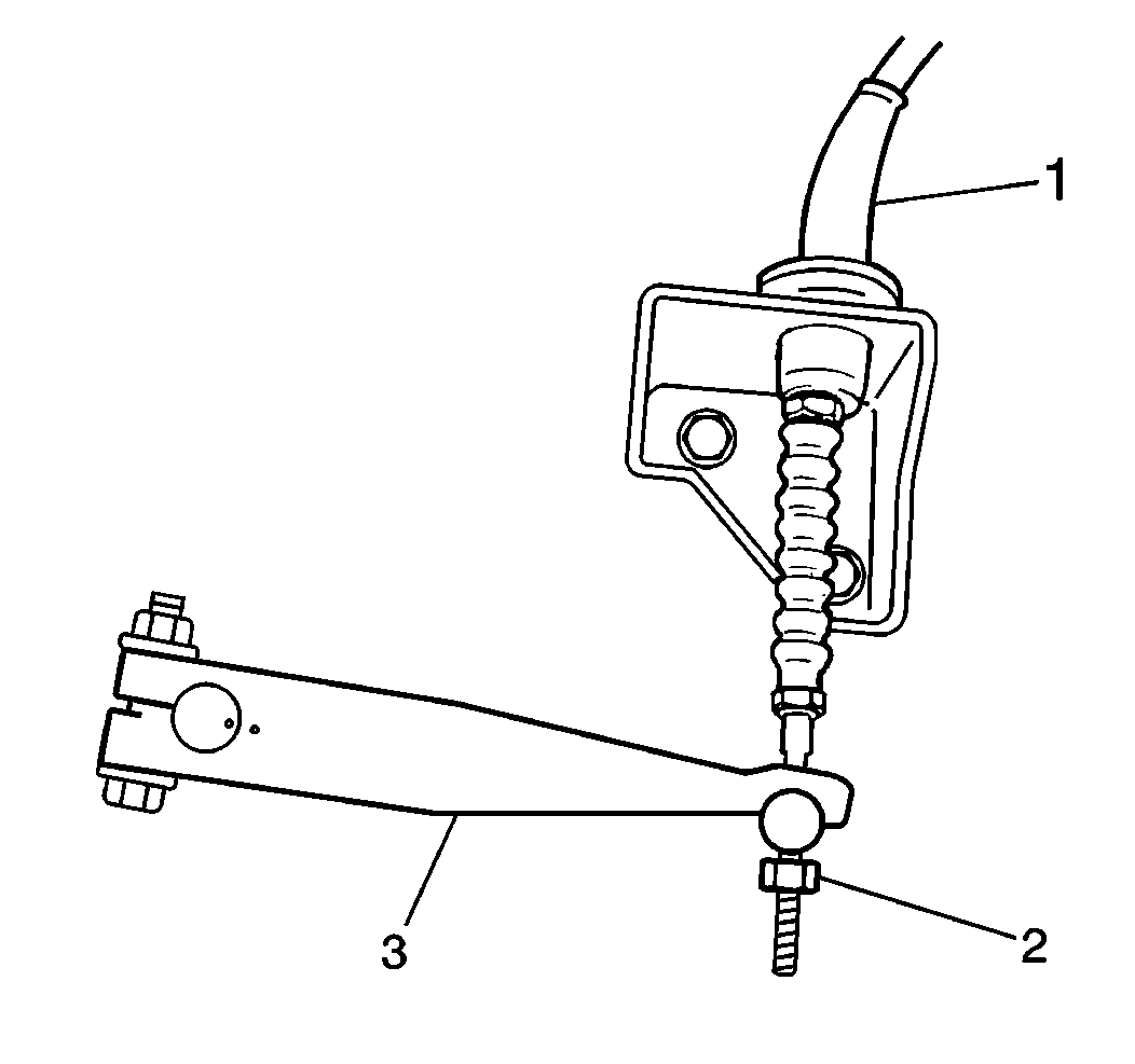
    Object Number: 184801  Size: SH
  1. Remove the clutch cable adjustment nut (2) from the cable end at the clutch release lever (3).
  2. Remove the clutch cable (1) from the clutch release lever (3).
  3. Remove the clutch cable bracket.

  4. Object Number: 184806  Size: SH
  5. Remove the 2 clutch cable grommet bolts (3) from the bulkhead (1).

  6. Object Number: 184817  Size: SH
  7. Remove the clutch cable clevis (1) from the clutch pedal lever.
  8. Remove the clutch cable (2) from the vehicle by pulling through the bulkhead from the engine compartment side.
  9. Inspect the clutch cable (2) for the following conditions:
  10. • Fraying ends
    • Kinks
    • Excessive wear
    • Damage

Installation Procedure


    Object Number: 184817  Size: SH
  1. Apply the lithium grease GM P/N 1051344 to the clutch cable clevis (1).
  2. Install the clutch cable (2) through the bulkhead from the engine compartment side.
  3. Install the clutch cable clevis (1) to the clutch pedal lever.

  4. Object Number: 184806  Size: SH

    Notice: Use the correct fastener in the correct location. Replacement fasteners must be the correct part number for that application. Fasteners requiring replacement or fasteners requiring the use of thread locking compound or sealant are identified in the service procedure. Do not use paints, lubricants, or corrosion inhibitors on fasteners or fastener joint surfaces unless specified. These coatings affect fastener torque and joint clamping force and may damage the fastener. Use the correct tightening sequence and specifications when installing fasteners in order to avoid damage to parts and systems.

  5. Install the 2 clutch cable grommet bolts (3) to the bulkhead (1).
  6. Tighten
    Tighten the clutch cable grommet bolts (2) to 6  N·m (53 lb in).


    Object Number: 184817  Size: SH
  7. Install the clutch cable (2) through the clutch cable bracket (3).
  8. Install the clutch cable through the clutch release lever (4). Secure the clutch cable with the clutch cable adjustment nut (5).
  9. Measure the free travel of the clutch release lever (4).
  10. Measurement
    The free travel specification for the clutch pedal is 15-20 mm (0.6-0.8 in).

  11. Adjust the free travel of the clutch pedal. Tighten or loosen the clutch cable adjustment nut (5) until the clutch pedal free travel is within specifications. Refer to Clutch Pedal Free Travel Adjustment .