GM Service Manual Online
For 1990-2009 cars only

Removal Procedure


    Object Number: 26759  Size: SH
  1. Disconnect the negative battery cable.
  2. Raise the vehicle.
  3. Remove the driver side rear wheel and housing liner.
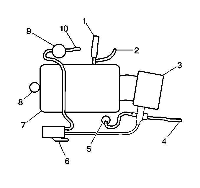
  4. Remove the hoses from canister. Mark the hoses to ensure correct installation on new canister.
  5. Important: Inspect the canister hoses for damage or deterioration. Refer toEmission Hose Routing Diagram for proper routing of canister hoses. When replacing the lines, use the correct replacement part.

  6. Remove the canister and latch assembly from the canister bracket.
  7. Release the latch securing the canister.
  8. Remove the canister.

Installation Procedure


    Object Number: 26759  Size: SH
  1. Install the canister and engage the latch assembly.
  2. Install the canister and latch assembly to the canister bracket.
  3. Install the hoses to canister. Make sure the connections are correct.
  4. Install the driver side housing liner and wheel assembly.
  5. Tighten
    Torque the wheel lug nuts to 140 N·m (104 lb ft).

  6. Lower the vehicle
  7. Reconnect the negative battery cable.