GM Service Manual Online
For 1990-2009 cars only

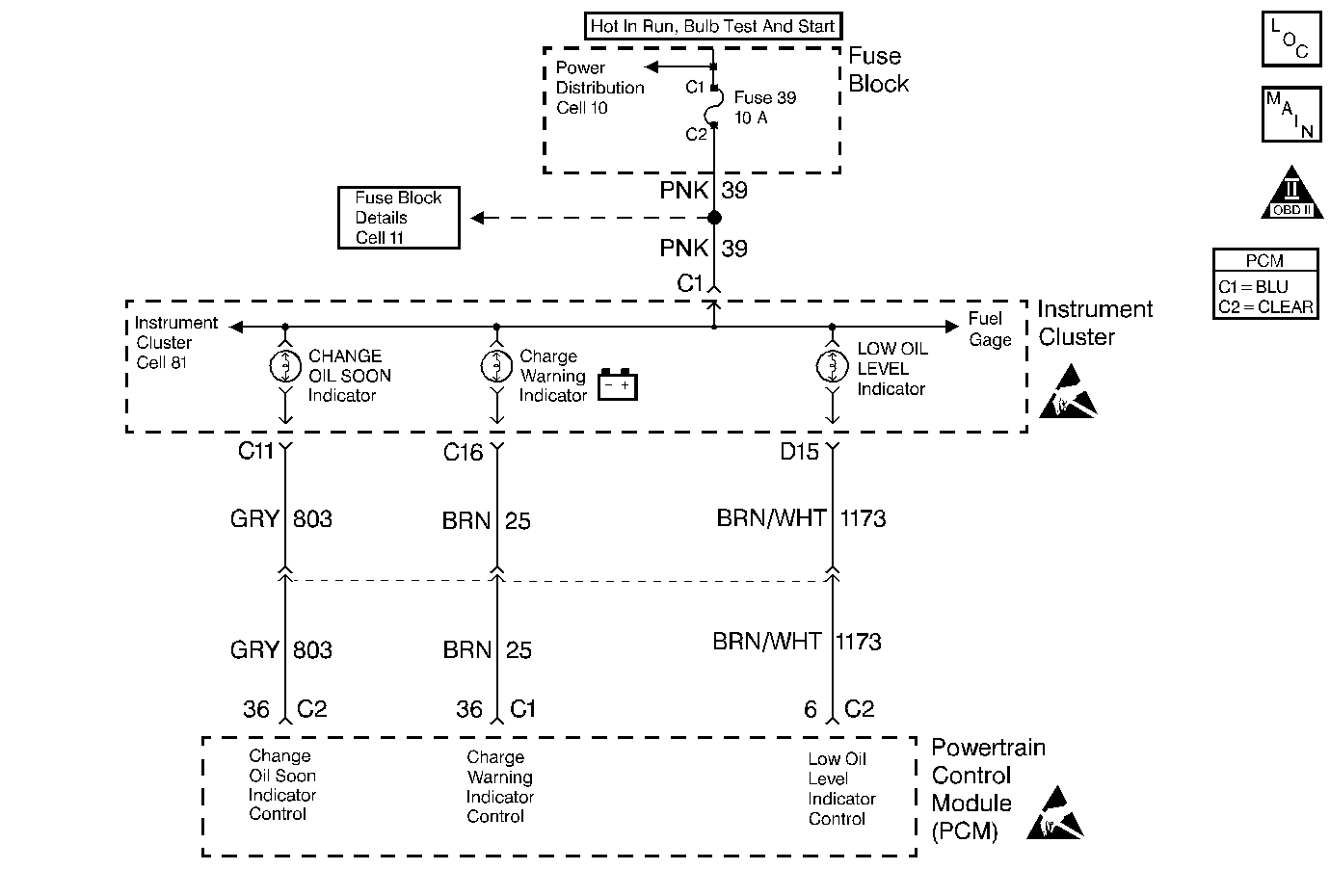
Object Number: 236239  Size: MF
Engine Controls Components
Indicator Lamps
OBD II Symbol Description Notice
Handling ESD Sensitive Parts Notice
Handling ESD Sensitive Parts Notice

Circuit Description

The PCM energizes the the bulb, LED, or driver information center indicator by supplying a path to ground through the PCM.

Diagnostic Aids

A PCM controlled lamp on at all times most likely indicates that a condition is present which requires the attention of the vehicle operator.

Check for the following conditions:

    •  Poor connection at PCM. Inspect harness connectors for backed out terminals, improper mating, broken locks, improperly formed or damaged terminals, and poor terminal to wire connection.
    •  Damaged harness. Inspect the wiring harness for damage. If the harness appears to be OK, disconnect the PCM and turn the ignition on. Observe a voltmeter connected to the affected PCM output circuit while moving connectors and wiring harnesses related to the PCM output circuit. A change in voltage will indicate the location of the fault.

Test Description

Number(s) below refer to the step number(s) on the Diagnostic Table:

  1. Normally, ignition feed voltage should be present on the output control circuit with the PCM disconnected and the ignition turned ON.

  2. Checks for a shorted component or a short to battery positive voltage on the output control circuit. Either condition would result in a measured current of over 1.5 amps. Also checks for a component that is going open while being operated, resulting in a measured current of 0 amps.

  3. Checks for a malfunctioning instrument cluster.

  4. This vehicle is equipped with a PCM which utilizes an Electrically Erasable Programmable Read Only Memory (EEPROM). When the PCM is being replaced, the new PCM must be programmed. Refer to Powertrain Control Module Replacement/Programming .

PCM Controlled Lamps

Step

Action

Value(s)

Yes

No

1

Was the Powertrain On Board Diagnostic (OBD) System Check performed?

--

Go to Step 2

Go to the Powertrain On Board Diagnostic (OBD) System Check

2

Was the Instrument Cluster System check in Electrical Diagnosis performed?

--

Go to Step 3

Go to Instrument Cluster System Check in Instrument Panel, Gauges and Console

3

  1. Turn OFF the ignition switch.
  2. Disconnect the PCM.
  3. Turn ON the ignition switch.
  4. Using a J 39200 Digital Multimeter, measure voltage between the affected PCM output circuit at the PCM harness connector and ground.

Is the voltage near the specified value?

B+

Go to Step 4

Go to Step 7

4

  1. Set the digital multimeter to the 10 amp scale and install the digital multimeter to measure current between the affected PCM output circuit and ground.
  2. Monitor the current reading on the digital multimeter for at least 2 minutes.

Does the current reading remain between the specified values?

0.05 Amp-1.5 Amps

Go to Step 12

Go to Step 5

5

  1. Disconnect the instrument panel cluster (leave the PCM disconnected).
  2. Measure voltage between the affected PCM output circuit and ground.

Is voltage at the specified value?

0.0V

Go to Step 15

Go to Step 6

6

Locate and repair the short to voltage in the affected PCM output circuit. Refer to Wiring Repairs in Wiring Systems.

Is the action complete?

--

Go to Step 17

--

7

Check the ignition feed fuse for the instrument panel cluster indicator lamps.

Is the the fuse blown?

--

Go to Step 8

Go to Step 9

8

  1. Locate and repair the short to ground in the ignition feed circuit for the instrument panel cluster indicator lamps. Refer to Wiring Repairs in Wiring Systems.
  2. Replace the fuse.

Is the action complete?

--

Go to Step 17

--

9

  1. Disconnect the instrument panel cluster.
  2. Turn ON the ignition switch.
  3. Measure voltage between the ignition feed circuit for the instrument panel cluster indicator lamps and ground.

Is voltage near the specified value?

B+

Go to Step 10

Go to Step 14

10

  1. Check the affected lamp control circuit for an open or a short to ground.
  2. If a problem is found repair as necessary. Refer to Wiring Repairs in Wiring Systems.

Was a problem found?

--

Go to Step 17

Go to Step 11

11

  1. Check the affected lamp control circuit and the ignition feed circuit for a poor connection at the instrument panel cluster or at the PCM.
  2. If a problem is found, replace the terminal(s). Refer to Connector Repairs in Wiring Systems.

Was a problem found?

--

Go to Step 17

Go to Step 15

12

  1. Turn OFF the ignition switch.
  2. Reconnect the PCM and disconnect the instrument panel cluster.
  3. Turn ON the ignition switch.
  4. Connect a test light between the affected PCM output circuit and the ignition feed circuit at the instrument panel cluster harness connector.
  5. Using the scan tool outputs test function, cycle the affected lamp ON and OFF.

Does the test light flash ON and OFF?

--

Go to Diagnostic Aids

Go to Step 13

13

  1. Check the affected lamp control circuit for a poor connection at the PCM.
  2. If a problem is found, replace the terminal. Refer to Connector Repairs in Wiring Systems.

Was a problem found?

--

Go to Step 17

Go to Step 16

14

Locate and repair open in the ignition feed circuit to the instrument panel cluster indicator lamps. Refer to Wiring Repairs in Wiring Systems..

Is the action complete?

--

Go to Step 17

--

15

Replace the instrument panel cluster. Refer to Instrument Cluster Replacement in Instrument Panel, Gauges, and Console.

Is the action complete?

--

Go to Step 17

--

16

Important: :  Replacement PCM must be programmed.

Replace the PCM. Refer to Powertrain Control Module Replacement/Programming .

Is the action complete?

--

Go to Step 17

--

17

Operate the affected lamp using the scan tool output tests function.

Does the affected lamp operate properly?

--

System OK

Go to Step 3